PHI VILLA E02GS010 32 Inch H Square Black Metal Base Propane Gas Fire Pit Table

Questions, problems, missing parts? Before returning to the store, please contact our Customer Service
[email protected]
THANK YOU
We appreciate the trust and confidence you have placed in PHI VILLA through the purchase of our product. We strive to continually create quality products designed to enhance your home. Visit us online to see our full line of products available for your home improvement needs. Thank you for choosing PHI VILLA!
INSTALLER: Leave this manual with the appliance.
CONSUMER: Retain this manual for future reference
WARNING:
For Outdoor Use Only.
Installation and service must be performed by a qualified installer, service agency, or the gas supplier
DANGER
FIRE OR EXPLOSION HAZARD
If you smell gas:
- Shut off gas to the appliance.
- Extinguish any open flame.
- If odor continues, leave the area immediately.
- After leaving the area, call your gas supplier or fire department.
Failure to follow these instructions could result in fire or explosion, which could cause property damage, personal injury, or death.
WARNING
Do not store or use gasoline, or other flammable vapors and liquids,in the vicinity of this or any other appliance.
An LP cylinder not connected for use shall not be stored in the vicinity of this or any other appliance.
DANGER
CARBON MONOXIDE HAZARD
This appliance can produce carbon monoxide which has no odor.
Using it in an enclosed space can kill you.
Never use this appliance in an enclosed space such as a camper, tent, car or home.
WARNING:
If the information in this manual is not followed exactly, a fire or explosion may result causing property damage, personal injury, or loss of life.
IMPORTANT SAFETY INFORMATION
- The installation must conform with local codes or, in the absence of local codes, with the National Fuel Gas Code, ANSI Z223.1
NFPA 54; National Fuel Gas Code; Natural Gas and Propane Installation Code, CSA B149.1; or Propane Storage and Handling Code,CSA B149.2, as applicable. - The appliance must be isolated from the gas supply piping system by closing its individual manual shutoff valve during any pressure testing of the gas supply piping system at test pressures equal to or less than 1/2 psi (3.5 kPa).
- The maximum inlet gas supply pressure is 250 psi.
- The appliance area must be kept clear and free from combustible materials, gasoline, and other flammable vapors and liquids.
- Do not use this appliance if any part has been underwater. Immediately call a qualified service technician to inspect the appliance and to replace any part of the control system and any gas control that has been underwater.
- Children and adults should be alerted to the hazards of high surface temperatures and should stay away to avoid burns or clothing ignition.
- Young children should be carefully supervised when they are in the area of the appliance.
- Clothing or other flammable materials should not be hung from the appliance or placed on or near the appliance.
- Any guard or other protective device removed for servicing the appliance shall be replaced prior to operating the appliance.
- Installation and repair should be done by a qualified service person. The appliance should be inspected before use and at least
annually by a qualified service person. More frequent cleaning may be required as necessary. It is imperative that the control
compartment, burners, and circulating air passageways of the appliance are kept clean. - CAUTION: The propane gas pressure regulator provided with this appliance must be used. This regulator is set for an outlet pressure of 11 inches water column.
- DO NOT burn solid fuels in this appliance.
- This outdoor gas appliance is for Outdoor Use ONLY.
- This outdoor gas appliance is not intended to be installed in or on recreational vehicles and/or boats.
- This outdoor appliance is not for use on wood decks or other flammable surfaces.
- Before each use of this gas appliance, open the door and/or the LP (Liquid Propane) Tank Drawer and inspect the hose. If there is evidence of excessive abrasion or wear or if the hose is damaged, the hose assembly must be replaced prior to the appliance being put into operation. Use only the replacement hose assembly specified in this manual. Make sure to leak test.
- Before each use of this gas appliance, inspect the burner. The burner must be replaced prior to the appliance being put into operation if it is evident that the burner is damaged. Use only the replacement burner specified in this manual.
- Make sure to properly locate the gas hose including locating the hose out of pathways where people may trip over it or in areas where the hose may be subject to accidental damage.
- Keep the fuel supply hose away from any heated surface.
- Never use this appliance closer than 10 feet from anything flammable, including houses or overhead tree branches.
- Never use gasoline, kerosene, or any other liquid fuel to start a fire.
- Always maintain a safe distance from the fire.
- Always supervise children around the fire.
- Never leave a fire unattended.
- The appliance is hot during and after use, always allow ample cooling time before touching or moving.
IMPORTANT SAFETY INFORMATION (About Propane Gas)
- The propane gas supply cylinder to be used must be constructed and marked in accordance with the U.S. Deparment of
Transportation (D.O.T.) Specifications for propane gas Cylinders, or the Standard for Cylinders, Spheres and Tubes for Transportation of Dangerous Goods and Commission, CAN/CSA-B339, as applicable. - The propane gas supply cylinder to be used must have a listed overfilling prevention device (See Figure 1).
- The propane gas supply cylinder to be used must have a cylinder connection device compatible with the connection for the appliance.
- A self-contained propane gas cylinder for use with this appliance must have a capacity of 20 Ibs cylinder (Height approximately 18
in., Tank Body approximately 12 in. diameter, Base approximately 8 in. diameter). - The cylinder supply system must be arranged for vapor withdrawl.
- The cylinder used must include a collar to protect the cylinder valve.
- This appliance shall be used only outdoors in a well-ventilated space and shall not be used in a building, garage or any other
enclosed space. - When this appliance is not in use, the gas must be turned off at the supply cylinder.
- Storage of this appliance indoors is permissible only if the cylinder is disconnected and removed from the appliance.
- Cylinders must be stored outdoors in a well-ventilated area out of the reach of children. Disconnected cylinders must have
threaded valve plugs tightly installed and must not be stored in a building, garage or anyother enclosed areas. - This appliance is certified by CSA (Canadian Standards Association) to ANS Z21.97 CSA 2.41-2017, Outdoor Decorative Gas Appliances.
WARNING: This product can expose you to chemicals including chromium (hexavalent compounds) AND BENZENE, which are known to the State of California to cause cancer and birth defects or other reproductive harm.
For more information go to:
www.P65warnings.ca.gov/furniture.

SPECIFICATIONS
| Rated Heat Input (Liquid Propane & Natural Gas) | 50,000 BTU/hr |
| Propane Regulator Pressure | 11 inches water column |
| Natural Gas Inlet Pressure | 7 inches water column |
| Clearance to combustible surfaces | Sides: 24in. (610mm), Top: 72in. (1829mm) |
PACKAGE CONTENTS

| PART | DESCRIPTION | QUANTITY |
| A | Lid | 1 pc |
| B | Table top assembly | 1 pc |
| C | Front panel | 1 pc |
| D | Door panel | 1 pc |
| E | Back panel | 1 pc |
| F | Right panel | 1 pc |
| G | Front-right leg | 1 pc |
| H | Front-left leg | 1 pc |
| I | Back-left leg | 1 pc |
| J | Back-right leg | 1 pc |
| K | Gas cylinder support | 1 pc |
| PART | DESCRIPTION | QUANTITY |
| L | Lava rock (6.6 lbs / pack) | 2 pack |
| M | Weather cover | 1 pc |
| N | Door handle | 1 pc |
| Q | Natural gas orifice | 1 pc |
| AA | Bolt (M6 x 12) | 16 pcs |
| BB | Bolt (M6 x 15) | 4 pcs |
| CC | Washer (M6) | 20 pcs |
| DD | Hex screw driver | 1 pc |
| EE | Bolt (M4 x 10) | 1 pc |
ASSEMBLY INSTRUCTIONS
- Carefully unpack all parts from the box, compare parts with package content listed above, make sure all parts are present before beginning assembly of product. If any part is missing or damaged, do not attempt to assemble the product. Contact customer service for replacement parts.
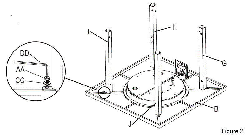
- Attach back-left leg (I) and back-right leg (J) and front-left leg (H) and front-right leg (G) to table top assembly (B) with bolts (AA) and washer (CC) by using hex screw driver (DD), (see Figure 2).
NOTE: DO NOT tighten the screws completely.Hardware Used
AA Bolts (M6 x 15) x 4
CC Washer (M6) x 4
DD Hex screw driver x 1
- Attach front panel (C) to front-left leg (H) and front-right leg (G) with bolts (AA) and washer (CC) using hex screw driver (DD), (see Figure 3).
NOTE: DO NOT tighten the screws completely.
Hardware Used
AA Bolts (M6 x 15) x 4
CC Washer (M6) x 4
DD Hex screw driver x 1
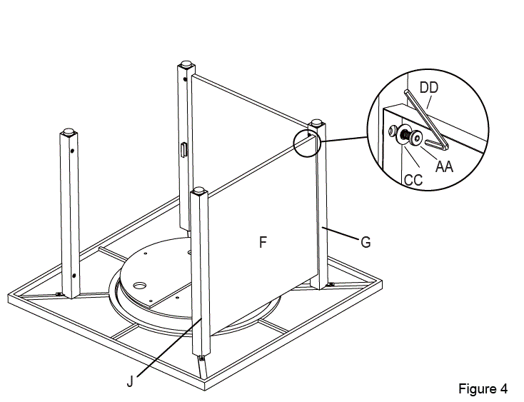
- Attach right panel (F) to front-right leg (G) and back-right leg (J) with bolts (AA) and washer (CC) using hex screw driver (DD), (see Figure 4).
NOTE: DO NOT tighten the screws completely.
Hardware Used
AA Bolts (M6 x 15) x 4
CC Washer (M6) x 4
DD Hex screw driver x 1
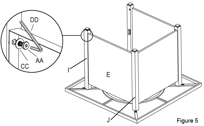
- Attach back panel (E) to back-left leg (I) and back-right leg (J) with bolts (AA) and washer (CC) using hex screw driver (DD), (see Figure 5).
NOTE: DO NOT tighten the screws completely.
Hardware Used
AA Bolts (M6 x 15) x 4
CC Washer (M6) x 4
DD Hex screw driver x 1
- Attach gas cylinder support (K) to back-left leg (I) and back-right leg (J) and front-left leg (H) and front-right leg (G) with bolts (BB) and washer (CC) using hex screw driver (DD), (see Figure 6).
NOTE: Tighten all screws completely.
Hardware Used
BB Bolts (M6 x 25) x 4
CC Washer (M6) x 4
DD Hex screw driver x 1
- With the help of another person, carefully turn the fire pit to the upright position. Attach the door panel (D) to the back-left leg (I) by aligning the hinge on the door panel with those on the back-left leg (I) and inserting the pins in the hinges, (see Figure 7).

- Attach the door handle (N) to the door panel (D) with the bolt (EE) using a Phillips screwdriver (NOT included), (see Figure 8).
Hardware Used
EE Bolts (M4 x 10) x 1
- Open the box of lava rocks, put the lava rocks (L) into the fire bowl of the fire table, (see Figure 9). A gas fire pit requires 13.2 lbs lava rocks.
WARNING
Keep children away during assembly, as this item contains lava rock, which are small pieces and can be swallowed by children.
NOTE: Leave the pilot box uncovered by the lava rock.
CAUTION: Please be advised that this fire pit is equipped with natural lava rock that may crackle or pop the first time it is used. The lava rock has been pre-heat treated to release any natural inherent moisture. However, in rare cases on first-time use, the lava rock may pop or burst causing small pieces of hot rock to potentially be a projectile. These hot pieces could cause injury or property damage. As a precaution, please follow these instructions the first time the fire pit is used:- On first use, do not stand over or near the fire pit once lit.
- Light the fire pit and let it run on high for 20 minutes.
- Once lit, do not go within 12 feet of the fire pit for at least the first 20 minutes on the first use to ensure any residual moisture trapped in the rocks gets released.
- After the first heating cycle there is little further concern. It is rare that any crackling will happen on the first use, this is simply a precaution.
- Keep lava rock covered and dry while not in use to prevent additional moisture from getting in the rocks.
- If lava rocks are exposed to moisture after first use, run the burner on low to gradually warm and dry the rocks before repeating steps 1 through 3.

- Open the door panel (D). Place the gas cylinder into the gas cylinder support (K) and connect the regulator by turning the black handle clockwise to tighten. To remove the regulator, turn the black handle counter-clockwise. Secure the gas cylinder by tightening clockwise the retention point found on gas cylinder support (K), (see Figure 10), so that the gas cylinder cannot move from side to side or fall down. The knob on the control panel is turned all the way to the “OFF” position when the fire pit in NOT in use.

- Once the firepit has cooled completely after use, carefully place the lid (A) onto the fire bowl and use the weather cover (M) to protect your fire pit from the elements, (see Figure 11).
WARNING
Allow 30 minutes after use for fire pit to cool down before placing the lid to prevent scalding.

NATURAL GAS CONVERSION
NATURAL GAS CONVERSION STOP
Natural gas conversion must be performed only by natural gas provider or a service company.
- Disconnect the propane hose from the gas valve (see Figure 12).
Caution: The propane tank shall be shut off prior to disconnecting the propane hose, before proceeding with the conversion.
- Unscrew and disconnect the propane orifice from the bellows (see Figure 13). Propane orifice (2.21 mm diameter size) is painted with red mark.

- Replace the propane orifice withs the natural gas orifice and screw the natural gas orifice to the bellows tightly. Then connect and tighten the natural gas orifice to the inlet tube (see Figure 14). The Natural gas orifice (4.18 mm diameter size ) is painted with a black mark.

- Connect the natural gas hose to the gas valve by screwing clockwise tightly (see Figure 15). Plug the natural gas fixture into the natural gas supply system (see Figure 16). The conversion kit should be CSA certified. Below are several suggested CSA-certifie conversion kits for your reference.
- Part# DH22 / QH1, manufacturer: KSUN or
- Part# WH02 / KJ50A2, manufacturer: Laite or
- Part# KJ-3/8G-3/8 / KJ-3/8G, manufacturer: Wanan
The natural gas orifice is included in the package. Please follow the instructions for gas conversion.
- Stick and cover the conversion label onto the propane rating plate (see Figure 17).
WARNING:
This conversion kit shall be installed by a qualified service agency in accordance with the manufacturer’s intructions and all applicable codes and requirements of the Authority Having Jurisdiction. If the information in these instructions is not followed exactly, a fire, explosion or production of carbon monoxide may result causing property damage, personal injury or loss of life.
The qualified service agency is responsible for the proper installation of this kit. The installation is not proper and complete until the operation of the converted appliance is checked as specified in the manufacturer’s instructions supplied with the kit.

OPERATION INSTRUCTIONS
Battery
Make sure the control knob is in the “OFF” position. Unscrew the push button cap on the ignitor module located on the control panel to access the battery compartment. The ignitor module requires one AAA size battery, (see Figure 18). BATTERY IS NOT INCLUDED.
WARNING:
- Please observe proper polarity and use the correct battery type when installing or replacing the battery. Improper installation could result in ignition failure.
- Please remove the battery if consumed or if product is to be left unused for a long period of time.

Leak test
To prevent fire or explosion hazard when testing for a leak:
- Always perform the leak test as described below before lighting this appliance or each time the cylinder is connected for use.
- Do not smoke or allow other sources of ignition in the area while conducting a leak test.
- Conduct the leak test outdoors in a well-ventilated area.
- Do not use matches, lighters or a flame to check for leaks.
- Do not use this appliance until any and all leaks are corrected. If you are unable to stop a leak, disconnect the propane supply and call a gas appliance service shop or your local propane gas supplier.


To perform a leak test:
- Make 2~3 oz. of leak solution by mixing one part liquid dishwasher detergent and three parts water. Noted: make sure control knob is “OFF”.
- Apply several drops of solution where the cylinder attaches to regulator, (see Figure 19), inspect the solution at the connection looking for bubbles. If NO bubbles appear, the connection is secure. If bubbles appear, the connection has the leak, disconnect the regulator, reconnect, perform another leak check. If you continue to see bubbles after several attempts, cylinder valve is defective and should be returned to cylinder’s supplier.
- Apply several drops of solution where natural gas xture attaches to natural gas supply system connection (see Figure 20), If NO bubbles appear, the connections are secure. If bubbles appear, the connection has the leak, disconnect, reconnect, perform another leak check. If you continue to see bubbles after several attempts, the conversion hose is defective and should replace with a new one.
- Apply several drops of solution where gas valve attaches to bellows, (see Figure 21), where gas valve attaches to regulator hose, (see Figure 22), and where inlet tube attaches to bellows, (see Figure 23). If NO bubbles appear, the connections are secure. If bubbles appear, the connection has the leak, disconnect, reconnect, perform another leak check. If you continue to see bubbles after several attempts, both parts are defective and should replace with the new ones.
Lighting Instructions
- Push in gas control knob slightly and turn to “OFF”.
- Turn gas control knob to “ON/MIN”.
- Push in gas control knob all the way and hold. Continue to press the ignition button for 15 seconds.
- If the burner does not light in 15 seconds, release the knob and it will pop back out. Wait 5 minutes before attempting to light the burner again and repeat step 1 to 3.
To turn off gas
- Push in gas control knob slightly and turn to “OFF”.
WARNING:
For your safety, read and follow the Lighting Instructions in this manual and in the Rating Plate on the appliance. IMPROPER LIGHTING PROCEDURES COULD RESULT IN A FIRE HAZARD OR EXPLOSION HAZARD OR PROPERTY DAMAGE, INJURY OR LOSS OF LIFE.

Observe Flame Height When Lit: The burner will display blue and yellow flames. These flames should be a blue / yellow color between 1~2 in. height, (see Figure 25). These flames should not be yellow or produce thick smoke. This would indicate an obstruction of airflow through the burners. The flames should be blue with straight yellow tops.

CARE AND MAINTENANCE
To enjoy the outstanding performance from your fire pit, make sure you perform the following activities on a regular basis:
- Use warm soapy water for cleaning. Never use flammable or corrosive cleaning agents.
- Remove dirt, spills or stains on the product quickly.
- Dry the product with a soft cloth or paper towel.
- Do not use sharp tools to scratch the product.
- While cleaning the fire pit, make sure to keep the area around the burner dry at all times. DO NOT submerge the control valve assembly. If the gas control is submerge in water, DO NOT use it. It must be replaced.
- Air flow must be unobstructed. Keep controls, burner, and circulating air passageways clean. Signs of possible blockage include:
- Gas odor with extreme yellow tipping of flame.
- Fire pit does NOT reach the desired temperature.
- Fire pit flame is excessively uneven.
- Fire pit makes popping noises.
- Spiders and insects can nest in burner or orifice. This dangerous condition can damage fire pit and render it unsafe for use.
Clean burner holes by using a heavy-duty pipe clearer. Compressed air may help clear away small particles.
- Carbon deposits may create a fire hazard. Clean burner with warm soapy water if any carbon deposits develop.
- Cover your fire pit with an outdoor weather cover when not in use to protect it from the elements.
NOTE: Always allow fire pit to cool COMPLETELY before you cover the fire pit with an outdoor weather cover or you attempt the service or maintenance.
Always dry the product completely before it is covered or stored into the garage.
WARRANTY
Firepits
Burner, steel fire pit bowl, all mechanical parts and fittings to control panel and burner assembly, and all fire pit tops that are not cast aluminum are warranted for a period of one (1) year from original date of purchase, against defects in material and or workmanship.
Rust is not covered.
Frames
Frames are warranted to be free from defects in materials and workmanship for a period of one (1) year. Damage to frames or welds due to improper assembly or exposure to water and sub-freezing temperatures, is not covered. Breakage that is a result of product being dropped, acts of God, acts of war, etc. are not covered.
Finish
The finish is warranted against peeling, cracking, or blistering for a period of one (1) year provided the product has not been scratched or abraded. Scratches and chips resulting from normal wear and tear are not covered. Fading resulting from exposure to elements is not covered. Stains as a result of chemical spills and certain food items are not covered.
Table Tops
All table tops are warranted for a period of one (1) year from original date of purchase, against defects in material and or workmanship.
Breakage, discoloration, staining, and or any other weather related issues are not covered.
Warranty Exclusions
Failure caused by unreasonable or abusive use. Firepits that were clearance items, display models or items purchased in an “as is” condition, freight damage, firepit damaged by acts of nature, vandalism, fire, abuse, lack of proper care and maintenance, or improper assembly; straps and normal fading or discoloration from exposure to elements, oils, spills, fiuids or chemicals; Table top against breakage; hardware against corrosion or rusting; buckling or splitting of tubing resulting from exposure to water and freezing temperatures; glass table tops, purchased or replacement parts; plastics. Also excluded: loss of use of time and or inconvenience, money, travel, packaging or any other consequential or incidental damages. In no event shall our side responsibility exceed the value of the replacement product. Warranty is to the original purchaser when items are purchased from one of our authorized retailers and is not transferable. All warranty claims must be submitted with a dated register receipt within the warranty period. For quality control purposes and verification, we reserve the right to request photographs of the damage item(s). The terms of this warranty are subject to change without notice.
If instructions or parts are missing, please email us at [email protected].
Questions, problems, missing parts? Before returning to the store
please contact our Customer Service
[email protected]
1-877-606-2818
































