Life Gets Better With
TerraFab Material Square Propane Grey Tabletop Fire Pit
USE AND CARE GUIDE
E02GS033
E02GS033 TerraFab Material Square Propane Grey Tabletop Fire Pit
MODEL#: F190146-A1![]()
ANS Z21.97 CSA 2.41-2017
Outdoor Decorative Gas Appliances
Questions, problems, missing parts? Before returning to the store, please contact our Customer Service [email protected]
THANK YOU
We appreciate the trust and confidence you have placed in PHI VILLA through the purchase of our product. We strive to continually create quality products designed to enhance your home. Visit us online to see our full line of products available for your home improvement needs.
Thank you for choosing PHI VILLA!
Maximum inlet supply pressure: 13-inch w.c. (3.24 kPa)
Minimum inlet supply pressure: 8-inch w.c. (1.99 kPa)
INSTALLER: Leave this manual with the appliance.
CONSUMER: Retain this manual for future reference
WARNING:
For Outdoor Use Only.
Installation and service must be performed by a qualified installer, service agency, or gas supplier.
DANGER
FIRE OR EXPLOSION HAZARD
If you smell gas:
- Shut off the gas to the appliance.
- Extinguish any open flame.
- If the odor continues, leave the area immediately.
- After leaving the area, call your gas supplier or department.
Failure to follow these instructions could result in fire or explosion, which could cause property damage, personal injury, or death.
WARNING
Do not store or use gasoline, or other flammable vapors and liquids, in the vicinity of this or any other appliance.
An LP-cylinder not connected for use shall not be stored in the vicinity of this or any other appliance.
| CARBON MONOXIDE HAZARD This appliance can produce carbon monoxide which has no odor. Using it in an enclosed space can kill you. Never use this appliance in an enclosed space such as a camper, tent, car, or home. | |
WARNING:
If the information in this manual is not followed exactly, a fire or explosion may result causing property damage, personal injury, or loss of life.
IMPORTANT SAFETY INFORMATION
- This appliance is for outdoor use only, and should NOT be used in a building, garage, or any other enclosed area.
- DO NOT operate, light, or use this appliance within ten feet (3.05 m) of walls, structures, or buildings.
- For residential use only. This outdoor firepit is NOT for commercial use.
- DO NOT use this outdoor firepit for indoor heating. TOXIC carbon monoxide fumes can accumulate and cause asphyxiation.
- This outdoor firepit is safety certified for use in the United States and/or Canada only. Do NOT modify for use in any other location. The modification will result in a safety hazard and will void your warranty.
- Children and adults should be alerted to the hazards of high surface temperatures and should stay away to avoid burns or clothing ignition.
- Young children should be carefully supervised when they are in the area of the appliance.
- Clothing or other ammable materials should not be hung from the appliance or placed on or near the appliance.
- Any guard or other protective device removed for servicing the appliance shall be replaced prior to operating the appliance.
- Installation and repair should be done by a qualified service person. The appliance should be inspected before use and at least annually by a qualified service person. More frequent cleaning may be required as necessary. It is imperative that the control compartment, burners, and circulating air passageways of the appliance are kept clean.
- CAUTION: The propane gas pressure regulator provided with this appliance must be used. This regulator is set for an outlet pressure of 11 inches water column.
- Apartment dwellers: Check with management to learn the requirements and fire codes for using a propane gas outdoor firepit in your apartment complex. If allowed, use outside on the ground floor with a ten-foot (3.05 m) clearance from any structure. DO NOT use on or under balconies.
- This outdoor firepit, from the factory, is for use with propane only. The conversion to or attempted use of natural gas in this outdoor firepit is dangerous, may cause bodily harm, and will void your warranty.
- Propane characteristics: a. Propane is ammable and hazardous if handled improperly. Become aware of the characteristics before using any propane product. b. Propane is explosive under pressure, heavier than air, and settles/pools in low areas. c. Propane in its natural state has no odor. For your safety, an odorant is added that smells like rotten cabbage. d. Contact with propane can cause freeze burns to the skin.
- A propane cylinder is needed to operate. Only cylinders marked “propane” may be used.
a. The propane cylinder must be constructed and marked in accordance with the U.S. Department of Transportation (D.O.T.) Specifications for Propane Cylinders, or the Standard for Cylinders, Spheres, and Tubes for the Transportation of Dangerous Goods and Commission, CAN/CSA-B339 as applicable.
b. A propane cylinder must be arranged for vapor withdrawal.
c. Never use a propane cylinder with a damaged body, valve, collar, or footing.
d. Dented or rusted propane cylinders may be hazardous and should be checked by your propane supplier prior to use.
e. The propane cylinder should not be dropped or handled roughly.
f. Cylinders must be stored outdoors, out of the reach of children, and must not be stored in a building, garage, or any other enclosed area. Your propane cylinder must never be stored where temperatures can reach over 125°F.
g. Do NOT insert any tool or foreign object into the valve outlet or safety relief valve. You may damage the valve and cause a leak. Leaking propane may result in an explosion, fire, severe personal injury, or death.
h. Never keep a propane cylinder in a hot car or trunk. Heat will cause the gas pressure to increase, which may open the relief valve and allow gas to escape.
i. Do NOT store a spare propane cylinder under or near this appliance.
j. A fire causing serious injury or damage to property may occur if the above is not followed exactly. - Your outdoor report has been checked at all factory connections for leaks. Recheck all connections as described in the “Operating Instructions” section, as shipping can loosen connections.
- Check for leaks even if your unit was assembled for you by someone else.
- DO NOT operate if a gas leak is present. Gas leaks may cause a fire or explosion.
- You must follow all instructions in the “Checking for Leaks” section before operating. To prevent a fire or explosion when testing for a leak:
a. Always perform a leak test before lighting this outdoor repeat and each time the cylinder is connected for use.
b. No smoking. DO NOT use or permit sources of ignition in the area while conducting a leak test.
c. Conduct the leak test outdoors in a well-ventilated area.
d. DO NOT use matches, lighters, or a name to check for leaks.
e. The use of alcohol, prescription, or non-prescription drugs may impair the consumer’s ability to properly assemble or
safely operate the appliance.
f. Strong odors, colds, sinus congestion, etc. may prevent the detection of propane. Use caution and common sense when
testing for leaks.
g. DO NOT use this outdoor firepit until any and all leaks are corrected. If you are unable to stop a leak, disconnect the propane
gas supply. Call a gas appliance serviceman or your local propane gas supplier. - DO NOT store or use gasoline or other flammable liquids or vapors within 25 feet (7.62 m) of this appliance.
- DO NOT use in an explosive atmosphere. Keep the outdoor firepit area clear and free from combustible materials, gasoline, and other flammable vapors and liquids.
- This outdoor firepit is NOT to be operated by children.
- This outdoor firepit is NOT to be used in or on boats or recreational vehicles.
- DO NOT connect to a remote gas supply.
- Never attempt to attach this outdoor firepit to the self-contained propane gas system of a camper trailer, motor home, or house.
- Always use in accordance with all applicable local, state, and national codes. Contact your local fire department for details on outdoor burning. When using this outdoor firepit, exercise the same precautions you would with any open fire.
- DO NOT use this outdoor firepit without reading the entire Owner’s Manual.
- DO NOT burn solid fuels such as wood, charcoal briquettes, lump charcoal, manufactured logs, driftwood, trash, leaves,
paper, cardboard, plywood, or painted/stained/pressure-treated wood in this outdoor firepit. - It is essential to keep the outdoor respite s valve compartment, burners, and circulating air passages clean. Inspect the outdoor firepit before each use.
- DO NOT use this outdoor repeat until it is COMPLETELY assembled and all parts are securely fastened and tightened.
- DO NOT use this outdoor firepit near automobiles, trucks, vans, or recreational vehicles.
- DO NOT use this outdoor firepit under any overhang or near any unprotected combustible constructions. Avoid using near or under overhanging trees and shrubs.
- DO NOT use this outdoor firepit for cooking.
- DO NOT use this appliance if any part has been underwater. Immediately call a qualified service technician to inspect the appliance and to replace any part or control system and any gas control which has been under water.
- DO NOT wear ammable or loose clothing when operating this outdoor firepit.
- DO NOT use in windy conditions.
- Never lean over this outdoor firepeat when lighting or when in use.
- DO NOT use this outdoor firepeat unless the burner is securely in place.
- Keep all electrical cords away from this outdoor repeat during use.
- Certain areas of this outdoor firepit when in use will become too hot to touch. To avoid burns, DO NOT touch hot surfaces until the unit has completely cooled unless you are wearing protective gear (such as insulated pot holders or heat-resistant gloves/mittens).
- DO NOT leave a lit outdoor firepit unattended, especially around children and pets.
- DO NOT hang or place clothing or other flammable material on or near this appliance.
- If applicable, the protective cover must be removed when the burner is in operation.
- DO NOT attempt to move the outdoor firepit when in use. Allow the outdoor firepit to cool before moving or storing it.
- This outdoor firepit should be thoroughly cleaned and inspected on a regular basis. Inspect the burner before each use of the appliance. If there is evidence of burner damage, the burner must be replaced prior to the appliance being operated. Use only the burner specified by PHI VILLA.
- This outdoor firepit should be inspected at least annually by a qualified service person. Depending on the amount of use, more frequent cleaning may be required. DO NOT operate until all parts have been repaired or replaced.
- Use only the regulator assembly provided. Use only the replacement regulator assembly specified by Use only the burner provided. Use only the replacement bumper specified by PHI VILLA.
- Use only PHI VILLA factory-authorized parts. The use of any part that is not factory-authorized can be dangerous and will void your warranty.
- DO NOT operate this appliance without reading “Operating Instructions” in this manual.
- Storage of this outdoor firepit indoors is permissible only if the cylinder is disconnected, removed from the outdoor firepit, and properly stored outdoors.
- DO NOT attempt to disconnect the gas regulator from the cylinder or any gas fitting while the outdoor firepit is in use.
- The propane gas supply cylinder must be disconnected when this appliance is not in use.
- The pressure regulator is set for 11 inches of the water column.
- The maximum inlet gas pressure for this outdoor firepit is 11 inches from the water column.
- Before pressure testing, close the propane gas cylinder valve and disconnect the gas regulator. The gas supply piping system must test at pressures equal to or less than 1/2 psi (3.5 kPa).
- DO NOT sit or stand on the mantle or any part of this appliance.
- DO NOT throw anything onto the fire when the unit is in operation.
- Fire logs, glass, and lava rock are very hot. Keep children or pets at a safe distance from this appliance.
- The opening of the cylinder collar should face toward the door side for easy access.
- DO NOT store any combustible materials in the base enclosure.
- Use protective gloves when assembling this product.
- DO NOT force parts together as this can result in personal injury or damage to the product.
- Death, serious injury, or damage to property may occur if the above is not followed exactly.
PACKAGE CONTENTS

| PART | DESCRIPTION | QUANTITY |
| A | Fire pit body | 1 |
| B | Fixture fastener | 1 |
| C | Glass beads (2.64 lbs) | 1 bag |
ASSEMBLY INSTRUCTIONS
- Carefully unpack all parts from the box, compare parts with package content listed above, and make sure all parts are present before beginning assembly of the product. If any part is missing or damaged, do not attempt to assemble the product. Contact customer service for replacement parts.
- Check that the control knob is turned to the “OFF” position before starting any assembly (See Figure 1).

- Installing propane gas Cylinder This firepit is designed to operate with a 1 lb. / 16.4 oz. propane gas cylinder (DOT 39 Cylinder) (See Figure 2).
DO NOT ATTEMPT TO REFILL ANY 1 lb. (16.4 oz.) PROPANE GAS CYLINDERS!
- Remove the fixture fastener (B) from the report. Attach the firepit by aligning the post through the umbrella hole, then tighten the fixture fastener (B) clockwise (See Figure 3).

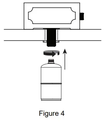
- Connecting propane cylinder (See Figure 4) Only cylinders marked “propane” may be used.
NOTE:
Some 1 lb cylinders may form frost when near empty.
( 1 ). Before connecting, be sure there is no debris caught in the head of the burner or burner ports.
( 2 ). Make sure the control knob is in the “ OFF” position.
( 3 ). Lubricate the threads of the regulator with petroleum jelly. Line up threads on the propane cylinder with the regulator.
( 5 ). Insert the propane cylinder.
( 6 ). Rotate the propane cylinder clockwise until they fit snugly together. HAND TIGHTENS ONLY. Be careful not to cross thread when screwing in the cylinder.
( 7 ). Perform leak test per the “Checking for Leaks” section.
- Disconnecting propane cylinder (See Figure 5)
( 1 ). Turn the control knob to the “ OFF” position.
( 2 ). Rotate the propane cylinder counterclockwise until it is loose.
( 3 ). Remove the propane cylinder.
( 4 ). Store the propane cylinder in a proper location.
( 5 ). Place the protective cap cover on the propane cylinder and store the cylinder outdoors in a well-ventilated area out of direct sunlight.
- Place the glass beads (B) into the fire pit body (A). Approx 2.64 lbs of glass beads are needed (See Figure 6).
NOTE: Leave the pilot box uncovered by glass beads.
WARNING
Keep children away during assembly, as this item contains glass beads, which are small pieces and can be swallowed by children.
OPERATING INSTRUCTIONS
Checking for leaks
WARNING
Before using this outdoor firepit, make sure you have read, understand, and are following all information provided in the “Safety Information” section beginning on pages 2 and 3. Failure to follow those instructions can cause death, serious injury, or property damage.
Burner connections
- Make sure the valve connections are securely fastened to the burner and the cylinder.
- Visually check the connection between the burner/venturi tube and orifice.
- Make sure the burner/venturi tube fits over the orifice.
- Please refer to the diagram for proper installation (See Figure 7).
- If the burner/venturi tube does not rest fiush to the orifice as shown, please contact us for assistance.

WARNING
Before using this outdoor firepit, make sure you have read, understand, and are following all information provided in the “Safety Information” section beginning on pages 2 and 3. Failure to follow those instructions can cause death, serious injury, or property damage.
Cylinder/Gas line connection
- Make 2-3 oz. of leak detection solution by mixing one part liquid dishwashing soap with three parts water.
- Make sure the regulator/control knob is in the “OFF” position as shown (See Figure 8).
- Apply the leak detection check solution on the “X” location as shown (See Figure 7).
a. If any bubbles appear, remove the propane cylinder and reconnect, making sure the connection is secure.
b. If you continue to see bubbles after several attempts, remove the propane cylinder per the “Disconnect Propane Cylinder” section and contact us for assistance.
c. If no bubbles appear after one minute, turn the regulator/control knob to the “ OFF” position, wipe away the solution and proceed.
Lighting
CAUTION
DO NOT obstruct the flow of combustion and ventilation air.
WARNING
NEVER light the burner with a cover on the outdoor firepit.
CAUTION
Keep outdoor gas appliance areas clear and free from combustible materials, gasoline, and other flammable vapors and liquids.
CAUTION
Check and clean burner/venturi tubes for insects and insect nests. A clogged tube can lead to a fire.
- Make sure all packaging has been removed from the outdoor firepit.
- Check for obstructions of airflow to the burner Spiders, insects, and webs can clog the burner/venturi tube. A clogged burner tube can lead to a fire.
- The control knob must be in the “OFF” position.
- The clear small area of glass beads away from the igniter cover.
- Connect the propane cylinder per the “Connecting Propane Cylinder” section.
- Push and turn the control panel counterclockwise to the “High” position (See Figure 8).
- Use a match or a lighter to light the fire bowl (See Figure 8). Continue to press the control knob for 15 seconds before it is released.
- Adjust the flame to the desired height with the control knob.
- After lighting, observe the burner flame Make sure all burner ports are lit and the frame height matches the illustration (See Figures 9-11).
NOTE: A “poof” sound is normal as the last of the propane gas is burned.
CAUTION
- Certain areas of this outdoor fire column when in use will become too hot to touch. To avoid burns, do not touch hot surfaces until the fire column has completely cooled down.
- If ignition does not occur in 5 seconds, turn control knob to “OFF” wait 5 minutes, fan with a newspaper or magazine, and repeat the lighting procedure.
Turning off
- Turn and push the control knob clockwise to the “OFF” position.
- Disconnect the propane cylinder per the “Disconnecting propane cylinder” section.
CAUTION
Disconnect the propane cylinder when this appliance is not in use.
CARE AND MAINTENANCE
CAUTION
- All cleaning and maintenance should be done when the outdoor firepit is cool and with the fuel supply disconnected.
- DO NOT clean any outdoor firepit part in a self-cleaning oven. The extreme heat will damage the finish.
- DO NOT enlarge valve orifices or burner ports when cleaning the valves or burners.
NOTE: 1. This outdoor firepit should be thoroughly cleaned and inspected on a regular basis.
- Abrasive cleaners will damage this product.
- NEVER use oven cleaner to clean any part of this outdoor firepit.
Before Each Use:
- Keep the outdoor firepit area clear and free from any combustible materials, gasoline, and other flammable vapors and liquids.
- DO NOT obstruct the flow of the combustion of propane and the ventilation of air.
- Keep the ventilation opening(s) of the propane cylinder area free and clear from debris.
- Visually check the burner flames to make sure your outdoor firepit is working properly (See Figure 11).
- See below for proper cleaning instructions.
- Check all gas connections for leaks.
- Check components for any signs of damage or rust.
- Check for obstructions of airflow to the burner Spiders, insects, and webs can clog the burner/venturi tube A clogged burner/venturi tube can lead to a fire.
- If damage to any component is detected, DO NOT operate until repairs are completed.
Cleaning Surfaces
- Wipe surfaces clean with mild dishwashing detergent or baking soda mixed with water.
- For stubborn stains, use a citrus-based cleaner and a nylon scrubbing brush.
- Rinse clean with water.
- Allow to air dry.
Before Storing
- Turn the control knob to the “OFF” position.
- Disconnect the propane cylinder per the “Disconnecting Propane Cylinder” section.
- Clean all surfaces.
- Lightly coat the burner with cooking oil to prevent excess rusting.
- If storing the outdoor firepit indoors, cover the outdoor firepit and store it in a cool dry location away from children and pets.
- If storing the outdoor firepit outdoors, cover the outdoor firepit with a cover for protection from the weather.
CAUTION
NEVER place a cover on the hot outdoor firepit.
WARRANTY
Firepits
Burner, steel fire pit bowl, all mechanical parts and fittings to control panel and burner assembly, and all fire pit tops that are not cast aluminum are warranted for a period of one (1) year from the original date of purchase, against defects in material and or workmanship. Rust is not covered.
Frames
Frames are warranted to be free from defects in materials and workmanship for a period of one (1) year. Damage to frames or welds due to improper assembly or exposure to water and sub-freezing temperatures is not covered. Breakage that is a result of a product being dropped, acts of God, acts of war, etc. are not covered.
Finish
The finish is warranted against peeling, cracking, or blistering for a period of one (1) year provided the product has not been scratched or abraded. Scratches and chips resulting from normal wear and tear are not covered. Fading resulting from exposure to elements is not covered. Stains as a result of chemical spills and certain food items are not covered.
Table Tops
All table tops are warranted for a period of one (1) year from the original date of purchase, against defects in material and or workmanship. Breakage, discoloration, staining, and or any other weather-related issues are not covered.
Warranty Exclusions
Failure caused by unreasonable or abusive use. Firepits that were clearance items, display models, or items purchased in an “as is” condition, freight damage, firepit damaged by acts of nature, vandalism, fire, abuse, lack of proper care and maintenance, or improper assembly; straps and normal fading or discoloration from exposure to elements, oils, spills, fluids or chemicals; Tabletop against breakage; hardware against corrosion or rusting; buckling or splitting of tubing resulting from exposure to water and freezing temperatures; glass table tops, purchased or replacement parts; plastics. Also excluded: are loss of use of time and or inconvenience, money, travel, packaging, or any other consequential or incidental damages. In no event shall our side responsibility exceed the value of the replacement product. Warranty is to the original purchaser when items are purchased from one of our authorized retailers and is not transferable. All warranty claims must be submitted with a dated register receipt within the warranty period. For quality control purposes and verification, we reserve the right to request photographs of the damaged item(s). The terms of this warranty are subject to change without notice.
If instructions or parts are missing, please email us at [email protected].
Questions, problems, missing parts? Before returning to the store
please contact our Customer Service
[email protected]
1-877-606-2818



























