6300/6400 WINDSTORM INSTRUCTIONS
PREPARING FOR HURRICANE/WINDSTORM
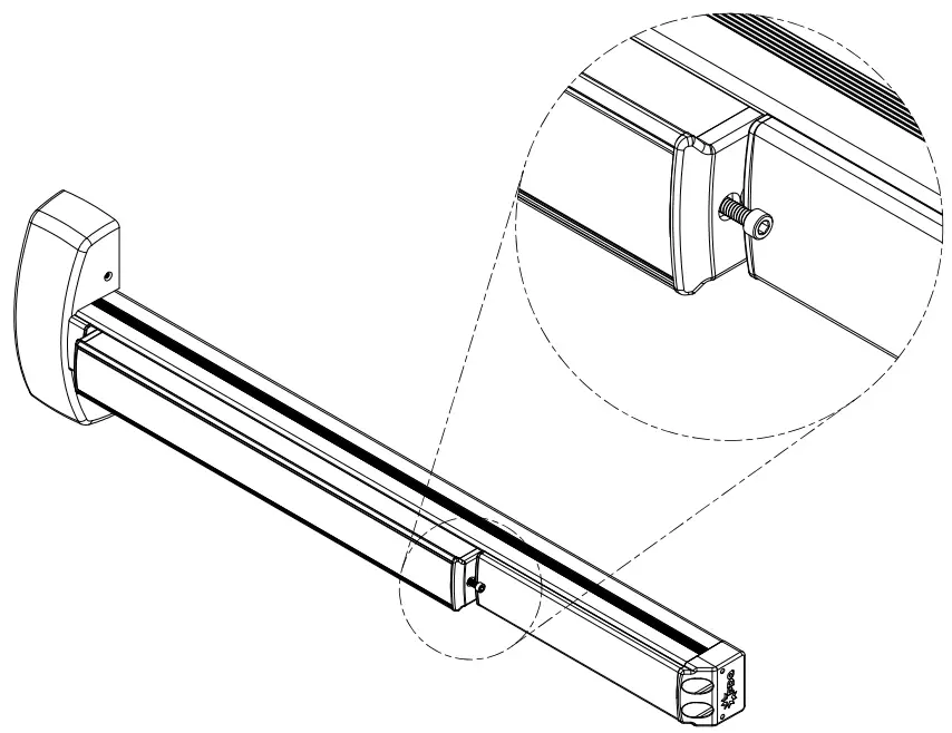
To secure the door, turn the screw counterclockwise using a 5/32″(4mm) hex key until the head is protruding 3/8″ from the end cap.**
Warning: This will render the exit device inoperable from inside and block egress.
**Required for Impact Rating

639414 Rev0 – 04/12/22


















