QUARK-ELEC QK-AS06 NMEA 0183 Wind Sensor Instruction Manual
Features
- Highly accurate measurement of wind speed and direction
- Measurement range: speed from 0 to 107 knots (0 to 55m/sec), direction from 0 to 359°
- Waterproof enclosure (IP66 rating)
- Designed for harsh conditions
- Pre-calibrated and configured
- Quick and simple installation
- Data output in NMEA 0183 MWV sentence format
- NMEA 2000 data interface (AS01 NMEA 2000 gateway required, not included in the box)
- Robust fixing bracket
- Low power consumption (27mA)
- Re-calibration possible if required
Introduction
The AS06 is a combined wind speed and direction meter providing reliable measurement in all weather conditions. It features a cup anemometer with 3 cups for speed and a pre-balanced vane for direction measurement, providing a reliable, and robust solution for marine applications.
The AS06 has been pre-calibrated and can be used out of the box, to provide instant wind speed and direction data to NMEA 0183 devices or to the NMEA 2000 backbone (AS01 NMEA 2000 mini gateway required, not included). With the ceramic bearings and the noncontact sensors used in a rugged enclosure, the AS06 is the perfect wind sensor for the extremely harsh conditions of the marine and offshore environment where extreme temperatures, salt and dirt build-up, and corrosive substances are present.
The sensor does not normally require maintenance other than an occasional cleaning.
DO NOT lubricate the wind cup shaft, the wind vane shaft or any of the bearings as this could increase the rolling resistance and might lead to inaccurate measurements.
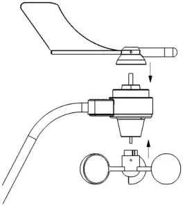
Sensor Components
The AS06 sensor has the following components:
- Wind vane, mounted on the top of the sensor body, made of polycarbonate, with a brass tip.
- Wind cups: the three cups are cone shaped for optimum response to varying winds.
- Anemometer base, which contains the main processing unit.
- Anemometer arm with 1.0 meter cable and waterproof connector.
- Extension cable: 10- or 20-meter-long extension cables available.
- Mounting kit: contains parts most commonly needed for installation. Adaptation of the mounting bracket or additional parts might be required for specific installation needs.
Mounting

The AS06 wind sensor should be mounted where the wind speed or direction are not altered by nearby objects or obstacles. Use the following guidelines to determine the best location for installing the AS06.
- For the most accurate readings, the anemometer should be mounted at least 2 m (7 ft) above the ground and consistent with meteorological conditions for the application.
- The AS06 cable should be secured with cable ties to protect it from damage.
- Secure the mast the AS06 is mounted on so that it does not vibrate.
- Installing a lightning rod nearby can reduce the risk of damage caused by lightning.
- The sensor can be damaged by improper handling. Store the sensor in its shipping box until you are ready to install it.
Assembly of the cup unit and vane
The AS06 is shipped with the wind vane and cups not mounted to the unit. The cup unit and the vane blade are made of light materials for optimum response to the wind. Both are balanced to provide accurate measurement and to prevent vibration. Take care not to damage the cup unit or the vane blade while mounting.
Attaching the Wind Vane
The wind direction sensor has been calibrated in the factory so the wind direction will be accurate when the vane is installed correctly.
- Slide the wind vane onto the wind vane shaft. The shaft’s cross-section is D-shaped to ensure that the vane is installed correctly.
- Tighten the set screw in the wind vane with the provided Allen wrench.
Attaching the Wind Cups

- Push the wind cups onto the anemometer’s stainless steel wind cup shaft.
- Slide the wind cups up the shaft as far as possible.
- Use the Allen wrench to tighten the set screw on the side of the wind cups. The wind cups should drop slightly when you let go.
- Ensure the set screw is screwed in fully and tight. Failure to do so will cause the AS06 to function improperly.
- Spin the wind cups, they should spin freely. If they do not spin freely, take them off and repeat the above steps.
Mount the arm on the mast
- Mount the D-bracket on the mast or pipe with the provided U-bolts set. Secure the mast the anemometer is mounted on so that it does not vibrate. If you are using tripods, secure them with guy wires. If the AS06 is to be fitted to a wooden mast, suitable screws should be used. Failure to firmly fasten D-bracket to the mast will cause damage to the AS06.

- The AS06 must be substantially horizontal and the arm should be pointing straight forward. Spirit level (not included) can be used to obtain the right position. Position can also be adjusted from the two screws on the D-bracket. After the installation is complete, please ensure fixing screws are tightened and the D-bracket is well fixed and secured to the mast.
Secure the cables
The AS06 comes with one meter cable with a waterproof connector at the end. This will have to be used to connect it to the extension cable.
There are 10 meters and 20 meters long extension cables available.
Please choose the right length extension cable for your application. Joint the two connectors firmly and fully, tighten the nut on the connector, to ensure no water or dust can enter into the junction.
To prevent the anemometer’s cable from damage, secure it to the mast so it does not whip about in the wind using cable clips or weather resistant cable ties. Place clips or cable ties evenly, at approximately every 0.8 to 1.5m (2.6 to 5 ft). Do not use metal staples to secure the cable as these can damage the cable. It is recommended to check the state of the cable annually.
Electronical connections
The AS06 is designed to be used out of the box. For instant wind speed and direction data it can be connected to an NMEA 0183 listener device or to an NMEA 2000 network (QK AS01 NMEA 2000 gateway required, not included in the box) and has a data frequency of 1Hz.
Connections
The QK-AS06 wind sensor can be connected to other devices using its four wires.
| Wire | Function |
| Red | 12V-24V POWER |
| Black | GND |
| Green | NMEA OUT / RS232 TX |
| Yellow | NMEA IN / RS232 RX |
Connecting QK-AS06 to NMEA 0183 (RS232) devices
The AS06 sends wind data using the NMEA 0183-RS232 (single-ended) protocol.
For devices using the RS232 interface, the wires have to be connected in the following way:
| QK-AS06 wires | RS232 device | |
| NMEA 0183 | Green: TX (NMEA OUT) | RX (NMEA IN)*[1] |
| Black: GND | GND (sometime called COM) | |
| POWER | Black: GND | GND |
| Red: Power | 12V Power |
[1] Swap NMEA input(RX) and GND wires if the communication does not work.
Ensure you check the above table and your device’s documentation carefully before powering up.
Connecting QK-AS06 to NMEA 0183 (RS422) devices
Although AS06 uses single-ended RS232 interface, it also supports RS422 (differential signal) interface devices. In this case devices have to be connected in the following way:
| QK-AS06 | RS422 device | |
| NMEA 0183 | Green: TX (NMEA OUT) | NMEA IN- (sometimes called NMEA /B,or -Ve)*[2] |
| Black: GND | NMEA IN+ (sometimes called NMEA /A or +Ve) | |
| POWER | Black: GND | GND |
| Red: Power | 12V Power |
[2] Swap NMEA input + and NMEA input – wires if the communication does not work.
The following is an example for connecting the QK-AS06 wind sensor to a NMEA 0183 (RS422) device (in this case, the QK-A031 NMEA multiplexer).
Figure 1: Connecting QK-AS06 to NMEA 0183 (RS422) device (e.g. A031)
Data output protocols
The QK-AS06 will begin sending wind speed and direction data in MWV sentence format immediately once is connected to a 12V DC power supply. The default baud rate is 4.8kbs, however other common baud rates can be set using the configuration tool.
Details of MWV sentence format are shown as below:
Field Number:
- Wind Angle, 0 to 359 degrees
- Reference, R = Relative, T = True
- Wind Speed
- Wind Speed Units, K/M/N
- Status, A = Data Valid, V = Invalid
- Checksum
Example sentence: $IIMWV,214.8,R,5.1,K,A*33
Maintenance
The AS06 was designed to be maintenance free for the first 4 years of use. While the outer surface could show some signs of surface corrosion with time, in salty maritime or harsh environments, the inner bearings, mechanical components and electronic parts are protected from direct exposure to the outside environment. The AS06 does not normally require any maintenance other than the occasional cleaning. If the vane and the cups become dirty, clean them with mild soapy water and rinse them with fresh water. DO NOT immerse the sensor in water or use any organic solvents to clean the unit. DO NOT lubricate the wind cup shaft or bearings or the wind vane shaft. Natural or synthetic lubricants will impede the normal operation of the anemometer.
It is recommended to check the performance of the sensor annually. The AS06 showing an unexpected behaviour is a sign of unwanted bearing resistance most likely due to dirt or dust present inside the anemometer’s bearings. In this case, please contact your local distributor to get the wind sensor recalibrated or the bearing/bearings replaced.
Please check the behaviour of your wind sensor in the following way:
- In sunny and reduced wind conditions, look for signs of bearing contamination by observing how smoothly the anemometer (both wind vane and wind cups) come to a stop.
- A good working bearing should rotate smoothly and should stop gradually. Sometimes it will have a reverse and forward movement before fully stopping.
- If a quick and abrupt slowdown in rotation is observed before the anemometer comes to a stop, it is a sign of improper bearing resistance due to dirt entering the anemometer’s bearing or the bearing is possibly worn out if it has been in use for several years.
Please be advised, calibration service and bearing replacement should be performed only by Quarkelec authorized distributors and trained personnel to maintain warranty validity.
Configuration (via USB)
The AS06 is designed to be used out of the box. If required, it can be connected to a Windows PC using a RS232 to USB adaptor (included) for:
- Accessing wind data on a PC via the USB port.
- Use the Configuration tool for:
- Adjusting the data baud rate
- Adjusting or calibrating the wind direction sensor
- Calibrating the wind speed sensor (only modify calibration parameters when you have been asked by a member of Quark-elec technical team or our authorized distributor)
Connection via USB to a Computer
A RS232 to USB adaptor should be used to connect the wind sensor to a computer.
The wind sensor has to be connected to the adaptor as shown below:
| QK-AS06 wires | Adaptor |
| Green: TX (NMEA OUT) | USB adaptor – RX |
| Yellow: RX (NMEA IN) | USB adaptor – TX |
| Black: GND shield | USB adaptor – GND |
Ensure you check the above table and your device’s documentation carefully before connecting the wind sensor to the USB adaptor.
The wind sensor still requires power while connected to your PC using the USB adaptor.
Figure 2 AS06 to USB adaptor
USB driver
To ensure successful communication between the wind sensor and your computer, installation of USB adaptor hardware drivers might be required. Please note, although the AS06 can be connected to a Mac or a Linux system to read NMEA 0183 data via USB, the configuration tool can only be run on a Windows based system.
Mac:
No driver required. For Mac OS X, the AS06 will be recognized and shown as a USB modem. Device ID can be checked with the following steps:
- Plug the AS06 into a USB port and launch Terminal.app.
- Type: Is /dev/*sub*
- The Mac system will return a list of USB devices. The AS06 will be displayed as – “/dev/tty.usbmodemXYZ” where XYZ is a number. Nothing further needs to be done if your deviceis listed.
Linux:
No driver is required for Linux. When plugged into the computer, the AS06 will show up as a USB CDC device on /dev/ttyACM0.
Windows 7,8,10:
Drivers usually are installed automatically if your computer is running an original Windows 10 version. A new COM port will appear in the device manager, once the wind sensor is powered up and connected to the computer via USB.
The AS06 registers itself to the computer as a virtual serial com port.
If the driver is not automatically installed, it can be downloaded from www.quark-elec.com.
The Configuration tool (Windows PC)
The free configuration software can be downloaded from www.quark-elec.com, for optional configuration.
- Open the configuration tool
- Select your COM port number, which can be found in your ‘Device Manager’ on your computer
- Click ‘Open’. In case of successful connection, the ‘Connected’ status will appear in the bottom left corner of the configuration window and the current firmware will be displayed in the bottom right corner. Now, the configuration tool is read to be used.
- Click ‘Read’ to read the device’s current settings.
- Configure the settings as required:
- NMEA 0183 Baud Rates. ‘Baud rate’ refers to the data transfer speed. The AS06’s output port’s default baud rate is 4800bps. However, the baud rate can be changed to 9600bps,38400bps,115200bps if required.
When connecting two NMEA 0183 devices, both devices’ baud rates must be set to the same speed. Select the baud rate to match the other device’s (e.g. chart plotter, multiplexer, etc.) baud rate. - Wind angle deviation. The AS06 anemometer must be oriented forward, towards the bow of the boat and the displayed wind angle value should be 0° in order to obtain meaningful data. Due to the position of the wind sensor after installation and the slight discrepancy between the arm and the 0°position of the wind angle sensor, the reading might show a slight difference compared to the true value. This value can be adjusted if required, to get accurate wind angle data.

- Wind speed calibration code. PLEASE DON’T change this value, unless instructed by a Quark-elec technical team member or an authorized distributor. The AS06 comes with a calibrated wind speed sensor.
- Output messages(reserved). The current version of the AS06 outputs wind speed data in ‘MWV’ sentence format, however the updated version will support heading data in ‘HDM’ and ‘HDG’ sentence format. The new AS06 will have a data filtering function, so it will be possible to filter out unwanted NMEA0183 messages.
- NMEA 0183 Baud Rates. ‘Baud rate’ refers to the data transfer speed. The AS06’s output port’s default baud rate is 4800bps. However, the baud rate can be changed to 9600bps,38400bps,115200bps if required.
- Click ‘Config’ and please wait for a few seconds to ensure the new setting have been saved.
- Click ‘Read’ to check if the settings have been saved correctly before clicking ‘Exit’.
- Disconnect the AS06 from the power supply.
- Disconnect the AS06 from the PC.
- Re-power the AS06 to activate the new settings.
Specification
| Item | Specification |
| DC supply | 10-15V(+/-0.2V) |
| Measurement Range(speed) | 0 to 55 m/sec (107 knots) |
| Measurement Accuracy(speed) | ±1.25m/s (2.5 knots) or ±5% whichever is greater |
| Starting Threshold(speed) | 2.0m/sec(3.9 knots) |
| Measurement Range(direction) | 0 to 359 degrees (all directions) |
| Measurement Accuracy(direction) | ±1.5 degrees |
| Starting Threshold(direction) | 2.0 m/sec (3.9 knots) |
| Measuring frequency | 1Hz |
| Power current | 27mA(typical) |
| Bearing Type | Ceramic (offers less friction and suitable for harsh environments) |
| Housing | UV-resistant ABS wind vane, and Polycarbonate wind cups |
| NMEA data format | ITU 0183 format: MWV |
| Cable length | 10meters(default) or 20 meters |
| NMEA output data rate | 4.8k to 38.4kbps, RS-422 galvanically isolated |
| Operating Temperature | -35°C to +65°C |
| Environmental Rating | Weatherproof (IP66) |
| Storage Temperature | -30°C to +70°C |
| Recommended Humidity | 0 – 93% RH |
Limited warranty and notices
Quark-elec warrants this product to be free from defects in materials and manufacture for two years from the date of purchase. Quark-elec will, at its sole option, repair or replace any components that fail in normal use. Such repairs or replacement will be made at no charge to the customer for parts and labour. The customer is, however, responsible for any transportation costs incurred in returning the unit to Quark-elec. This warranty does not cover failures due to abuse, misuse, accident or unauthorized alteration or repairs. A returns number must be given before any unit is sent back for repair.
The above does not affect the statutory rights of the consumer.
Disclaimer
This product is designed to aid navigation and should be used to augment normal navigational procedures and practices. It is the user’s responsibility to use this product prudently.
Neither Quarkelec, nor their distributors or dealers accept responsibility or liability either to the products user or their estate for any accident, loss, injury, or damage whatsoever arising out of the use or of liability to use this product.
Quark-elec products may be upgraded from time to time and future versions may therefore not correspond exactly with this manual. The manufacturer of this product disclaims any liability for consequences arising from omissions or inaccuracies in this manual and any other documentation provided with this product.
Document history
| Issue | Date | Changes / Comments |
| 1.0 | 02-12-2021 | Initial release |
| 08-01-2022 |
Glossary
- NMEA 0183: is a serial data interface operating at 4.8 Kbit/second utilizing standard asynchronous communications. It is an electrical and data standard for communication between marine electronics.
- NMEA2000 / N2K: is a serial data network operating at 250 Kbit/second utilizing the Controller Area Network (CAN). The CAN bus was originally developed for the automotive industry but is now used in numerous industrial applications. It is a communications standard used for connecting marine sensors and display units within ships and boats and is generally plug-and-play.
- NMEA2000 / N2K backbone: Used with NMEA 2000, the backbone is the main BUS supplying data and power to all the devices on the boat.
- Sentences: Used in NMEA 0183 protocol to transfer data between marine equipment.
Quark-elec (UK)
Unit 7, the Quadrant
Newark Close
Royston, UK
SG8 5H






















