
SET-UP GUIDE
QK-AS06 ANEMOMETER
WIND SPEED & ANGLE SENSOR
NMEA 0183 and USB Output

This is an overview only. Always familiarize yourself with the product manual and the manuals of any connecting devices before installation. Designed to be connected by an experienced installer.
Location
The AS06 wind sensor should be mounted where the wind speed or direction are not altered by nearby objects or obstacles. Use the following guidelines to determine the best location for installing the AS06.
- For the most accurate readings, the anemometer should be mounted at least 2 m (7 ft) above the ground and consistent with meteorological conditions for the application.
- The AS06 cable should be secured with cable ties to protect it from damage.
- Secure the mast that the AS06 is mounted on so that it does not vibrate.
- Installing a lightning rod nearby can reduce the risk of damage caused by lightning.
- The sensor can be damaged by improper handling. Store the sensor in its shipping box until you are ready to install it.
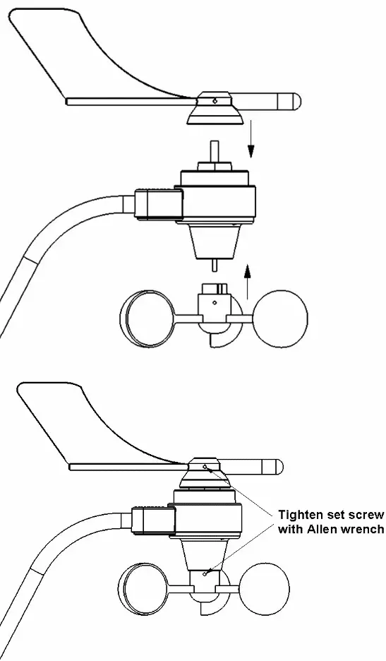
Assembly of the cup unit and vane
The AS06 is shipped with the wind vane and cups not mounted to the unit. The cup unit and the vane blade are made of light materials for optimum response to the wind. Both are balanced to provide accurate measurement and to prevent vibration. Take care not to damage the cup unit or the vane blade while mounting.
Attaching the Wind Vane
The wind direction sensor has been calibrated in the factory so the wind direction will be accurate when the vane is installed correctly. 1. Slide the wind vane onto the wind vane shaft. The shaft’s crosssection is D-shaped to ensure that the vane is installed correctly. 2. Tighten the set screw in the wind vane with the provided Allen wrench.

Attaching the Wind Cups
- Push the wind cups onto the anemometer’s stainless steel wind cup shaft.
- Slide the wind cups up the shaft as far as possible.
- Use the Allen wrench to tighten the set screw on the side of the wind cups. The wind cups should drop slightly when you let go.
- Ensure the set screw is screwed in fully and tight. Failure to do so will cause the AS06 to function improperly.
- Spin the wind cups, they should spin freely. If they do not spin freely, take them off and repeat the above steps.
Mount arm on the mast
- Mount the D-bracket on the mast or pipe with the provided Ubolts set. Secure the mast the anemometer is mounted on so that it does not vibrate. If you are using tripods, secure them with guy wires. If the AS06 is to be fitted to a wooden mast, suitable screws should be used. Failure to firmly fasten D-bracket to the mast will cause damage to the AS06.
- The AS06 must be substantially horizontal and the arm should be pointing straight forward. Spirit level (not included) can be used to obtain the right position. Position can also be adjusted from the two screws on the D-bracket. After the installation is complete, please ensure fixing screws are tightened and the D-bracket is well fixed and secured to the mast.

Secure the cables
The AS06 comes with a one-meter cable with a waterproof connector at the end. This will have to be used to connect it to the extension cable. There are 20 meters and 30 meters long extension cables available. Please choose the right length extension cable for your application. Joint the two connectors firmly and fully, tighten the nut on the connector, to ensure no water or dust can enter into the junction.
To prevent the anemometer’s cable from damage, secure it to the mast so it does not whip about in the wind using cable clips or weather-resistant cable ties. Place clips or cable ties evenly, at approximately every 0.8 to 1.5m (2.6 to 5 ft). Do not use metal staples to secure the cable as these can damage the cable. It is recommended to check the state of the cable annually.
Connections
The AS06 sends wind data using the NMEA 0183-RS232 (single-ended) protocol. For devices using the RS232 interface, the wires have to be connected in the following way:
| QK-AS06 wires | RS232 device | |
| NMEA 0183 | Green: TX (NMEA OUT | RX (NMEA IN)*[1] |
| Black: GND | GND (sometimes called COM) | |
| Black: GND | GND | |
| POWER | Red: Power | 12V Power |
*[1] Swap NMEA input(RX) and GND wires if the communication does not work
Although AS06 uses a single-ended RS232 interface, it also supports RS422 (differential signal) interface devices. In this case, devices have to be connected in the following way:
| QK-AS06 wires | RS422 device | |
| NMEA | Green: TX (NMEA OUT) | NMEA IN- (sometimes called NMEA /B,or -Ve)*[2] |
| Black: GND | NMEA IN+ (sometimes called NMEA /A or +Ve) | |
| POWER | Black: GND | GND |
| Red: Power | 12V Power |
*[2] Swap NMEA input + and NMEA input – wires if the communication does not work.
Maintenance
The AS06 was designed to be maintenance-free for the first 4 years of use, it does not require any maintenance other than the occasional cleaning. If the vane and the cups become dirty, clean them with mild soapy water and rinse them with fresh water. DO NOT immerse the sensor in water or use any organic solvents to clean the unit. DO NOT lubricate the wind cup shaft or bearings or the wind vane shaft. Natural or synthetic lubricants will impede the normal operation of the anemometer.
If the AS06 is showing an unexpected behavior, the following checks need to be done:
- In sunny and reduced wind conditions, look for signs of bearing contamination by observing how smoothly the anemometer (both wind vane and wind cups) come to a stop.
- A good working bearing should rotate smoothly and should stop gradually. Sometimes it will have a reverse and forward movement before fully stopping.
- If a quick and abrupt slowdown in the rotation is observed before the anemometer comes to a stop, it is a sign of improper bearing resistance due to dirt entering the anemometer’s bearing or the bearing is possibly worn out if it has been in use for several years.
Please be advised, calibration service and bearing replacement should be performed only by Quark-elec authorized distributors and trained personnel to maintain warranty validity.
Configuration (via USB)
The AS06 is designed to be used out of the box. If required, it can be connected to a Windows PC using an RS232 to USB adaptor (included) for:
- Accessing wind data on a PC via the USB port.
- Use the Configuration tool for adjusting the baud rate.
- Use the configuration tool to calibrate the wind direction.
- Use the configuration tool to calibrate the wind speed (only perform this when you have been asked by a member of the Quark-elec technical team or our authorized distributor).
Check the manual for further information on how to connect the QK-AS06 wind sensor to the USB adaptor and how to use the configuration tool.
Data output protocols
The QK-AS06 will begin sending wind speed and direction data in MWV sentence format immediately once is connected to a 12V DC power supply. The default baud rate is 4.8kbs, however other common baud rates can be set using the configuration tool.
Example sentence: $IIMWV,214.8, R,5.1, K, A*33, where the relative wind angle is 214.8 degrees and the speed is 5.1 Km/h.
WARNING:
Calibration service and bearing replacement should be performed only by our authorized distributors and trained personnel to maintain warranty validity.
DO NOT lubricate the wind cup shaft, the wind vane shaft or any of the bearings as this could increase the rolling resistance and might lead to inaccurate measurements.
Disclaimer: This product is designed to aid navigation and should be used to augment normal navigational procedures and practices. It is the user’s responsibility to use this product prudently. Neither Quark-elec nor their distributors or dealers accept responsibility or liability either to the product user or their estate for any accident, loss, injury or damage whatsoever arising out of the use or of liability to use this product.
Email: [email protected]
V1.0(0122)

Please recycle your packaging
CE, RoHS certified
www.quark-elec.com



















