FURUNO CV3Fm6 Ultrasonic Wind Vane-Anemometer
CV3F is a new generation wind measurement sensor providing, on a standardized series electric line, the values from the wind module in knots or meters per second, relative wind direction, and its temperature in degrees C. The sensor can be used directly with a PC-type computer or read by modern repeaters with standard NMEA0183 input.
Operating principle 
Sound, ultrasound, is carried by the movement of the fluid through which it passes. Four electro-acoustic transducers communicate in twos using ultra-sound signals to determine, in two orthogonal axes, the differences in transit times of the waves, induced by the airflow. The measurements are used in an integrated computer to establish the wind module and its direction relative to a reference axis.
The measurement of temperature serves to refine the calibration. The method provides a sensitivity of 0.5 knots, a range of up to 100 knots, and excellent linearity.
Equipment supplied
- CV3F sensor head and 300mm pole
- 2 stainless steel brackets
- 25 m coaxial cable fitted with a connector
- Box for connecting power supply and display reader
- Installation instructions
Electrical characteristics
- Digital output signals:
NMEA0183, MWV: 5 digits for the module, 4 digits for the direction, 1 digit for validity state.
NMEA0183, XDR: 4 digits for the temperature.BARO Option
NMEA0183, MDA: 4 digits for the pressure, 4 digits for the temperature. NMEA0183, XDR: 4 digits for the temperature, 4 digits for the atmospheric pressure.
- Wind module resolution: 0.1 knots
- Wind module dynamics: 0.5 to 99.5 knots
- Resolution: 1 degree
- Sensitivity to direction: + / 1.5 degrees
- Supply: 9,5 to 14 V DC
- Consumption: 25 milliamperes
- Operating temperature: -10°C (without ice) to +50°C
LCJ CAPTEURS – 29 Allée des Cinq Continents – Z.A. Le Chêne Ferré – 44120 VERTOU – France Tel: +33 (0)2 40 05 08 55 – Email: [email protected] – Website : www.lcjcapteurs.com
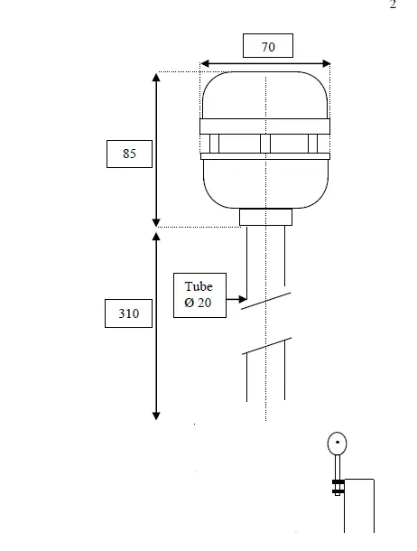
Mechanical characteristics (mm)
Installation
Find a place free from obstructions to the wind. The CV3F sensor can be fitted using the two stainless steel brackets to the side or top of the mast as shown. Set up the alignment mark parallel to the axis of the vessel pointing towards the bow or, when it is a land installation towards a reference direction, as a rule, true north. Better precision is obtained by taking the struts linking the two halves of the sensor as an axis for the alignment. Join the coaxial cable to the sensor as in the diagram below and lead the cable to the site for the display unit. Avoid as far as possible closeness to cables which might induce high levels of radio-electrical interference.
Connection in the sensor tube:
The plug at the end of the tube has a hole to allow the passage of coaxial cable RG58 and a small hole (1.5mm), sufficient to assure natural weatherproofing and at the same time to stabilize the internal and external pressures on CV3F. During installation, care must be taken to ensure that this hole is not closed and to be left in the same atmospheric pressure as the sensor itself.
LCJ CAPTEURS – 29 Allée des Cinq Continents – Z.A. Le Chêne Ferré – 44120 VERTOU – France
Tel: +33 (0)2 40 05 08 55 – Email: [email protected] – Website : www.lcjcapteurs.com
Interconnections
- Connect the 12V (9,5 to 14VDC) supply. Blue – / Brown +
- Connect the coaxial cable of the CV3F sensor correctly connecting the core and screening.
- Connect the display receiver equipment to the NMEA connector:
- for the COM(1) port of an RS232 computer
- connect b1 to Rx terminal 2 of COM1
- connect b3 to 0V terminal 5 of COM1
- if necessary, connect terminals 6 and 7 of COM1 together.

- for a floating RS422 standardized NMEA0183 input
Make sure in advance that none of the receiver inputs is connected to 0 Volts, otherwise use the RS232 type connection.
connect b1 to +Ve ( or In +) or A of the NMEA display connect b2 to -Ve ( or In -) or B of the NMEA display
The b1 b2 output supplies a differential voltage greater than 2 Volts at a load of 4 mA which allows two receivers to be controlled simultaneously. 
Output messages
Example:
- $IIMWV,226.0,R,000.00,N,A*0B
- $WIXDR,C,036.5,C,,*52
- $PLCJ,67FF,6EFF,28,,,,5050,5050
- $PLCJEA870,6D98,C500,0056,AC,
CV3F-WindyPlug
Consumption: 2 LEN / < 50mA with sensor. NMEA2000 manufacturer ID: 499
NMEA2000 V2 PGNs:
- TX: 59392; 60928; 126464; 126996; 130306; 130311
- RX: 59392, 59904; 60928; 130315
Product ID: - LCJ Capteurs CV7_Ultrasonic_Wind_SensorV2
NMEA2000 V3 PGNs:
- TX: 59904; 60928; 126464; 126996; 130306; 130312; 130314
- RX: 59392; 59904; 60928; 130315
Product ID: - LCJ Capteurs CV7_Ultrasonic_Wind_SensorV3
- Pressure’s measure range: 850 hPa / 1150 hPa
Resolution: - 1 hPa (mbar) with NMEA2000 Version 2 systems
- 0.1 hPa (mbar) with NMEA2000 Version 3 systems
- Relative accuracy: +/- 0.5 hPa @ 20°C
- Absolute accuracy: +/- 1.5 hPa @ 20°C





Installation





















