Fitting Instructions – Read instructions carefully before fitting and follow them for correct use
IN8102 ULTI Bars – X5 IN8102 

Tested to 80kg per bar. The maximum load is in accordance with the vehicle manufacturer’s load-bearing capacity (refer to the vehicle handbook). Do not exceed this limit.
THIS PRODUCT SUITS THE FOLLOWING VEHICLES
VG286-5
Vehicle: Nissan NV400: 2010-2021
Nissan Interstar: 2022 on
Renault Master: 2010 on
Vauxhall Movano: 2010-2021
Wheel Base: LWB (L3)
Roof Height: Medium (H2)
Rear Doors: Twin

VG286-5
Vehicle: Nissan NV400: 2010-2021
Nissan Interstar: 2022 on
Renault Master: 2010 on
Vauxhall Movano: 2010-2021
Wheel Base: XLWB (L4)
Roof Height: Medium (H2)
Rear Doors: Twin

Remove roof plugs to reveal the vehicle fixing points.
- Stick rubber pads to all roof brackets.

- Loosely secure the middle inner fixing brackets to the inside of the vehicle by inserting the M6 1/4 turn nut inserts (FX4025) into the positions shown in FIG.1. Then place the middle inner bracket into place and loosely bolt into the M6 1/4 turn inserts using M6x20 hex bolts and M6 washers. Please note the cable trim (shown in FIG.2) may have to be removed. This trim can be refitted after the inner bracket has been secured.

- Loosely secure the rear inner fixing brackets to the inside of the vehicle by inserting the M6 1/4 turn nut inserts (FX4025) into the positions shown below. Then place the rear inner bracket in position and loosely bolt into the M6 1/4 turn inserts using M6x20 hex bolts and M6 washers.

- Loosely secure the front inner fixing brackets to the inside of the vehicle. Where a sliding door is present remove the 2X star drive screws, place the front inner bracket in position and refit star drive screws as shown in fig.1. (Do not remove the door rail bracket) Where a sliding door is not present insert the M6 1/4 turn nut inserts into the positions shown in fig.2. Then place the front inner bracket in position and loosely bolt into the M6 1/4 turn nut inserts using M6x20 hex bolts and M6 washers.

- Place the roof brackets onto the roof and bolt down through the fixing points and through the inner fixing brackets using M8X40 hex bolts, M8 washers & rubber washers.

- Place the roof bars onto the roof brackets and loosely secure them using M6X16 coach bolts & M6 flange nuts.

- Adjust the roof bars to ensure that they are evenly spaced on the vehicle.

- Tighten the roof bar fixings to 8Nm.

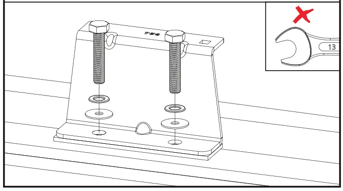
- Secure the roof brackets to the inner fixing brackets using M8 flange nuts and tighten to 12Nm.

- Tighten the M6 fixings on all inner fixing brackets to 8Nm.


Regularly inspect all fixings and parts. Any damaged or worn parts should be immediately removed from the vehicle and replaced.- Take care when loading and unloading goods onto and off the roof of the vehicle.
- Van Guard Accessories LTD and/ or its distributors do not accept liability for:
– Any products that have been fitted incorrectly.
– Any products which have been fitted to the incorrect vehicle.
– Any products that have been modified in any way or are being used for any purpose that they are unintended for. - It is important that the end user receives this document and that instructions are retained for future use.
This FITTING INSTRUCTION is the property of VANGUARD ACCESSORIES LTD. and must not be used for manufacturing purposes, copied nor communicated in any way to third parties without written permission from VANGUARD ACCESSORIES LTD. IN8102_G (CN:00114)
Van Guard Accessories Ltd
Fair Oak Close, Exeter Airport Business Park,
Exeter, Devon, EX5 2UL
www.van-guard.co.uk
Remove roof plugs to reveal the vehicle fixing points.





























