![]()

CB51 | CB61 Outdoor Bullet Camera
What you’ll need
- A working internet connection
- A smartphone or laptop
- A Cat5 or Cat6 ethernet cable with a .2-.25 inch outside diameter (5-6.5mm)
- 802.3af/802.3at POE Power over Ethernet (PoE) switch, or a PoE injector. For operation below -20° C, use 802.3at PoE
- A #2 Phillips screwdriver or power drill with a #2 Phillips driver bit
- 1/8 inch (3mm) drill bit for pilot holes
In the box
1 CB51 / CB61 outdoor bullet camera
1 Mount plate (pre-assembled with camera)
1 Setup guide, with 1 mounting template
1 T8, T25 Hand tool
1 22mm cable gland wrench
4 Wall mounting screws
4 Adapter mounting screws
1 Junction box adapter cover
1 Junction box adapter mount plate
1 Spare collar locking screw

CB51 / CB61 Outdoor Bullet Camera

Mount Plate (pre-assembled with camera) Junction Box Adapter Cover

Junction Box Adapter Mount Plate Setup Guide with Mounting Template

Cable Gland Wrench T8 and T25 Hand Tool

Mounting Hardware
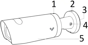
CB51 | CB61 Overview

- Collar Locking Screw
- Optional Cable Exit
- 3/4″ NPT Threaded Connection
- Ball Joint Lock Screw
- Removable Cover

- Status LED
- Cover Collar
- Base Locking Screw
- Base Plate
- Mount Plate
CB51 | CB61 Connect

Use the T8 drive to loosen the set screw. Do not completely remove the screw.

Twist the Cover Collar near the middle of the camera to remove the outer Cover.

Insert the ethernet cable into ethernet port. Scan the QR code for easy camera registration and setup, or proceed to www.verkada.com/start.
Connect CB51 / CB61 to an 802.3af/802.3at Power over Ethernet (PoE) port on your network
Go to www.verkada.com/start

For detailed installation instructions, visit www.verkada.com/support

Status LED
Solid orange
Camera is on and booting up
![]()
Flashing orange
Camera is updating firmware

Flashing blue
Camera is recording, but cannot reach the server
![]()
Solid blue
Camera is running, connected, and streaming video
CB51 | CB61 Mounting

To unlock the Mount Plate from the Base Plate, loosen the Base Locking Screw using the provided T8 hand tool. The screw should be backed out approximately .2″ (5mm) from the Base Plate. Do not fully remove the screw.

To remove the Mount Plate from the Base Plate, twist the Mount Plate counter-clockwise then pull the Mount Plate off of the underside of the Base Plate.

Use the provided mounting template to mark Mount Plate holes.
For a solid material like wood or metal, drill 1/8 inch pilot holes. Drive mounting screws directly into the pilot holes.
For drywall, plaster or masonry, separate wall anchors may be required.

Feed ethernet cable through the center of the Mount Plate before fully securing it to the mounting surface.
Leave enough slack to safely handle the camera during cable gland installation.

Remove the cable gland from CB51 / CB61.

Route the ethernet cable through the Mount Plate and ball joint. Leave the cable disconnected for now.

Align mounting features on the Mount Plate with the mounting pegs on the backside of CB51 / CB61 Base Plate.

Engage the mounting pegs and twist clockwise until you feel the camera lock securely in place.
Once secured, tighten the T8 security screw using the provided hand tool.

Firmly push the rubber seal and plastic collar together.

Slide the cable gland assembly into pass through, seating it in position.

Slide the metal nut over the RJ45 connector and engage the threads on the pass-through.

Gently tighten down the metal nut by hand. You should still be able to move the cable back and forth through the gland.

Push the excess ethernet cable back through the cable gland assembly. Plug in the ethernet cable to the camera’s RJ45 jack. The cable should be routed straight from the cable gland into the RJ45 jack.

Firmly tighten the metal nut using the included wrench.
CB51 | CB61 Secure

To finish securing the device, align the outer Cover with the camera and push into place.
The external threads on the outer Cover will meet the internal threads on the Cover Collar at the back of the housing.

Rotate the Cover Collar to thread the outer housing into place. The outer Cover will be pulled into place and should seat against the ring when fully tightened.

Use the T8 security key to tighten the set screw on the side of the Cover Collar to increase tamper resistance.
CB51 | CB61 Adjust

Adjust your camera to the desired viewing angle. Use the online stream to confirm image orientation. Image can be flipped 180° online in Command.

Pan
Tilt
Rotate

To lock the camera in place, use the T25 security torx key to turn the screw on the side of stand. This will tighten the ball joint.
To fully secure the device, rotate the torx handle 90 degrees and tighten the screw further.
+1 (833) 837-5232
[email protected]
www.verkada.com/support



















