
CD62 Indoor Dome Camera
CD62 Assembly
Please keep the protective film adhered to the clear bubble until completing the final step of installation.


- Unscrew the 2 torx security screws on the top cover. Remove and set aside, while taking caution not to scratch the clear bubble.
- Gently lift the clear bubble off of the camera body. Due to the magnetic attachment system, there will be a small amount of resistance.

Connect the camera to an 802.3af/at Power over Ethernet port on your network.
Scan QR code on camera base
For easy registration and setup, scan the QR-code on the product.
If you prefer to manually register your product, please proceed to: verkada.com/start.
The status LED will turn orange to indicate the camera has power. The LED will turn blue to indicate the camera is active. See additional LED states and definitions under LED Behavior.
Gently pull the cable through the through-hole so it has some slack, but will not interfere with the top cover.
Pulling the Ethernet cable too tight will strain the cable which may impact data performance.
Too much slack in the Ethernet cable may create top cover installation issues.
CD62 Mount
- Mount the camera on a wall or ceiling. Try to keep the camera 8 to 10 feet above the ground.
- For best night vision, avoid overhangs or obstructions. These may reflect the camera’s IR illumination and reduce the image clarity in night mode.
- Use the provided T10 security torx security screwdriver to loosen the screws and lift the cover. To remove the mount plate, loosen the mount plate screws and twist the camera counter-clockwise. Lift the camera vertically off the base plate and set aside.
- Use the provided mounting template to mark wall mount holes. For a junction box mount, use the mounting template to determine the correct hole pattern.
- For a solid material like wood or metal, drill 1/8 inch pilot holes. Drive mounting screws directly into the pilot holes.
- For drywall, drill 1/4 inch holes. Insert plastic anchors into holes and drive mounting screws into anchors.
- To secure the camera, place it over the mount plate screws and twist counter-clockwise. Tighten the mount plate screws with a Phillips screwdriver.
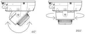
CD62 Adjust
Adjust your camera to the desired viewing angle.
Use the online stream to confirm image orientation.
Image can be flipped 180˚ online in Command.
Default image orientation is indicated by markings on the lens face. Video orientation is also adjustable from within the Verkada application.


CD62 Secure
After positioning your camera correctly, carefully place the clear bubble back onto the camera base. The 4 magnets and 2 alignment features on either side will guide the bubble into position.
To secure the top cover, align it to the security holes on the baseplate. Tighten the 2 Torx security screws using the provided T10 Security Torx screwdriver. Remove plastic film after top cover is secured.
CD62 What’s in the box



CD62 What you’ll need
- A working Internet connection
- 802.3af Power over Ethernet (PoE) switch, or a PoE injector. For operation below -20° C, use 802.3at PoE.
- A smartphone or laptop
- A #2 Phillips screwdriver or power drill with a #2 Phillips driver bit
- 1/4 inch (6.5mm) drill bit for wall anchors
- 1/8 inch (3mm) drill bit for pilot holes
- A Cat5 or Cat6 Ethernet cable with a 0.2-0.25 inch outside diameter (5-6.5mm)
CD62 LED Behavior

Solid Orange
Camera is on and booting up.
Flashing Orange
Camera is updating firmware.
Flashing Blue
Camera is recording data but cannot reach the server.
Solid Blue
Camera is running, connected, and recording data.
Caution
Please note:
- Maintenance and repair work must always be carried out by qualified technical personnel. Disconnect power from the unit when performing a maintenance task.
- Wiring methods used for the connection of the equipment to earth shall be in accordance with the National Electrical Code, ANSI/NFPA 70, and the Canadian Electrical Code, Part 1, CSA C22.1.
- The product must be installed and protected in a location that is not easily accessible and is away from impacts or heavy vibration.
- The camera is only to be connected to PoE networks without routing to outside plants.
- If powered by a power adapter, the adapter should be properly grounded. 6. Please contact certified dealers for power adapters.
PoE Adapter
To reduce potential safety issues, only use the PoE adapter provided with the product, a replacement PoE adapter provided by Verkada, or a PoE adapter purchased as an accessory from Verkada.
Support
Thank you for purchasing a Verkada camera.
If for any reason things don’t work right or you need assistance, please contact us immediately.
Sincerely,
The Verkada Team
verkada.com/support
+1 (833) 837-5232
[email protected]
www.verkada.com/support

















