
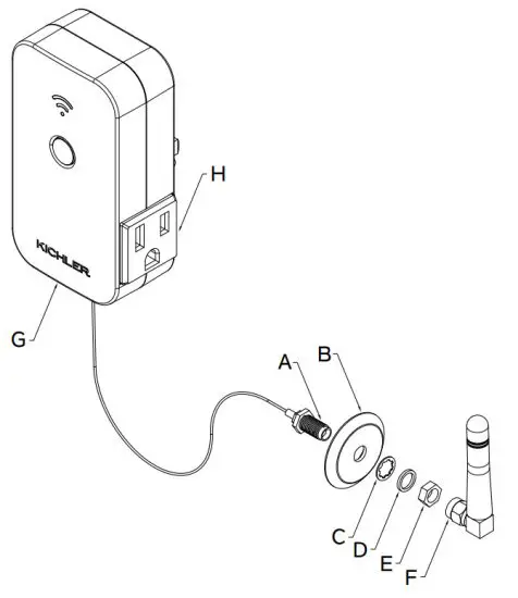
DEVICE DIAGRAM
ANTENNA POINTS UP

Smart Control Timer Installed to Transformer
PARTS LIST
[A] Male Threaded Portion of Antenna
[B] Nylon Knock-Out Gasket
[C] Lock Washer
[D] Flat Washer
[E] Nut
[F] Antenna[G] Smart Control Timer
[H] Side Receptacle
CAUTIONS
CAUTION – RISK OF SHOCK –
Disconnect power at the main circuit breaker panel or main fusebox before starting and during the installation.
WARNING:
This device is intended for installation in accordance with the National electrical code (NEC) and all local code specifications. If you are not familiar with code requirements, an installation by a certified electrician is recommended.
CLEANING:
- Always be certain that the electric current is turned off before cleaning.
- Only a soft damp cloth should be used. Harsh cleaning products may damage the finish.
INSTALLATION INSTRUCTIONS
NOTE: Smart Control Timer should be installed to a transformer prior to setting up and using the Kichler Connects App.
- Turn off power to the transformer that the Smart Control Timer will be installed in.
- Open the transformer door and unplug the internal power cord.
- Remove Smart Control Timer[G] from packaging & plug it into the internal transformer recepta
- Install the included antenna:
1. Using a flat blade screwdriver and pliers, remove a knock-out blank from transformer housing, being careful not to scratch the transformer body.
NOTE: We recommend removing a knock-out hole on side of the transformer closest to the Wi-Fi Router.
NOTE: DO NOT use the knockouts on the bottom of the transformer housing.
2. Insert nylon knock-out gasket[B] into knockout from the exterior of the transformer.
3. Remove nut[E], flat washer[D], and lock washer from the male threaded portion of the antenna[A].
4. Insert the male threaded portion of the antenna[A] through the nylon lock-out gasket[B].
5. Place lock washer[C] and flat washer[D] onto the male threaded portion of the antenna[A], then thread on nut[E]. HAND-TIGHTEN ONLY. DO NOT OVERTIGHTEN.
6. Thread antenna[F] onto the male threaded portion of the antenna[A].
7. For best reception, ensure that the antenna[F] is upright with respect to the transformer. - Plug the internal transformer cord into the side receptacle[H] on the Smart Control Timer.
- Turn power to transformer back on.
- Download the Kichler Connects App from the Apple App Store or Google Play and follows QStart App Installation instructions to connect your device.
16085BK SMART CONTROL TIMER SPECS:
- Input: 120V 60Hz 10A
- Output: 120VAC 10A Max
- Wi-Fi: 2.4Ghz Only, 802.11b/g/n
- Bluetooth 5
- cUL
- FCC
FCC INFORMATION
This device complies with part 15 of the FCC Rules. Operation is subject to the following two conditions:
- This device may not cause harmful interference, and
- This device must accept any interference received, including interference that may cause undesired op
Note: This equipment has been tested and found to comply with the limits for a Class B digital device, pursuant 15 of the FCC Rules. These limits are designed to provide reasonable protection against harmful interference in a residential installation. This equipment generates, uses and can radiate radio frequency energy and, if not inand used in accordance with the instructions, may cause harmful interference to radio communications. Now there is no guarantee that interference will not occur in a particular installation. If this equipment does cause interference to radio or television reception, which can be determined by turning the equipment off and on, encouraged to try to correct the interference by one or more of the following measures:
- Reorient or relocate the receiving antenna.
- Increase the separation between the equipment and receiver.
- Connect the equipment into an outlet on a circuit different from that to which the receiver is connected.
- Consult the dealer or an experienced radio/TV technician for help.
Warning: Changes or modifications made to this device not expressly approved by Kichler Lighting LLC may void the FCC authorization to operate this device.
Note: The manufacturer is not responsible for any radio or TV interference caused by unauthorized modifications to this equipment. Such modifications could void the user’s authority to operate the equipment.
RF exposure statement:
The transmitter must not be co-located or operated in conjunction with any other antenna or transmitter. This equipment complies with the FCC RF radiation exposure limits set forth for an uncontrolled environment. This equipment should be installed and operated with a minimum distance of 20cm between the radiator and any part of your body.
For warranty information please visit: kichler.com/warranty
ANTENNA POINTS UP















