HINKLEY 0150WLC Smart Landscape Control

Mounting Instructions
Start here
- Find, a clear area 1n which you can work.
- Unpack fixtur,e and g:lass from carton.
- CarefuUy review instructi,o,ns prior to assembly.
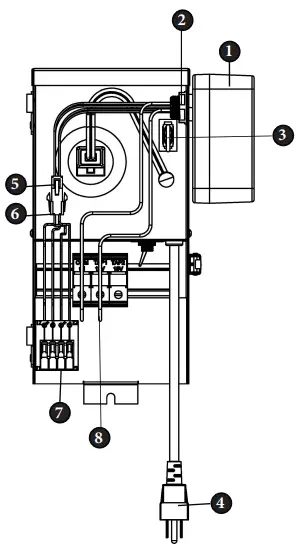
Transformer diagram

- First plug photocell jumper (3) in (if needed)
- Next knockout conduit knockout in order to create an opening for dimmer box (1)
- Secure dimmer box (1) to transformer using lock ring (2). Wires from dimmer box should run through the conduit knockout.
- Connect key connectors form dimmer box (5) and daughter board (6) together.
- Connect the free wires from the dimmer box into the COM and 12V terminal block connectors (8)
- Connect light fixture wires to the positive and negative terminals at the end of the daughter board (7) Note: fixture wire larger then 10 gage cannot be used on the daughter board. The board also features two positive and negative terminals to run multiple fixture lines. Wire zone 1 fixtures to Z1+ and Z1- and wire Zone 2 fixtures to Z2+ and Z2-.
- Use wall plug (4) to power on transformer
- Download the Hinkley app to control dimmer settings. Refer to page 2 for app instructions
App Instructions
Downloading the Hinkley app
HINKLEY SMART FAN OPTIONS:
In addition to the included wall control, you can control your Hinkley fan through the Hinkley app.
- To use the app, download it for free from the App Store or Google Play.
- Open the app to and you will be prompted to create an account
- Enter all necessary information to create the account
- After account is created you will receive a verification code email to finish setting up the app (Check spam folder if email is not received)
- Confirm Bluetooth is enabled to allow the fan and app to connect to each other
- Click add a device on the home screen and select your device
- The app will then have you enter in wifi name and password
- Click done on the app to complete connecting the device
- The app will have options on the main screen for full device functions and setting automated timers/schedules.
- Scan the QR code below for more information on app operation
HINKLEY 33000 Pin Oak Parkway, Avon Lake, OH 44012 800.446.5539 / 440.653.5500 hinkley.com


















