ECOLAB S4000 Series Satellites
Installation Guide
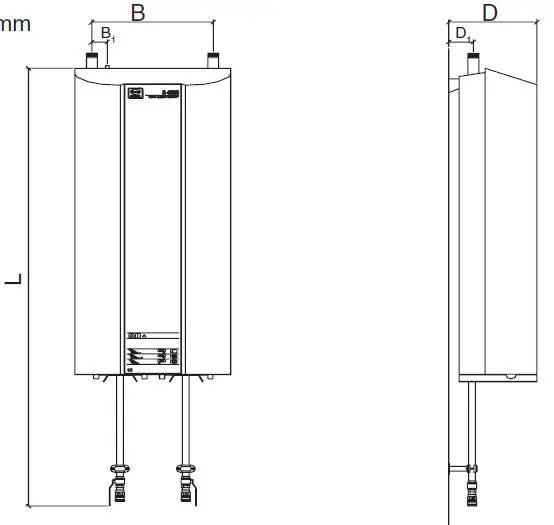
- L=1790mm, ÷ User Pack L=1330mm
- B=450mm
- B1=60mm
- D=340mm
- D1=95mm

- L=870mm, ÷ User Pack L=490mm
- B1=90mm
- B2=230mm
- D=217mm
- D1=52mm

- Placing/application
- MainStation and satellites must be place in frost-free rooms only.
- Free space around the main station and satellite: min. 1500mm.
- Water supply
- S4000/S4100: 1001/Min.
- Pressure: 2-4bar
- Max. temperature: 70oC
It is recommended to Install a mixing system in connection with the mastation to be able to control the water temperature.
- Air supply
- Air supply for main stations and satellites are to meet the following:
- Pressure: 5 – 10 Bar
- Consumption: 200l/min.
- Power supply
A 3 pole main switch should be installed close to the main station. Wiring diagram is placed in the control box of the main station.- Voltage: 3×400 V 50 Hz
- Motor protection: 8,9 A
- Fuse: 20 A/16 A time-lag
- Piping
The pipe system should be made of stainless steel pipes. The pipe joints should bemade in a way that makes separation possible in case of e.g. repairs, movement or similar. It is recommended that the pipes connected directly to the main station/satellite are not assembled until the main station/ satellite is placed on the wall.
Pipe connections
Main station Satellite
Water: 5/4″RG 3/4″ RG
Air: 1/4″ RG 1/4″ RG
Note: Satellites should be placed in a way that ensures that the pressure loss in the water conduit is max. 2 bar. - Assembly
N.B. Before installation of main stations and satellites, the pipe system must be flushed thoroughly.
Main station
For dimensions see Figure 1. It is recommended to assemble the main station in an appropriate height (approx. 1 m above the floor) on brick or concrete wall. Tighten the main station with the enclosed Screws and rawl plugs.
Satellite
For dimensions see Figure 2. It is recommended to assemble the satellite in an appropriate height (approx. 1m above the floor) on a brick or concrete wall.Tighten the satellite with enclosed the screws and raw plugs.



















