User Manual For Hunting Camera
1. Product Appearance

2. Product Components and Parts

- 32PCS IR LEDs
- Latch
- Microphone
- PIR sensor
- Lens
- LED indicator

- LCD Display Screen
- 8AA Batteries Depot
- Mode Switch
- USB port
- Card Slot
TF

- Stand Knob Port
- Power Interface
3. Install the battery
As shown in the figure below, open the upper and lower spring locks on the side of the device outwards, and the battery compartment will appear on the right side of the device. Put 8 AA alkaline batteries into the battery compartment in the direction of the positive and negative electrode identifiers of the battery. After debugging the working mode, close the battery compartment according to the above steps in reverse order.

Note: Please use the same brand of batteries with the same power each time. Do not mix batteries of different brands. When the power is low, please replace with new batteries in time.
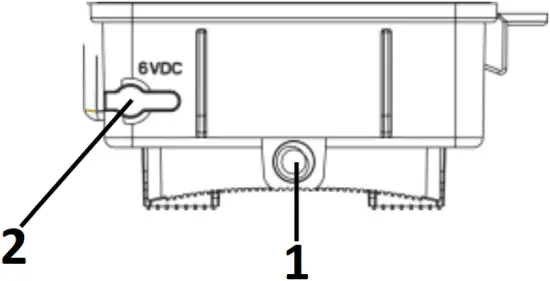
4. DC power supply mode
As shown in the figure below, the device can be powered by a 6V DC power adapter. This power supply mode can generally be used for testing equipment or debugging work mode.

Note:
Please don’t use non-standard power supply, in case of damage the device.
Please install the rubber port cover in time when the adapter is not used for power supply. To protect the device port.
This port has no charging function when using a power adapter. Do not use rechargeable batteries.
5. Insert the SD card

- Open the battery compartment of the device.
- Confirm that the device is off. (The switch is in the OFF position)
- Insert the TF card in the direction indicated
Note: Please use a better quality TF card on the market (Class10 and above speed is recommended). Do not use excessive force when inserting the TF card, and pay attention to the correct direction of the card.
6. User guides
1 Enter test mode: Open the battery compartment of the device, as shown in the figure below.

2 Put the switch in the TEST position to start the device and enter the test mode. The screen will be displayed when the device is turned on.

3 Device control panel

Menu: enter/exit the menu, return to the last operation/mode.
Replay: enter/exit playback mode.
Up: move the cursor up to select/switch to the recording mode.
Down: move the cursor down to select/switch to the photo mode.
Right: move the cursor to the right to select.
Left: move the cursor to the left to select.
Shooting: take photo or video.
Confirm: Confirm operation.




4 Test mode settings
Mode: Can be set to take photo/video/ photo+video.
Shooting interval: The shooting interval can be set between 5 seconds and 60 minutes.
PIR sensitivity: can be set to three levels of high, medium and low.
Number of photos: Can be set to 1/2/3.
Video length: It can be set between 3 seconds and 10 minutes.
Video resolution: 1920x1080P/1280x720P/640×480.
Language: Support multi-language interface.
System time setting: Set the system clock of the device.
Watermark: can be set to time & date / date / off.
Photo pixels: Can be set to 5M/8M/12M/16M/20M.
System: Display the firmware version number.
Video sound: can be set to turn on/off.
Time-lapse shooting settings: can be set to on/off.
Timer: timer shooting time can be set (start and end time).
Password setting: can be set to close or open (4-digit password).
Format: Format the SD card (data will be cleared).
Restore factory settings: The device parameters can be restored to the default state.
5 Enter ON mode
After setting the required working mode, pull the switch to ON mode to enter the formal working mode. After the countdown is 5 seconds, the LCD turns off, and the device can be placed in a suitable position and it can be used normally.

7. How to use the strap
Pass the tail of the strap through the strap opening of the back shell, then tie the straps to a suitable tree height, and pass the tail of the strap through the hardware buckle, just pull it tight.
8. Accessories: USB Cable, strap.
9. Notes
Only in the test mode can the menu parameters be adjusted.
If you have not taken pictures, try to put your camera in a place where there is no heat source.
Check the PIR sensitivity, for warm environmental conditions, set the sensor level to “low”, for cold weather use, set the sensor to “high”.
When the user forgets the password, press the MENU+REPLAY button at the same time and then turn it on to clear the original password.
















