Banggood Multi-functional Camera Operating Instructions
V17.2

Note: please read this instruction carefully before operating the device, thank you!

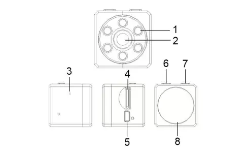
- .IR-Infrared night vision light
- Lens
- LED indicator
- TF/SD card slot
- USB port
- M-Mode button
- Power button
- Magnet
Note:
Please use more than 8GB TF card, and confirm the card format is FAT32, not NTFS.
Features
- FULL HD 1080P DV
- Small shape design, portable handheld DV
- It can be recorded in HD image at low illumination
- The battery power detected function effectively protects your camera and recording files
- Support record while charging, keep the camera plugged into a power adapter continuously for charging without battery life concern.
Product Operation Guide:
- When it is in low battery, the red and blue light will be turned off immediately after 5 seconds.
- Without TF card, the red and blue light will automatically turn off after 5 seconds.
- No work after boot, and it’ll automatically shutdown after 1 minute.
Charging:
The device is equipped with rechargeable lithium battery. When the power is weak, please charge it by below methods:
- Connect to a 5V charger;
- Connect to the power bank;
- Connect to the computer USB port.
Note: the red light flashes during charging and the red light keeps bright.
720P video not flashing:
Long press the power button for 2 seconds to boot, and the blue light turns on, it enters into the 720p video standby mode, click the power button once, blue light flashes 3 times and goes out, the device enters into the 720p video mode. During video recording, all lights are off. 5 minutes segment is saved automatically each video file and it continuous recording, loop recording, click the power button again to stop recording, and the blue light stays on, it return into standby mode.
1080P video not flashing:
The blue light on and in standby mode, press the mode button, the red and blue lights are on, it enters into the 1080p video standby mode. Click the power button once again, the blue light turns on and red light are flashing three times, all lights go out at the same time, entering the 1080p video recording. During video recording, all lights are off. 5 minutes segment is saved automatically each video file and it continuous recording, loop recording, click the power button again to stop recording, and the blue light stays on, it return into standby mode.
Photo:
Click the mode button 2 times, the red light turns on, and blue light turns out, then click the power button again, the red light flash once, and the 12 megapixels (4032 * 3024) are automatically saved.
Turn off the infrared light:
Open: in standby mode, press the power button for 2 second, the red light flashes 2 times, and the infrared night vision light turns on, which can be used for recording at night. Close: in any standby mode, Press the power button for 2 seconds, The red light flashes 3 times, and turn off the infrared night vision.
Motion detection mode (720p-1080p) :
720P Video Recording + Motion Detection: When the mini camera is in blue light standby mode, long press the M-button for 3 seconds, the blue indicator keeps bright and the red indicator light flashes 3 times and distinguishes, the device enter 720P motion detection video recording standby mode.
If there is a moving object appearing in front of the camera view, the blue light distinguishes and it goes into 720P motion detection video recording mode, 5 minutes segment is saved automatically each video file and it continuous recording, loop recording, when there is no movement, it will return to standby mode until power off.
1080P Video Recording + Motion Detection: When the mini camera is in red and blue light standby mode, long press the M-button, the red indicator flashes 3 times, then the red and blue light keep on, the device enter 1080P motion detection video recording standby mode.
If there is a moving object appearing in front of the camera view, both the blue and red light distinguish and it goes into 1080P motion detection video recording mode, 5 minutes segment is saved automatically each video file and it continuous recording, loop recording, when there is no movement, it will return to standby mode until power off.
Note:
- There is no any indicator light while recording.
- If you want to quit the motion detection video recording, short press any button, the device stops recording and saves the video file, it enters standby mode again.
Recording While Charging:
The charger or power bank can be used for recording while charging.
Reset:
The device is dead, the buttons are invalid, can not be used normally, and use a needle or other object to press the reset hole button to reset the device.
Shutdown:
In standby mode, long press the power button about 6 seconds, and the red and blue lights go out and it is shutdown.
In standby mode without any operation, 1 minute later it will automatically shutdown.
Time Settings:
Insert a TF/SD card, shutdown the camera and connect to the computer via USB data cable, the PC will automatically recognize the TF/SD TF/SD card, and create a TXT document (pictured
), edit the current time, such as format: 20180101192526 Y (NOTE: there is one blanking between 20180101192526 and Y), and save text files. Disconnect to the PC, boot, and start to record videos, video files will be displayed above the edited time.
If you don’t need the time watermark, just do the same thing above, it’s basically difference between the letter Y and the letter N of the tail.
The reference format is as following:
20180101192526 Y (time watermark display)
20180101192526 N (no time watermark display)
Connection computer:
In boot, standby and shutdown state, can be connected directly to the computer, connect the computer after can be used as a U disk, free file copy, cut and paste, delete, format the U disk.
A few seconds after the camera connect to the computer USB port, the computer will pop-up removable disk logo, the blue light to identify USB device can carry out data transmission, the red light flashing for being charged, the red light staying on for being charged fully.





















