BODY FLEX BRT5088 Sports Body Power Fly Wheel Resistance Cross-trainer

PLEASE KEEP THESE INSTRUCTIONS FOR FUTURE USE & REFERENCE. DO NOT DISCARD.
WARNING: SERIOUS INJURIES AND EVEN DEATH CAN OCCUR IF THE PROPER SAFETY PRECAUTIONS ARE NOT FOLLOWED.
The diagram below highlights and reviews many of the important Safety and Warning labels also found on the unit.
Please ensure any user of the unit familiarizes themselves with this Safety and Warning guidelines before use.
AWARNING! The use of this exercise equipment involves a RISK OF PHYSICAL INJURY as well as property damage, which can be minimized by observing the following guidelines:
- ALWAYS wear comfortable clothing and shoes with good traction.
- ALWAYS make sure all nuts and bolts are secured before use. TIGHTEN PEDAL HINGE BOLTS EVERY 30 DAYS.
- STOP EXERCISING if you become dizzy, nauseous, have irregular heartbeats or breathing difficulties. Contact your physician immediately.
- ALWAYS keep a large mat under the equipment to protect the floor or carpet.
- ALWAYS use your equipment in a warm, dry, level, well-lit and ventilated indoor area.
- ALWAYS keep body and clothing free and clear of moving parts.
- ALWAYS keep your equipment clean and free of dust, moisture, debris and loose objects.
- NEVER use the equipment if you are injured or have a physical condition that impairs your balance. DO NOT exercise under the influence of medication or alcohol.
- Keep all children away from this equipment. NEVER allow small children or pets to approach the equipment. It is not a toy.
- NEVER use the equipment if you exceed its weight limit of 275 lbs.
- NEVER use the equipment if it does not function properly.
- This equipment meets ASTM F1749 standards for fitness equipment
- Refer to the Owner’s Manual for additional warnings and safety information
- The possibility of serious injuries or death, or both (if applicable) if caution is not used.

AWARNING! DO NOT REMOVE THE SEAT FOR ANY REASON Exercising on this unit without the seat installed can result in SERIOUS INJURY. Ensure the seat is fully locked in place by tightening the knobs prior to use.
General Information
Safety
Before you undertake any exercise program, please be sure to consult with your doctor.
Frequent strenuous exercise should be approved by your doctor and proper use of your product is essential.
Excessive or incorrect training may result in health injuries.
Please read this manual carefully before commencing the assembly of your product or starting to exercise.
- Please keep all children away from this item when in use. Do not allow children to climb or play on this item when it is not in use.
- Supervise teenagers while they use this unit.
- For your own safety, always ensure that there are at least 3 feet of free space in all directions around your product while you are exercising.
- Regularly check to see that all nuts, bolts and fittings are securely tightened. Periodically check all moving parts for obvious signs of wear or damage.
- Any adjustment devices that could interfere with the user’s movement of this unit should not be left projecting.
- Clean only with a damp cloth, do not use solvent cleaners. Lubricate the moving parts of your unit every 30 days with a silicone-based grease or product.
If you are in any doubt, do not use your product; contact CUSTOMER SUPPORT. - Before use, always ensure that your product is positioned on a solid, hard-flat surface.
- Do not place on carpet. If necessary, use a rubber mat underneath to reduce the possibility of slipping.
- Always wear appropriate clothing and footwear such as training shoes when exercising. Do not wear loose clothing that could become caught in moving parts during exercise.
- Do not use this unit if it is not functioning properly or if it is not fully assembled.
- Do not use this unit for commercial purposes. This unit is for home use only.
- Before use, you must read and understand all instructions & warnings stated in this Owner’s Manual as well as post-ed on the equipment.
- It is the facility owner’s responsibility to properly instruct users on the proper operation of the equipment and to warn them of the potential hazards.
- If at any time during exercise you feel faint, dizzy or experience pain, stop and consult your physician.
Assembling Tools
- Ruler with both Metric and English measurements
- 2 x Adjustable Wrenches
- 1 x Philips (”Crosshead”) Screw Driver
Weight Limit
Your product is suitable for users weighing: 275 pounds or less
Storage and Use
Your product is intended for use in clean dry conditions. You should avoid storage in excessively cold or damp places as this may lead to corrosion and other related problems.
Warranty
Hupa International warrants your product is free of any defects in workmanship and materials for a period of 1 year for the frame and 90 days on all parts if the item is used for the intended purpose, properly maintained and not used commercially.
Any alterations or incorrect assembly of the product will void this warranty.
Proof of purchase must be presented for any warranty vali-dation (no exceptions).
This warranty applies to the original purchaser only and is not transferable.
This warranty covers parts damaged due to defect in work-manship and materials; it does not cover abuse or damages caused during use, storage or assembly. During the warranty period, Hupa International reserves the right to:
- provide replacement parts to the purchaser in an effort to repair the item.
- repair the product returned to our warehouse (at purchaser’s cost).
- replace the product if neither of the two previously
Questions
If you have any questions concerning the assembly of your item or if any parts are missing, please DO NOT RETURN THE ITEM TO THE STORE OR CONTACT THE RETAILER.
Our dedicated customer service staff can help you with any questions you may have regarding the assembly of this unit and can also mail you replacement parts.
Customer Support
Customer Support is open 9:00 a.m. to 5:00 p.m. (Pacific Time) Monday through Friday.
Please contact us by any of the following means :
Hupa International, Inc.
21717 Ferrero Parkway, Walnut, CA 91789
Telephone: 1 (888) 266 – 6789
Fax: 1 (909) 598 – 6707
Email: [email protected]
Before Assembly
WARNING
- Take a few minutes to familiarize yourself with the parts and hardware included with your product.
- The assembly may require two people.
- Check the frame for any damage and check any wiring (if present) for rips or tears. If you detect damage, rips, or tears, please contact our Customer Support Team before beginning any assembly.
- Make sure all the hardware needed is included.
- It is very important to follow the assembly instructions correctly and to make sure all parts are attached correctly and firmly tightened when the assembly process is complete.
- Parts that are not tightened correctly will seem loose and can cause irritating noises and will cause damage to the equipment.
PLEASE NOTE : Many of the parts and hard wares listed on the parts list are already pre-assembled or installed on the unit.
Nylon Lock Safety Nuts
- It is only necessary to tighten the bolts and nuts to “finger tight” during the assembly process. This will make it easier to complete certain steps by allowing more tolerance for all the parts to fit properly.
- Do not tighten all the nuts onto the bolts securely until after you have completed assembly of your product.
- Use wrenches, pliers, or ratchet and sockets to tighten the bolts and nuts.
- The Nylon Nut should thread onto the Hex Bolt until the end of the Hex Bolt has passed through the Nylon insert in-side the Nut. Please follow this guideline every time you see this Nylon Nut icon throughout the assembly steps.

Tools Required For Assembly
| Tool | Description/Purpose |
| Ruler (with both Metric and English measurements) QTY: 1 | Use to measure the length or size of hardware including bolts to ensure you are using the correct part. |
| Adjustable or flat wrenches QTY: 2 | Use to securely install parts including nuts and bolts. |
Part Listing
The following parts list describes all of the parts illustrated in the exploded diagram on the following page.
PLEASE NOTE: most of these parts are already pre-assembled on your unit.
# Description
- Main Frame
- Seat Post
- Rear Stabilizer
- Front Stabilizer
- L/05R Left/Right Handle Bar
- L/06R Left/Right Pedal
- Foot Pedal
- Pedal Connection Joint
- L/09R Left/Right Coupler Bar
- Pulse Handle Bar
- Monitor
- Center Post
- Rear Handle Bar
- Reinforcement Plate
- Cushion
- Seat Cushion Tube
- Arc Washer (M8)
- Cap Nut (M8)
- Carriage Bolt (M8x73 mm)
- Handlebar Axle
- Hex Bolt (M10x55 mm)
- Hex Bolt (M10x45 mm)
- Carriage Bolt (M10x57 mm)
- Washer (M8)
- Right Pedal Hinge Bolt (1/2”x89 mm)
- Left Pedal Hinge Bolt (1/2”x89 mm)
- Nylon Nut (M10)
- Cap Nut (M10)
- Left Nylon Nut (with BLACK inner nylon ring) (B0.5×20 S19)
- Right Nylon Nut (with White inner nylon ring) (B0.5×20 S19)
- Arc Washer (M10)
- Spring Washer (1/2″)
- Washer (M10)
- Bolt Cap (S17)
- Bolt Cap (S13)
- Knob Bolt (M8x36 mm)
- Knob Bolt (M12x30 mm)
- Knob Bolt (M8x37 mm)
- Pedal Tube
- Crankshaft
- Bolt (M8x50 mm)
- Washer (M8)
- Nylon Nut (M8)
- Bolt (M8x30 mm)
- Carriage Bolt (M8x45 mm)
- Bolt (M8x16 mm)
- Bushing (Φ28x4xΦ24x12xΦ16.1 mm)
- End Cap for Front Stabilizer
- Hex Bolt (M6x48 mm)
- Roller (Φ23x32xΦ6 mm)
- Nylon Nut (M6)
- End Cap for Rear Stabilizer
- End Cap (ф25 mm)
- Foam Roller
- Hand Pulse Sensor
- Screw (ST4.0x19 mm)
- End Cap (ф25 mm)
- Foam Roller
- Washer (M8)
- Square End Cap (30 mm)
- Bushing (Φ18x3xΦ14x7xΦ10.1 mm)
- Wire Plug
- Sleeve (Φ32xΦ25xL83 mm)
- Foam Roller
- Rectangular End Cap (25×40 mm)
- Rectangular End Cap (20×40 mm)
- Spring Washer (M8)
- Backrest Cushion Tube
- Friction Belt
- Screw (M5x12 mm)
- Main Frame Sensor Wire
- Center Post Sensor Wire
- Pulse Sensor Wire
- Wavy Washer
- Tension Control
Exploded View
The following diagram is provided to help you familiarize yourself with the parts and hardware that will be used during the assembly process.
PLEASE NOTE : : Not all of the parts and hardware you see here will be used while you are assembling the machine because some of these items are already pre-installed. Please use this page only as a reference guide for parts and hardware.
Hardware and Tool List
The following hardware is used to assemble your unit. Please take a moment to familiarize yourself with these items.
PLEASE NOTE: Most of these parts are already pre-assembled on your unit. Do not be alarmed if you see parts on this page that are not included in your hardware packet.
Bolt



Assembly STEP 1
REAR STABILIZER ASSEMBLY
With the help of an assistant, attach the Rear Stabilizer (#03) to the rear of the Main Frame (#01). Insert two Carriage Bolts (#23) through the Rear Stabilizer (#03) followed by the rear of the Main Frame (#01). Secure them together using two Arc Washers (#31) and two Cap Nuts (#28).
FRONT STABILIZER ASSEMBLY
Now, attach the Front Stabilizer (#04) to the front of the Main Frame (#01). Insert two Carriage Bolts (#23) through the Front Stabilizer (#04) followed by the front of the Main Frame (#01).Secure them together using two Arc Washers (#31) and two Cap Nuts (#28).
Note:
Please note that the Front Stabilizer (#04) has Front Rollers that spin for ease of relocating the unit.


Assembly STEP 2
Remove the Nylon Nuts (#27),Washers (#33) and Wavy Washers (#82) that are pre-assembled on the Handlebar Axle (#20) and set them aside as they will be used later in this step.
Insert the Handlebar Axle (#20) through the main frame. Make sure the Handlebar Axle (#20) is centered. If you encounter too much friction, try using WD40 or Vaseline as a lubricant.
Then attach one Wavy Washer (#82) on each side of the Handle-bar Axle (#20). Attach Left Coupler Bar (#09L) and Right Coupler Bar (#09R) to the main frame via the Handlebar Axle (#20). Again, use WD40 or Vaseline to reduce friction if needed. Once the Left Coupler Bar (#09L) and Right Coupler Bar (#09R) are correctly situated, fasten the end of the Handlebar Axle (#20) with a Washer (#33) and a Nylon Nut (#27) on each side. Then cap each end with a Bolt Cap (#34).


Note:
Make sure Left /Right Coupler Bar (#09L/09R) are at the correct side when its horizontal pivot tube, which is welded at the top, faces the REAR of the machine as seen from the user
Assembly STEP 3A
Remove Hex Bolts (#21) and Nylon Nuts (#27) that are pre-assembled on the Left/Right Couple Bar (#09L/09R) and set them aside as they will be used in later in this step.
Attach the Right Pedal Tube (#39) to the Right Coupler Bar (#09R). Secure with one Hex Bolt (#21) and one Nylon Nut (#27).
Repeat the this process on the LEFT side.
Remove Hex Bolts (#21) and Nylon Nuts (#27) that are pre-assembled on the Pedal Connection Joint (#08) and set them aside as they will be used in later in this step.
Align and attach the Pedal Connection Joint (#08) to the right Crankshaft (#40). Insert the Right Pedal Hinge Bolt (#25) with Wavy Washer (#82) through Pedal Connection Joint (#08) and Crankshaft. Secure the Right Pedal Hinge Bolt (#25) tightly into the Crankshaft (#40) by turning CLOCKWISE. Then, secure with one Spring Washer (#32) and a Right Nylon Nut [w/white inner nylon ring] (#30).
Attach the Pedal Connection Joint (#08) to the Right Pedal Tube (#39). Insert one Hex Bolt (#21) through the upper bracket of the Pedal Connection Joint (#08), followed by Right Pedal Tube (#39) then the lower bracket of the Pedal Connection Joint (#08). Secure them with one Nylon Nut (#27).
Attach three Bolt Caps (#34) over three Bolts as illustrated in the drawing.


Note :
Keep the Right/Left Pedal Hinge Bolt (#25/26) perfectly straight as they go through the Pedal Connection Joint (#08) and the Crankshaft (#40).
If the Right/Left Pedal Hinge Bolt (#25/26) are connected to the Crankshaft (#40) incorrectly, damage to the Right/Left Pedal Hinge Bolt (#25/26) and Crankshaft (#40) will occur.


Assembly STEP 3B
Repeat STEP 3A on the LEFT side of the machine and turning the Left Pedal Hinge Bolt (#26) COUNTER-CLOCKWISE.

Note :
Keep the Right/Left Pedal Hinge Bolt (#25/26) perfectly straight as they go through the Pedal Connection Joint (#08) and the Crankshaft (#40).
If the Right/Left Pedal Hinge Bolt (#25/26) are connected to the Crankshaft (#40) incorrectly, damage to the Right/Left Pedal Hinge Bolt (#25/26) and Crankshaft (#40) will occur.

Assembly STEP 4
On the right side, attach Right Pedal (#06R) to the Right Pedal Tube (#39) and secure them together using two Hex Bolts (#22) and two Nylon Nuts (#27).
Next, attach one Foot Pedal (#07) to the front of Right Pedal Tube (#39) using two Bolts (#41) and secure with four Washers (#59) and two Nylon Nuts (#43).
Repeat this process on the left side using Left Pedal (#06L) and one Foot Pedal (#07).


Assembly STEP 5
- CENTER POST
Remove the Bolts (#44) that are pre-assembled on Main Frame (#01) and set them aside as they will be used in later in this step.
Attach the Center Post (#12) to the Main Frame (#01) and secure them together by inserting two Bolts (#44) through the Center Post (#12) followed by the Main Frame (#01). Connect Main Frame Sensor Wire (#78) to the bottom end of Center Post Sensor Wire (#79). - PULSE HANDLEBAR
Attach Pulse Handle Bar (#10) to Center Post (#12). Insert one Carriage Bolt (#19) through Pulse Handle Bar (#10) followed by Center Post (#12).Secure them together using one Arc Washer (#17) and one Cap Nut (#18).

Assembly STEP 6
- COMPUTER
Remove the Screws (#77) that are pre-assembled on the back of the monitor and set them aside as they will be used later in this step. Connect upper end of Center Post Sensor Wire (#79) to the Wire (#11a) on the back of Monitor (#11). Being careful not to pinch any wires, tuck the connected wires down the opening and mount the Monitor (#11) to the Center Post (#12).Secure them together using two Screws (#77). Plug Pulse Sensor Wire (#80) into hole on the back of monitor (#11). - HANDLEBARS
Insert the Left Handlebar (#05L) through the Left Coupler Bar (#09L) and Right Handlebar (#05R) through the Right Coupler Bar (#09R). Select a height setting that is comfortable to the user, and make sure both handlebars are set at the same height. Secure Left and Right Handlebar (#05L/05R) in place with two Knob Bolts (#36).Attach the Bolt Caps (#35) over two Knob Bolts (#36) as illustrated in the drawing.

Assembly STEP 7
Remove Knob Bolt (#37) that is pre-assembled on the Main Frame (#01) and set it aside as it will be used in a later process.
Select the desired height and secure the Seat Post (#02) to the Main Frame (#01) using one Knob bolt (#37).
Attach the Seat Cushion Tube (#16) onto the trough of the Seat Post (#02) with it correctly aligned and inserted into the corresponding hole of Seat Post (#02), secure them together by using one Washer (#24) and one Knob Bolt (#38).
Attach the Backrest Cushion Tube (#68) onto the trough of the Seat Cushion Tube (#16), secure them together by using two Bolts (#44), two Spring Washers (#67) and two Washers (#42).


Assembly STEP 8
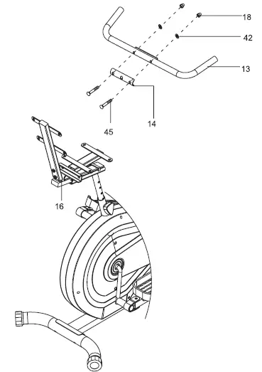
Attach the Rear Handle Bar (#13) to the bracket on the Seat Cushion Tube (#16) and place the Reinforcement Plate (#14) over the middle of the Rear Handle Bar (#13). Attach by inserting two Carriage Bolts (#45) through and securing with two Washers (#42) and two Cap Nuts (#18).


Assembly STEP 9
Remove Bolts (#46) and Washers (#42) that are pre-assembled on the two Cushions (#15) and set them aside as they will be used in a later process.
Attach one Cushion (#15) to the Seat Cushion Tube (#16). Secure with four Washers (#42) and four Bolts (#46).
Attach another Cushion (#15) to the Backrest Cushion Tube (#68). Secure with four Washers (#42) and four Bolts (#46).


THE ASSEMBLY PROCESS IS NOW COMPLETE.
However, for your own safety, please make sure to read this entire Owner’s Manual which includes safety instructions and warnings, as well as any safety/warning labels affixed to the
product before use. For your safety , please visually and functionally inspect and test the unit after assembly is complete.
Tension Adjustment

1-inch Distance
(use this measurement as a “test” when you gently tug on Friction Belt (#69) away from flywheel)
NOTE:
In order to clearly show parts used in Tension Adjustment process, this drawing has been modified and does not show all parts nor full assembly.
WARNING:
If the Friction Belt (#69) is tightened to an extremely tight/taut setting against the flywheel, you may risk damaging, over-wearing, over-stressing and/or breaking the Friction Belt (#69).
Please see below for more details to prevent damage and breakage.
- FOR TENSION ADJUSTMENT: Simply turn the Tension Control (#83).
- To increase tension (+ higher resistance and more difficult), turn clockwise.
- To decrease tension (- lower resistance and less difficult), turn counter-clockwise.
***WARNING: Please turn the Tension Control (#83) gently. DO NOT use excess force to avoid damaging any parts of your unit.
- FOR CALIBRATING TENSION ADJUSTMENT SYSTEM:
- Gently turn Tension Control (#83) counter-clockwise and keep turning until the knob can no longer turn
(i.e. decrease the tension fully). - Adjust the Friction Belt (#69) so that when you gently tug it out away from flywheel, there is a 1″ distance of slack between the Friction Belt (#69) and the flywheel as shown in diagram.
***WARNING: It is important you check for this minimum of 1-inch distance to avoid damaging, over-wearing, over-stressing and/or breaking the Friction Belt (#69).
- Gently turn Tension Control (#83) counter-clockwise and keep turning until the knob can no longer turn
NOTE:
It is normal for the Friction Belt (#69) to periodically loosen due to regular use.
Repeat the below process anytime you feel it may be necessary to recalibrate the tension adjustment system.
Computer Operation

Key Function
MODE :
Press this button to select the display function of your choice.
RESET :
Hold MODE button for 3 seconds to reset all values to zero.
Operation Procedures
FUNCTIONS
- SCAN : The monitor will then rotate displaying through the following functions: time, speed, distance, calories and odometer. Each function will display for 5 seconds.
- TIME : Displays the total amount of time using the machine.
- SPEED : Displays current speed.
- DISTANCE : Displays the distance traveled.
- CALORIES : Displays the amount of calories burned.
- PULSE : Hold the pulse sensor and read your heart rate per minute.
NOTE
- If the battery symbol on the display lights up, please replace the batteries.
- The monitor will automatically shut off if there is no signal received after 2 minutes .
- The monitor will auto-power on when exercise/motion input is detected for 4 seconds, or, if the MODE button is pressed.
- When you stop exercising for 4 seconds, the display will auto-stop calculating and “STOP” will appear on the screen. The monitor will automatically start calculating when you start to exercise and “STOP” will disappear.
Specifications
| AUTO SCAN | Every 6 seconds |
| TIME | 0:00-99:59 min |
| SPEED | 0.0-99.9 Miles/Hour |
| CALORIES | 0.0-999.9 Cal |
| DISTANCE | 0.0-99.99 Miles |
| BATTERY TYPE | 2 pcs of AA |
| PULSE RATE | 60-240 BPM |
| OPERATING TEMP | 32°F – 104°F |
| STORAGE TEMP | 14°F – 140°F |
*IMPORTANT NOTE :
Please remember that the functions in this computer are only meant to be tools to monitor your workout progress; they are not meant to provide medical information or be used for medical purposes.
Please consult a physician before beginning any workout program.

How To Install and Replace Batteries
- Open the battery door on the back of the computer.
- The computer operates on two AA batteries (included). Refer to the illustration to install or replace the batteries.
NOTE :
- Do not mix a new battery with an old battery.
- Use the same type of battery. Do not mix an alkaline battery with another type of battery.
- Rechargeable batteries are not recommended.
- Battery disposal should be handled according to all state and federal laws and regulations.
- Do not dispose of batteries in fire.
NOTES (Regarding the Computer Monitor):
Warning: This device complies with Part 15 of the FCC Rules.
Operation is subject to the following two conditions:
- This device may not cause harmful interference.
- This device must accept any interference received, including interference that may cause undesired operation.
Caution:
This equipment has been tested and found to comply with the limits for a Class B digital device, pursuant to part 15 of the FCC Rules.
These limits are designed to provide reasonable protection against harmful interference in a residential installation. This equipment generates, uses and can radiate radio frequency energy and, if not installed and used in accordance with the instructions, may cause harmful interference to radio communications. However, there is no guarantee that interference will not occur in a particular installation. If this equipment does cause harmful
interference to radio or television reception, which can be determined by turning the equipment off and on, the user is encouraged to try to correct the
interference by one or more of the following measures:
- Reorient or relocate the receiving antenna.
- Increase the separation between the equipment and receiver.
- Connect the equipment into an outlet on a circuit different from that to which the receiver is connected.
- Consult the dealer or an experienced radio/TV technician for help.
Safety and Maintenance
Safety & Warning
- Make sure all nuts, bolts, and screws are tightened prior to use.
- Be sure that all adjustment locking devices and safety devices are properly engaged prior to use!
- Never over-tighten the above-mentioned devices and parts to avoid damage to the unit.
- Check for loose parts and components and make proper adjustments prior to use.
- Check to see if there are any tears or bends in the welding or metal prior to use. If tears or bends are found, DO NOT use the unit and contact our CUSTOMER SUPPORT.
- Extreme care must be taken to not allow your feet, fingers, hair, clothing, and/or any loose items to be snagged into any portion of the bike when the unit is in motion. Failure to follow these instructions could result in serious injury, including the loss of fingers.
- Always wait for the pedals and other moving parts (which can gain great momentum during riding) to come to a complete stop before dismounting the unit to avoid serious injury.
How To (Emergency) Stop
NOTE: Always wait for the pedals and/or any other moving parts (which can gain great momentum during riding) to come to a complete stop before dismounting the unit to avoid serious injury.
- To reduce speed on the bike, you may use the combinations of your feet on the Left/Right Pedals (#06R/06L) and your hands on the Left/Right Handlebars (#05L/#05R) to gently and safely apply counter-momentum.
- Wait for the pedals to come to a complete stop.
- Now you may safely dismount the unit
How To Move/Transport The Bike For
NOTE:
To safely move, transport, and/or store the unit, please seek the help of capable assistants (minimum of 2 people).
The unit has integrated Front Rollers purposely intended to help ease this process.
- Position one person on each side at the front of the bike toward the handle Bar (one person on the left, and one on the right).
- Have each person use both hands to grip the corresponding Pulse Handle Bar (#10). (These are the safest areas to avoid injury during this process.)
- Have both people simultaneously lift the rear end of the unit, leaving the weight and pressure into the front of the unit and onto the Front Rollers to move/transport the unit to the desired area.
Maintenance & Care
- Please review all safety instructions and warnings in this entire Owner’s Manual, as well as any safety/warning labels affixed to the product before use.
- Do not use solvent cleaners. If you are in any doubt, do not use your cleansing product; contact CUSTOMER SUPPORT.
- The specific parts on your unit which may see possible signs of wear after prolonged use are listed as follows (please check these parts before each use): Foot Pedals (#07); Left/Right Handlebars (#05L/#05R).
- For any replacement warning labels, please contact our CUSTOMER SUPPORT at
1 (888) 266-6789 or 1 (909) 598-9876, or mail in a written request to:
Hupa International, Inc. 21717 Ferrero Parkway Walnut, CA 91789
More detailed information about how to reach our CUSTOMER SUPPORT may be found on Page 2 of the Owner’s Manual under the “CUSTOMER SUPPORT” section.
Troubleshooting
(AFTER COMPLETE ASSEMBLY)
| Troubleshoot Area | Solution |
| Calories/Distance/ Time (Etc.) | If the computer is not displaying the CALORIES/DISTANCE/TIME/(ETC.) functions (or you are getting inaccurate readings), please adjust the following:
|
| Computer Display | If the computer display is blank & not displaying any data (or does not appear to power on), please adjust the following:
|
| Hand Pulse Signal | If the computer is not picking up your hand pulse signal (or you are getting inaccurate readings), please adjust the following:
|
Warm-Up Instructions
Before use, you must read and understand all instructions & warnings stated in this Owner’s Manual as well as posted on the equipment. Before beginning any exercise program including the following flexibility exercises, please consult withnyour physician.
The following flexibility exercises are provided to you as a means to prevent injury while you are exercising.
A proper warm-up routine decreases the chance of injuring your muscles while you are exercising.
Please take the time to do these flexibility exercises before and after each time you exercise.
Groin Stretch
- Sit with your knees flexed and soles of feet together.
- Hold your ankles and bend at your hips (keep your back straight) as you press your knees toward the floor with your elbows.

Hamstring Stretch
- Sit with your left leg extended and bend your right leg at the knee as you place the sole of your right foot against the inner thigh of your extended leg.
- Flex the foot of your extended leg (toes pointed toward ceiling) and gently bend forward from your hips; keep your back straight.
- Reach your hands on your extended leg as far as possible and then switch legs and repeat.

Trunk Twister
- Sit with your leg extended and bend your right knee as you cross your right leg over your left leg. Your right foot of your extended leg foot should be flat on the floor alongside your left knee.
- Place your left arm on the outside of your right leg and pull against that leg while twisting your trunk as far as possible to the right. Place your right hand on the floor behind your but-tocks. Reverse leg positions and repeat.

Groin Stretch
- Lie on your back and raise your right leg as you clasp both hands under the back of the knee. Keep your left leg straight.
- Gently pull your right leg toward your trunk without raising your upper body. Switch leg positions and repeat.

Trunk Flexion, Prone
- Assume the depicted position on your hands and knees. Stretch your hands out in front of you and then slowly start to pull them back in toward your body as you tuck your chin and arch your back upward.
- Return to the starting position slowly.


Warm-Up Instructions
Shoulder Stretch
- Bring your right hand over your right shoulder to the upper back and bring your left hand under your left shoulder to the upper back.
- Try to reach your fingertips. If you are not able to reach your fingertips, use a towel as an extension of your hands and gently pull one hand toward the other. Reverse arm positions and

Quadriceps Stretch
- Stand on your left leg and hold onto a support with your left hand.
- Flex your right leg behind you, grasp your ankle or foot with your right hand and pull your foot toward your buttocks. Keep your back straight and right knee pointed down.
Repeat on the other leg.
Calf Twister
- Place both hands against a wall to aid your balance. Press the ball of your left foot against the wall and keep the heel of the same foot rested on the floor (make sure your left knee is bent).
- Slowly start to straighten your left knee and you will feel the muscles in your left calf stretch. Switch leg positions and repeat.

THANK YOU FOR YOUR PURCHASE MODEL NO.: BRT5088
Please fill in the information below and keep this manual along with your sales receipt as proof of purchase.
- Serial Number :
- Date of Purchase :
- Retailer :
Hupa International, Inc. 21717 Ferrero Parkway Walnut, CA 91789
Phone : 1 (888) 266-6789
Fax : 1 (909) 598-6707
Email : [email protected]































