Drager Ammonia Sensor
Manual for use and maintenance

Ammonia Sensor
Ag/MIS/UmEn-2553-04/18 Rev 1.3 P/N: 116660
Ammonia Sensor
Manual for use and maintenance
Revision: N.1.3 of 04.2021 Ag/MIS/UmEn-2553-04/18 Rev 1.3 (MIS) Product Software: N/A
This manual for use and maintenance is an integral part of the apparatus together with the attached technical documentation.
This document is destined for the user of the apparatus: it may not be reproduced in whole or in part, committed to computer memory as a file or delivered to third parties without the prior authorization of the assembler of the system. Munters reserves the right to effect modifications to the apparatus in accordance with technical and legal developments.
1 Introduction
1.1 Disclaimer
Munters reserves the right to make alterations to specifications, quantities, dimensions etc. for production or other reasons, subsequent to publication. The information contained herein has been prepared by qualified experts within Munters. While we believe the information is accurate and complete, we make no warranty or representation for any particular purposes. The information is offered in good faith and with the understanding that any use of the units or accessories in breach of the directions and warnings in this document is at the sole discretion and risk of the user.
1.2 Introduction
Congratulations on your excellent choice of purchasing an Ammonia Sensor! In order to realize the full benefit from this product it is important that it is installed, commissioned and operated correctly. Before installation or using the sensor, this manual should be studied carefully. It is also recommended that it is kept safely for future reference. The manual is intended as a reference for installation, commissioning and day-to-day operation of the Munters equipment.
1.3 Notes
Date of release: July 2010 Munters cannot guarantee to inform users about the changes or to distribute new manuals to them. NOTE All rights reserved. No part of this manual may be reproduced in any manner whatsoever without
the expressed written permission of Munters. The contents of this manual are subject to change without notice.
2 Installing the Sensor
This document illustrates how to install the Ammonia Sensor to a Platinum, Platinum Pro, TRIO, or AC-2000 3G Controller. Refer to the specific controller documentation for information on using the sensor.
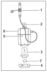
2.1 Components
A power supply comes with the sensor.
- Connector and coupling
- Mounting lug
- Sensor element
- Mounting ring
- LED green/yellow
- Housing
- Dust cap
2.2 Installation and Mounting
- Place the sensor in the housing, attach the mounting ring and dust cap.
- Hang the sensor in the center of the area to be monitored.
o Do not place the center near sources of fresh air (for example a door or curtain).
o Make sure that animals or birds can not reach the sensor.
o Do not use the electrical cable to suspend the sensor! - Screw the connector to the coupling.
- From the coupling:
o Wire the sensor to the Platinum, Platinum Pro, AC-3000 3G, and TRIO as shown below. The sensor can be up to 50 meters from the controller.
o Wire the sensor to the power source as shown below.
2.3 LED
The Ammonia Sensor has a single LED. After applying power, wait 30 minutes for the unit to warm up.
- Green LED: Unit is functioning.
- Yellow blinking LED: Unit is not operating.
2.4 Wiring

NOTE Munters supplies the resistor.
1. Connect:
- Sensor green wire to power supply black wire. Connect the combined wire to COM.
- Sensor white wire (12VDC power source) to power supply red wire (12V).
- Sensor brown wire:
Platinum:
- Connect the wire to a 10 kohm resistor.
- Connect the resistor to port T7, T8, or T9
- Place a jumper on the T7, T8, or T9 pins (sets the HUM mode).

Platinum Pro
- Connect the wire to a 10 kohm resistor.
- Connect the resistor to port IN1, IN2, IN3, or IN4.
- On the Analog Input Card, set the corresponding dipswitch to the 5V position (dipswitch 2).

AC-2000 3G: No further steps are required.
TRIO
- S port. In the corresponding dipswitch, raise dipswitch 3 (analog input).
- COM port.
- Unit includes a 10 kohm resistor (comes installed)

2.5 Maintenance and Care
The Ammonia Sensor requires little or no maintenance. The following are general maintenance rules:
- Avoid damaging the Ammonia Sensor box
- Avoid contact with water or other fluids (when you clean the poultry house, remove the box)
- Ensure sensor grill on front box panel is clean and clear of obstructions
CAUTION Water and cleaning agents may damage the sensor; therefore minimize exposure while washing, or using water for any purpose. Disconnect and remove the sensor before cleaning the barn. Failure to do so can result in the warranty’s cancellation.
3 Specifications
Specification | Value |
Max. sensor storage period | See date on the label, sensor box or shipping carton |
Warranty for sensor and sensing head | 1 year from delivery date |
Expected sensor service life | 3 years from commissioning, Expiry date see label on sensor |
Power supply | Rated voltage 24 V (15 V bis 30 V DC); DC < 0.2 Vss |
Current consumption | <10 mA |
Signal transmission to the control unit | 0 V to 10 V corresponds to 0 bis 100 ppm |
Detection range | 0 to 100 ppm NH3 |
Signal transmission resolution | 0.5 ppm |
Accuracy | 1.5 ppm or ±10 % of the measured value |
Response time | T50 ≤30 seconds |
Cross sensitivities | On request |
Cable type | 3-wire |
Temperature range | 0 °C to + 50 °C |
Humidity | 15 % to 95 % r. h. |
Air pressure | 700 hPa to 1,300 hPa |
Dimensions WHD | 100 mm x 200 mm x 50 mm |
Sensor head material | PA |
Weight approx. | 450 g |
Chemical resistance | Typical detergents, disinfectants, alcohol, surfactants, peracetic acid, soap |
Protection class | IP 65 |
Electrical safety | CE Mark |
4 Warranty
Warranty and technical assistance
Munters products are designed and built to provide reliable and satisfactory performance but cannot be guaranteed free of faults; although they are reliable products they can develop unforeseeable defects and the user must take this into account and arrange adequate emergency or alarm systems if failure to operate could cause damage to the articles for which the Munters plant was required: if this is not done, the user is fully responsible for the damage which they could suffer.
Munters extends this limited warranty to the first purchaser and guarantees its products to be free from defects originating in manufacture or materials for one year from the date of delivery, provided that suitable transport, storage, installation and maintenance terms are complied with. The warranty does not apply if the products have been repaired without express authorisation from Munters, or repaired in such a way that, in Munters’ judgement, their performance and reliability have been impaired, or incorrectly installed, or subjected to improper use. The user accepts total responsibility for incorrect use of the products.
The warranty on products from outside suppliers fitted to the sensor, (for example cables, wiring, etc.) is limited to the conditions stated by the supplier: all claims must be made in writing within eight days of the discovery of the defect and within 12 months of the delivery of the defective product. Munters has thirty days from the date of receipt in which to take action, and has the right to examine the product at the customer’s premises or at its own plant (carriage cost to be borne by the customer).
Munters at its sole discretion has the option of replacing or repairing, free of charge, products which it considers defective, and will arrange for their despatch back to the customer carriage paid. In the case of faulty parts of small commercial value which are widely available (such as bolts, etc.) for urgent despatch, where the cost of carriage would exceed the value of the parts, Munters may authorise the customer exclusively to purchase the replacement parts locally; Munters will reimburse the value of the product at its cost price.
Munters will not be liable for costs incurred in demounting the defective part, or the time required to travel to site and the associated travel costs. No agent, employee or dealer is authorised to give any further guarantees or to accept any other liability on Munters’ behalf in connection with other Munters products, except in writing with the signature of one of the Company’s Managers.
WARNING: In the interests of improving the quality of its products and services, Munters reserves the right at any time and without prior notice to alter the specifications in this manual.
The liability of the manufacturer Munters ceases in the event of:
- dismantling the safety devices;
- use of unauthorized materials;
- inadequate maintenance;
- use of non-original spare parts and accessories.
Barring specific contractual terms, the following are directly at the user’s expense:
- preparing installation sites;
- providing an electricity supply (including the protective equipotential bonding (PE) conductor, in
accordance with CEI EN 60204-1, paragraph 8.2), for correctly connecting the equipment to the mains electricity supply; - providing ancillary services appropriate to the requirements of the plant on the basis of the information supplied with regard to installation;
- tools and consumables required for fitting and installation;
- lubricants necessary for commissioning and maintenance.
It is mandatory to purchase and use only original spare parts or those recommended by the manufacturer. Dismantling and assembly must be performed by qualified technicians and according to the manufacturer’s instructions.
The use of non-original spare parts or incorrect assembly exonerates the manufacturer from all liability.
Requests for technical assistance and spare parts can be made directly to the nearest Munters office. A full list of contact details can be found on the back page of this manual. Munters Israel 18 HaSivim Street Petach-Tikva 49517, Israel Telephone: +972-3-920-6200 Fax: +972-3-924-9834
Ag/MIS/UmEn-2553-04/18 Rev 1.3
www.munters.com
Australia Munters Pty Limited, Phone +61 2 8843 1594, Brazil Munters Brasil Industria e Comercio Ltda, Phone +55 41 3317 5050, Canada Munters Corporation Lansing, Phone +1 517 676 7070, China Munters Air Treatment Equipment (Beijing) Co. Ltd, Phone +86 10 80 481 121, Denmark Munters A/S, Phone +45 9862 3311, India Munters India, Phone +91 20 3052 2520, Indonesia Munters, Phone +62 818 739 235, Israel Munters Israel Phone +972-3-920-6200, Italy Munters Italy S.p.A., Chiusavecchia, Phone +39 0183 52 11, Japan Munters K.K., Phone +81 3 5970 0021, Korea Munters Korea Co. Ltd., Phone +82 2 761 8701, Mexico Munters Mexico, Phone +52 818 262 54 00, Singapore Munters Pte Ltd., Phone +65 744 6828, South Africa and Sub-Sahara Countries Munters (Pty) Ltd., Phone +27 11 997 2000, Spain Munters Spain S.A., Phone +34 91 640 09 02, Sweden Munters AB, Phone +46 8 626 63 00, Thailand Munters Co. Ltd., Phone +66 2 642 2670, Turkey Munters Form Endüstri Sistemleri A., Phone +90 322 231 1338, USA Munters Corporation Lansing, Phone +1 517 676 7070, Vietnam Munters Vietnam, Phone +84 8 3825 6838, Export & Other countries Munters Italy S.p.A., Chiusavecchia Phone +39 0183 52 11
© Munters AB, 2018



















