dol SENSORS 604270 53 Ammonia sensor

![]() | For other language variants of this document we refer to www.dol-sensors.com or your local dealer. |
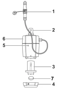
Product description
DOL 53 consists of an electro chemical diffusion sensor and signal processing electronics. DOL 53 works like a “nose”. DOL 53 only transmits the concentration measured at the sensor. The measuring unit ppm (parts per million) is a volume concentration. DOL 53 is connected to suitable control unit over a 3-wire cable. The measuring signal during normal operation is between 0 V and 10 V.
DOL 53 is used for the stationary continuous monitoring of ammonia concentrations in the ambient air under atmospheric conditions.

- Connector and coupling
- Mounting lug
- Sensor
- Mounting ring
- LED green/yellow
- DOL 53 housing
- Dust cap
- Before using this product, carefully read the Technical user guide.
- Strictly follow the Technical user guide. The user must fully understand and strictly observe the instructions. Use the product only for the purposes specified in this document.
- Do not dispose of the Technical user guide. Ensure that they are retained and appropriately used by the product user.
- Comply with all local and national rules and regulations associated with this product. · Use only genuine spare parts and accessories. Otherwise the proper functioning of the product may be impaired.
- Do not use a faulty or incomplete product. Do not modify the product.
- Notify the supplier in the event of any component fault or failure.
Warning symbols and their meaning
The following warning symbols are used in this document to identify and highlight the relevant warning texts which require increased care and attention on the part of the user. The meanings of the warning symbols are defined as follows:
![]() | Indicates a potentially hazardous situation which, if not avoided, could result in physical injury, or damage to the product or environment. It may also be used to alert against unsafe practices. |
Indicates additional information on how to use the product.
Product survey
140247 DOL 53 Ammonia sensor
140248 DOL 53 Replacement sensor head
140236 DOL 53 dust filter (5 pcs.)
DOL 53 measures the ammonia in the house’s air. Can be used for registration and control of ammonia levels in the air.
140238 DOL 53 protection against water
Kit for water protection for DOL 53.
140284 DOL 53 cable with connector (2 m)
2 meter wire with plug for DOL 53.
140285 DOL 53 test equipment gas, complete
Test equipment for NH3 measurement with DOL 53.
140299 DOL 53 test gas adapter
Installation
DOL 53 should be installed at the centre of the area to be monitored. This ensures optimum measurements. DOL 53 must be installed out of reach of animals, accessible for maintenance work. It must be suspended from the lug at the end of the housing or alternatively with a mounting bracket on the wall.
![]() | DOL 53 must not be mounted near the fresh air supply, in front of windows or doors, large electrical consumers (electromagnetic influences), in exhaust air ducts, behind air washers or behind screens. DOL 53 must not be mounted in inaccessible areas. Protect against direct exposure to dust or splash water. For wall mounting, unobstructed gas entry must be ensured. |
DOL 53 must not be suspended from the electric cable.

Figure 2: DOL 53 must be mounted vertically with the sensor pointing down; ±30° at a location with low vibration and, as far as possible, stable temperatures.
Connection
![]() | Installation, servicing and troubleshooting of all electrical equipment must be carried out by qualified personnel in compliance with the applicable national and international standard EN 60204-1 and any other EU standards that are applicable in Europe. |
The scope of delivery includes an approx. 2.5meter-long cable connection (5) for the electrical installation up to the junction box (1). For the electrical supply and signal transmission to the control unit cables with adequate cross-section must be used. Connect the cable from the installation kit to the connector (4) and in the junction box (1). Connect the GND cable in the control unit to protective earth.
The cable must be routed in a manner to obtain a “water loop” (2) for water to drop off Insert the cable into the clamping device (3) at the mounting lug. Do not stress the cable.
- Remove the sensor element from the metal container.
- Insert it into DOL 53 (6).
- Secure it with the mounting ring (7).
Wire colour Configuration White +24 Volt Green GND Brown 0 V to 10 V output 
Commissioning
Switch on the supply voltage at the control unit. After activation or after an interruption of the supply voltage the sensor must warm up for a defined period. This is indicated by the LED flashing green/yellow.
- The warmed up fault-free operation of DOL 53 is indicated after max. 30 minutes by the green LED being illuminated.
- A faulty operating state is indicated by the yellow LED flashing.
LED indication
| LED indication | Sensor status | |
YELLOW flashing slowly | Electrical supply faulty or inter- rupted. | Check installation for cable break. Check opera- tion of the power supply unit of the control unit. Check electric voltage in the junction box or at the sensing head with a multi-meter. |
| Short circuit in supply cable. | Check installation for short circuit. | |
| Overvoltage or undervoltage at the sensing head. | Check operation of the power supply unit of the control unit. Check electric voltage at the sensing head with a multi-meter. | |
| Incorrect voltage (e.g. 230 V AC) applied, electronics damaged. | Replace the sensing head. | |
| Sensing head faulty. | Replace the sensing head, contact supplier. | |
Alternating GREEN and YELLOW | Sensor is warning up to be ready for measurements, signal level 0 V. | No activity. Flashing stops after max. 30 minutes. |
Constant GREEN | Normal operation. | |
GREEN flashing quickly | Concentration measurement in the test window 40 ppm to 60 ppm, re- sult of a test with 50 ppm test gas. | No activity. Flashing stops after max. 5 minutes. |
Constant YELLOW | Internal fault detected by electron- ics, signal level 0 V. | Replace the sensing head. |
YELLOW flashing | Measured concentration below – 5 ppm, below the measuring range, signal level 0 V. | If the fault continues for more than 1 day, replace sensor. |
GREEN flashing | Measured concentration above 105 ppm outside the measuring range. | Ventilate with fresh air. |
Alternating GREEN and YELLOW | Age monitoring, sensor older than 3 years, service life expired, see date on sensor rating plate. | Replace the sensor. |
Troubleshooting instructions
| Error | Cause | Remedy |
| Packaging is damaged. | Damage in transit. | Contact the supplier in case the sensor is damaged. |
| No measured value at the con- trol unit. | Electrical connection faulty or in- terrupted. | Check installation for cable break. |
| DOL 53 aligned incorrectly, not vertical. | Install DOL 53 in accordance with mount- ing instructions, vertical ±30°. | |
| Sensor element faulty or used up. | Replace sensor element. | |
| Sensing head faulty. | Replace the sensor. | |
| Incorrect measured value at the control unit. | Loss of sensitivity. | Check sensitivity with test gas. |
| Filter clogged. | Replace filter. | |
| Unexpected measured value at the control unit. | Brief interference pulses <5 sec- onds. | Interference caused by electrical equip- ment, e.g. lighting, fans or heaters. Iden- tify device and suppress interference. |
| Unstable measured value. | Dynamic signal fluctuations with a period of more than 5 seconds can arise from turbulence with fresh air. | No activity, continue to monitor. |
| Wet sensor. | DOL 53 was cleaned with water. | Wipe DOL 53 dry. |
| Condensation. |
Maintenance
The sensor element must be replaced after 3 years of operation at the latest. End of service life see date on the sensor element rating plate.
![]() | Replace the dust filter in front of the sensor element if clogged. A clogged filter prolongs the response time of the sensor element. This affects the sensitivity. The dust filter must always be replaced prior to checking the sensitivity. |
![]() | DOL 53 must be removed during cleaning and disinfection. After removing the connector, screw on the screw plug. A missing screw plug leads to corrosion of the connector. |
Cleaning
Clean DOL 53 surface with lukewarm water. Check for mechanical damage.
Disposal
Dispose of the product in accordance with the applicable rules and regulations.
Technical data
| Max. sensor element storage period | See date on the label, sensor element box or shipping carton |
| Warranty for sensor element and DOL 53 | 2 years from delivery date |
| Expected sensor element service life | 3 years from commissioning, expiration date see sensor element rat- ing plate |
| Supply voltage | Rated voltage 24 V (18 V to 30 V DC); DC < 0.2 Vss |
| Power consumption | <10 mA |
| Signal transmission to the control unit | 0 V to 10 V corresponds to 0 to 100 ppm |
| Measurement range | 0 to 100 ppm NH3 |
| Signal transmission resolution | 0.5 ppm |
| Accuracy | 1.5 ppm or ±10% of the measured value |
| Response time T50 | <30 seconds |
| Long-term drift | < ±10 % of the measured value/year |
| Cable type | 3-wire |
| Ambient temperature (operation) | 0 °C to + 50 °C |
| Ambient humidity (operation) | 15% to 95% RH |
| Air pressure (operation) | 700 hPa to 1300 hPa |
| Ambient temperature (storage) | -20°C to +60°C |
| Dimensions (H x W) | 155mm x 75mm |
| Housing material | PA |
| Weight approx. | 450 g |
| Chemical resistance | Typical detergents, disinfectants, alcohol, surfactants, peracetic acid, soap |
| Protection class | IP 65 |
| Compliance | CE |
![]() | Danger of damage to the sensor. The sensor must not be transported unpacked in air traffic. The sensor can lose its measuring sensitivity |
Dimensioned sketch

dol-sensors a/s Agro Food Park 15 DK-8200 Aarhus N T: +45 7217 5888 F: +45 7217 5959 www.dol-sensors.com























