SPORTSTECH SX400 Speedbike

Dear customer,
We are pleased you chose a device from the SPORTS TECH product range. SPORTS TECH sports equipment offers you high quality and new technology. In order to fully use the potential of your device and be able to enjoy it for many years, please read this manual carefully before starting up and beginning of training, and use the device according to the instructions. The operational safety and function of the device can only be guaranteed if the safety instructions in this user manual are observed. We shall not assume any liability for damages resulting from improper use or incorrect operation.
- Make sure that ALL persons using the device have read and understood this user manual. Keep this manual close to the device.
- Adhere to ALL Safety Advices in this manual.
- NEVER overexert yourself or others when using the device.
This manual represents a status at press date. It is subject to changes without notice and to errors and omissions
Our video tutorials for you!
Assembly, use, disassembly.

- Scan the QR code
- Watch videos
- Start fast and safely
Link to the videos:
https://service.innovamaxx.de/sx400_video
We are also on social media!
Get the latest product information, training content and much more on our:
Instagram-page
https://www.instagram.com/sportstech.de
Facebook-page
https://www.facebook.com/sportstech.de
IMPORTANT SAFETY INSTRUCTIONS
Basic precautions should always be followed, including the following safety instructions when using the speedbike: Read all instructions before using this equipment.
WARNING:
Before beginning any exercise program consult your physician. This is especially important for people who are over 35 years old or who have pre-existing health problems. Read all instructions before using any fitness equipment. Do not operate this exercise equipment without properly fitted guards, as the moving parts can present a risk of serious injury if exposed.
- The device is intended exclusively for home use and not for commercial purposes.
- Place and use the device on a dry, even and non-slip surface with at least 2.5 meters space around it.
- DO NOT place any sharp objects around the speed bike.
- To protect the floor or carpet from damage or discoloration, place a special floor mat under the unit.
- Keep children and pets away from the speed bike at all times. DO NOT leave unattended children in the same room with the machine.
- Handicapped or disabled persons should not use the speed bike without the presence of a qualified health professional or physician.
- If the user experiences dizziness, nausea, chest pain, or any other abnormal symptoms, STOP the workout at once. CONSULT A PHYSICIAN IMMEDIATELY.
- Position the speed bike on a clear, level surface away from water and moisture. Place mat under the unit to help keep the machine stable and to protect the floor.
- Use the speed bike only for its intended use as described in this manual. DO NOT use any other accessories not recommended by the manufacturer.
- Assemble the machine exactly as the descriptions in the instruction manual.
- Check all bolts and other connections before using the machine for the first time and ensure that the trainer is in the safe condition.
- Hold a routine inspection of the equipment. Pay special attention to components which are the most susceptible to wear off, i.e. connecting points and wheels. The defective components should be replaced immediately. The safety level of this equipment can only be maintained by doing so. Please don‘t use the speed bike until it is repaired well.
- NEVER operate the speed bike if it is not functioning properly.
- This machine can be used for only one person’s training at a time.
- Do not use abrasive cleaning articles to clean the machine. Remove drops of sweat from the machine immediately after finishing training.
- Always wear appropriate workout clothing when exercising. Running or aerobic shoes are also required.
- Before exercising, always do stretching first
- The power of the machine increases with increasing the speed, and the reverse. The machine is equipped with adjustable knob, which can adjust the resistance.
EXPLODED DRAWING/SPARE PARTS LIST
At the following link you will find the exploded drawing and the spare parts list:
https://service.innovamaxx.de/sx400_spareparts

ASSEMBLY INSTRUCTIONS
Preparation
- Before assembling make sure that you will have enough space around the item.
- Use the present tooling for assembling.
- Before assembling please check whether all needed parts are available. Under the QR code/link on the previous page you will find a numbered exploded drawing with all the individual parts that make up the speed bike.
Assembly Instruction:

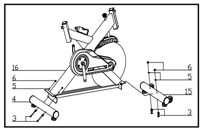
Attach the front stabilizer (pt.15) to the main frame (pt.16) using two sets of Ø10 arc washers (pt.5), M10 domed nuts (pt.6) and M8*90 carriage bolts (3). Attach the rear stabilizer (pt.4) to the main frame (pt.16) using two sets of Ø10 arc washers (pt.5), M10 domed nuts (pt.6) and M8*90 carriage bolts (3).
Slide the vertical seat post (pt.10) into the seat post housing on the main frame (pt.16). Then slide the seat post (pt.12) into the vertical seat post (pt.10),then secure using a flat washer 1 (20) and L-shaped knob (19).You will have to slacken the knurled section of the L-shaped knob (pt.19) and pull the knob back and then select the desired height. Release the knob and retighten the knurled portion. Now fix the seat (pt.13) to the seat post (pt.12) as shown, and tighten the bolts around the screws under the seat.
Slide the handlebar post (pt.17) into the handlebar post housing on the main frame (pt.16). You will have to slacken the knurled section of the L-shaped knob (pt.26) and pull the knob back and then select the desired height. Release the knob and retighten the knurled portion. Then fix the handlebar (pt.18) with a flat washer 1 (20) and L-shaped knob (19)
ATTENTION: YOU SHOULD FIX THE HANDLEBAR TIGHTLY!
Fix the computer (pt.78) onto the computer holder with a bolt (pt.55) and connect the plug (A1&A2).
The pedals (pt.1 L & pt.1 R) are marked „L“ and „R“ – Left and Right. Connect them to their appropriate crank arms. The right crank arm is on the right-hand side of the cycle as you sit on it. Note that the right pedal should be threaded on clockwise and the left pedal counter-clockwise.
WARNING
Firmly tighten all component parts and pre-assembled parts! Re-check the tightness before each training session!
Adjusting the Tension:
Increasing or decreasing the tension allows you to add variety to your workout sessions by adjusting the resistance level of the bike. To increase tension and increase resistance (requiring more strength to pedal), turn the Emergency Brake & Tension Control Knob (#30) to the right. To decrease tension and increase resistance (requiring less strength to pedla), turn the Emergency Brake & Tension Control Knob (#30) to the left.
Using the Emergency Brake Function:
The same knob that allows you to adjust the tension of the bike also doubles as the Emergency Brake. Use this safety feature in any situation where you would need to get off the bike and/or stop the bike’s flywheel. To use the Emergency Brake function in any situation you would need it in, firmly press down on the Emergency Brake & Tension Control Knob (#30).
ADJUSTMENT
- To adjust the seat height, slacken the spring knob on the vertical post stem on the main frame and pull back the knob. Position the vertical seat post for the desired height so that holes are aligned, then release the knob and retighten it.
- To move the seat forward in the direction of the handlebar or backwards away from it, loosen the adjusting knob and washer and pull the knob back. Slide horizontal seat post into desired position. Align holes and then retighten the adjusting knob.
- To adjust the handlebar height, slacken the spring knob and secondary knob and pull both knobs back. Slide the handlebar post along the housing on the main frame to the desired height and, with the holes aligned correctly, tighten the spring adjusting knob and then the secondary knob.
STRETCHING EXERCISE
Before each workout you should stretch your muscles for at least 5-10 minutes to warm them up sufficiently. Repeat the following stretching exercises five times. Stretching before training helps improve flexibility and reduces the risk of injury.


- HEAD ROLLS
Rotate your head to the right for one count, feeling the stretch up the left side of your neck, then rotate your head back for one count, stretching your chin to the ceiling and letting your mouth open. Rotate your head to the left for one count, then drop your head to your chest for one count. - SHOULDER LIFTS
Lift your right shoulder toward your ear for one count. Then lift your left shoulder up for one count as you lower your right shoulder. - SIDE STRETCHES
Open your arms to the side and lift them until they are over your head. Reach your right arm as far toward the ceiling as you can for one count. Repeat this action with your left arm. - QUADRICEPS STRETCH
With one hand against a wall for balance, reach behind you and pull your right foot up. Bring your heel as close to your buttocks as possible. Hold for 15 counts and repeat with left foot. - INNER THIGH STRETCH
Sit with the soles of your feet together and your knees pointing outward. Pull your feet as close to your groin as possible. Gently push your knees toward the floor. Hold for 15 counts. - TOE TOUCHES
Slowly bend forward from your waist, letting your back and shoulders relax as you stretch toward your toes. Reach as far as you can and hold for 15 counts. - HAMSTRING STRETCHES
Extend your right leg. Rest the sole of your left foot against your right inner thigh. Stretch toward your toe as far as possible. Hold for 15 counts. Relax and then repeat with left leg. - ALF / ACHILLES STRETCH
Lean against a wall with your left leg in front of the right and your arms forward. Keep your right leg straight and the left foot on the floor; then bend the left leg and lean forward by moving your hips toward the wall. Hold, then repeat on the other side for 15 counts.
EXERCISE INSTRUCTIONS
Workout Phase:
After the stretching and warm-up exercises, begin the 20-30 minute workout phase. After regular use, the muscles in your legs will become stronger. Work to your but it is very important to maintain a steady tempo throughout. The rate of work should be sufficient to raise your heart beat into the target zone shown on the graph below.
Recovery phase:
This should be at least 12 minutes for most people This stage is to let your Cardio-vascular System and muscles wind down. This is a repeat of the warm up exercise e.g. reduce your tempo, continue for approximately 5 minutes. The stretching exercises should now be repeated, again remembering not to force or jerk your muscles into the stretch. As you get fitter you may need to train longer and harder. It is advisable to train at least three times a week, and if possible space your workouts evenly throughout the week.
MUSCLE TONING:
To tone muscle while on your Speed Bike you will need to have the resistance set quite high. This will put more strain on our leg muscles and may mean you cannot train for as long as you would like. If you are also trying to improve your fitness you need to alter your training program. You should train as normal during the warm up and cool down phases, but towards the end of the exercise phase you should increase resistance, making your legs work harden than normal. You may have to reduce your speed to keep your heart rate in the target zone.
WEIGHT LOSS:
The important factor here is the amount of effort you put in. The harder and longer you work the more calories you will burn. Effectively this is the same as if you were training to improve your fitness, the difference is the goal.
USE:
The tension control knob allows you to alter the resistance of the pedals. A high resistance makes it more difficult to pedal, a low resistance makes it easier. For the best results set the tension while the bike is in use.
CONSOLE OPERATION MANUAL
Display function:
| Item | Description |
| Time | Displays user workout time. Display range 1:00 ~ 99:00 |
| Speed | Displays user workout speed. Display range 0.0 ~ 99.9 |
| Distance | Displays user workout distance. Display range 1.0 ~ 999.0 |
| Calories | Displays calories consumption during workout. Display range 1.0 ~ 999.0 |
| Heart Rate | Displays user pulse during workout. If the heart rate exceeds a predeter- mined value, the monitor warns with an alarm. |
| Rpm | Revolution per minute. Display range 0 ~ 999 |
Button functions:
| Item | Description |
| Joggle wheel – Up | Adjust function value or selection up. |
| Joggle wheel – Down | Adjust function value or selection down. |
| Mode | Confirm setting or selection. |
| Reset | Hold on for 2s, monitor will reboot. During setting or Stop mode, press it to go back to main menu. |
| Start/Stop | Start or stop workout. |
OPERATION PROCEDURE
Power On:
To start up or to change the battery, open the back of the battery compartment and insert 4 AA batteries. Press the RESET button for 2 seconds, then the monitor will turn on accompanied by a 1 second beep. LCD will show all segments for 2s, then display wheel diameter and unit for 1s. Then go to USER setting mode. Without any signal input for 4 minutes, monitor will go to Sleeping mode. Press any key to wake up the monitor.
User data setting:
Use the rotary button to select one of 4 user profiles (U1-U4). Select “EDIT YES” and then press the MODE button to confirm. Set gender/age / height/weight with the rotary button to access the workout menu. To change a user profile or create a new one, press the RESET button for 2 seconds (earlier settings willl then be overwritten).
Workout mode selection:
Use joggle wheel to select workout mode as: Target Time-> Target Distance-> Target Calories-> Target H.R.
Quick start
- Start workout directly, TIME begins to count up. DISTANCE/ CALORIES/ RPM/ SPEED & HEART RATE will display value accordingly.
- The character animation only shows USER, it will skip to the next figure as per 0.1KM (or ML).
- Press the START/STOP button to stop the workout, STOP icon is blinking, all values will remain.
- During the workout, it is invalid to press the RESET /Joggle wheel / ENTER button.
- In STOP mode, press the RESET button, and monitor return to the function setting page.
Target Time

- Use joggle wheel to set Target TIME (preset value=10:00), press START/STOP to workout in Target Time mode.
- TIME begins to count down from Target value, DISTANCE/ CALORIES/ RPM/ SPEED & HEART RATE will display value accordingly.
- The character animation only show USER, it will skip to next figure as per one fifth of the preset Time.
- Press START/STOP button to stop workout, STOP icon is blinking, all value will remain.
- During workout, it is invalid to press RESET /Joggle wheel /ENTER button.
- In STOP mode, press RESET button, monitor return to function setting page.
Target Distance

- Use joggle wheel to set Target DISTANCE (preset value=5.0), press START/STOP to workout in Target Distance mode.
- DISTANCE begins to count down from Target value, TIME/ CALORIES/ RPM/ SPEED & HEART RATE will display value accordingly.
- The character animation only show USER, it will skip to next figure as per one fifth of the preset Distance.
- Press START/STOP button to stop workout, STOP icon is blinking, all value will remain.
- During workout, it is invalid to press RESET /Joggle wheel /ENTER button.
- In STOP mode, press RESET button, monitor return to function setting page.
Target Calories

- Use joggle wheel to set Target CALORIES (preset value=100), press START/STOP workout in Target Calories mode.
- CALORIES begins to count down from Target value, TIME/DISTANCE/RPM/SPEED & HEART RATE will display value accordingly.
- The character animation only show USER, it will skip to next figure as per one fifth of the preset Calories.
- Press START/STOP button to stop workout, STOP icon is blinking, all value will remain.
- During workout, it is invalid to press RESET /Joggle wheel /ENTER button.
- In STOP mode, press RESET button, monitor return to function setting page.
Target HR

- Use joggle wheel to set Target PULSE (preset value=100), press START/STOP to workout in Target HR. Mode. Keep both hands hold on hand grips.
- TIME begins to count up, DISTANCE/ CALORIES/ RPM/ SPEED & HEART RATE will display value accordingly.
- The character animation only show USER, it will skip to next figure as per 0.1KM (or ML).
- If the measured heart rate reading is 50% above the target heart rate, the arrow at the top right of the screen points upwards and flashes to indicate that the user is too fast. If the measured heart rate is 50% below the target heart rate, this arrow flashes pointing downwards to indicate that the user can speed up.
- Press the START/STOP button to stop the workout, STOP icon is blinking, all value will remain.
- During the workout, it is invalid to press the RESET /Joggle wheel /ENTER button
- In STOP mode, press the RESET button, monitor returns to the function setting page.
APPLICATION SOFTWARE (APP)
You can download the app using the QR codes shown here or search in your store. Minimum compatibility specifications for mobile device; android 5.0 or higher with Bluetooth 4.0, iOS 8.0 or higher.
Check out Kinomap for 7 days now for free or choose the FREE iConsole app!
Notes on using the App:
The apps presented do not belong to SPORTSTECH. We expressly disclaim all liability of any kind whatsoever for third-party software and are not responsible for their content, code or for any loss or damage arising from the use of them. If you use third-party resources, you are subject to their terms and conditions and licenses and are no longer protected by our privacy policy or our security measures. Please remember to turn on the Bluetooth feature on your device.
The QR code at the beginning of the manual will guide you to various YouTube tutorials. There you can access more information about the App and the device.
DISPOSAL
Dear customer,
As an end user, you are legally obliged to collect waste electrical and electronic equipment and batteries as well as accumulators separately from municipal waste. We want to make this as easy as possible for you. Please note the information on this page and on the back. Notes on EU directive 2012/19/EU (in Germany implemented in ElektroG (Law about electric and electronic devices); elsewhere implementation may differ) We advise owners of electric and electronic equipment that waste electrical and electronic equipment must be collected separately from municipal waste in accordance with the applicable legal regulations. The symbol of a crossed-out garbage can, which is shown on waste electrical and electronic equipment, also indicates the obligation to collect this waste separately.
B. Notes on disposal and symbols for an electrical appliance based on EU Directive 2006/66/ EU (in Germany in accordance with the Battery Act (BattG); elsewhere, an implementation may differ) Old batteries and accumulators must not be disposed of with household waste. As an end user, you are legally obliged to return used batteries. The symbol with the crossed-out garbage can means that you are not allowed to dispose of old batteries in the household waste. Use the official collection points for this, such as the collection points of public waste disposal carriers. You can also return used batteries to retail outlets, provided they sell batteries. If the symbol Cd, Hg, or Pb is displayed under the symbol of the crossed-out garbage can, this is an indication that the battery contains either cadmium, mercury or lead. These are toxic heavy metals that not only pose significant risks to the environment but also to human health.
Recycling loop
Packaging material can be conveyed back to the raw material cycle. Dispose of packaging material in accordance with legal provisions. Information can be retrieved from the return or collections systems of your community.
CONFORMITY
Sportstech Brands Holding hereby declares that the radio system type is compliant with EU Directive 2014/53 / EU. The full text of the EU declaration of conformity is available at the following internet address: https://service.innovamaxx.de/sx400_conformity
Verkauf durch / Distributed by / Distribuido por / Distribué / Distribuito da / Verkoop via Sportstech Brands Holding GmbH
Potsdamer Platz 11
10785 Berlin
+49 30 220 663 520
http://www.sportstech.de
















