Ti-SALES SBCV-OM1-17 Surgebuster Check Valve
VAL-MATIC® VALVE AND MANUFACTURING CORP.
905 Riverside Dr.
- Elmhurst, IL 60126 Phone (630) 941-7600
- Fax (630) 941-8042 www.valmatic.com
VAL-MATIC’S SURGEBUSTER CHECK VALVE OPERATION, MAINTENANCE, AND INSTALLATION
INTRODUCTION
The SurgebusterCheck Valve has been designed to give years of trouble-free operation. This manual will provide you with the information needed to properly install and maintain the valve and to ensure long service life. The valve is opened by the fluid flow in one direction and closes automatically to prevent flow in the reverse direction.
An optional backflow actuator may be mounted on the bottom of the valve to allow manual backflow through the valve in the reverse direction.
Optional Mechanical Indicators and Limit Switches may be mounted on the valve cover to provide local and remote position indications.
The valve is of the swing check type utilizing an angled seat and fully encapsulated resilient disc. It is capable of handling a wide range of fluids including flows containing suspended solids. The Size, Flow Direction, Maximum Working Pressure, and Series No. are stamped on the nameplate for reference.
CAUTION
Do not use valve for line testing at pressures higher than nameplate rating or damage to valve may occur.
The “Maximum Working Pressure” is the non-shock pressure rating of the valve at 150oF. The valve is not intended as an isolation valve for line testing above the valve rating.
RECEIVING AND STORAGE
Inspect valves upon receipt for damage in shipment. Unload all valves carefully to the ground without dropping. Do not allow lifting slings or chains to come in contact with the seat area; use eyebolts or rods through the flange holes on large valves.
WARNING
Do not use threaded holes in cover for lifting the valve. Serious injury may result.
Valves should remain crated, clean and dry until installed to prevent weather-related damage. For long-term storage greater than six months, the rubber surfaces of the disc should be coated with a thin film of FDA-approved grease. Do not expose the disc to sunlight or ozone for any extended period.
FIGURE 1. SURGEBUSTER CHECK VALVE
DESCRIPTION OF VALVE OPERATION
The valve is designed to prevent reverse flow automatically. During system flow conditions, the movement of the fluid forces the disc to the open position allowing 100% un-restricted flow area through the valve. Under reverse flow conditions, the disc rapidly returns to the closed position to prevent reverse flow.
Several optional features are a backflow actuator, mechanical indicator, and limit switch. All of these options ship loose of the valve and require field installation.
INSTALLATION
Correct installation of the Surgebuster is important for proper operation. It may be installed in either horizontal or vertical flow-up applications. However, when horizontal, the valve must be installed with the nameplate facing up and the cover level. In all installations, the flow arrow cast in the valve cover must be pointed in the direction of flow during normal system operation.
FLANGED ENDS: Flanged valves can be mated with raised or flat-faced pipe flanges equipped with full-face or ring-type resilient gaskets. The valve and adjacent piping must be supported and aligned to prevent cantilevered stress on the valve. Once the flange bolts or studs are lubricated and inserted around the flange, tighten them uniformly hand tight. The tightening of the bolts should then be done in graduated steps using the crossover tightening method. Recommended lubricated torque values for use with resilient gaskets (75 durometers) are given in Table 1. If leakage occurs, allow gaskets to absorb fluid and check torque and leakage after 24 hours.
Do not exceed bolt rating or extrude gasket.
INSTALLATION
Correct installation of the Surgebuster is important for proper operation. It may be installed in either horizontal or vertical flow-up applications. However, when horizontal, the valve must be installed with the nameplate facing up and the cover level. In all installations, the flow arrow cast in the valve cover must be pointed in the direction of flow during normal system operation.
FLANGED ENDS: Flanged valves can be mated with raised or flat-faced pipe flanges equipped with full-face or ring-type resilient gaskets. The valve and adjacent piping must be supported and aligned to prevent cantilevered stress on the valve. Once the flange bolts or studs are lubricated and inserted around the flange, tighten them uniformly hand tight. The tightening of the bolts should then be done in graduated steps using the crossover tightening method. Recommended lubricated torque values for use with resilient gaskets (75 durometers) are given in Table 1. If leakage occurs, allow gaskets to absorb fluid and check torque and leakage after 24 hours.
Do not exceed bolt rating or extrude gasket.
CAUTION
The use of ring gaskets or excessive bolt torque may damage valve flanges.
| Table 1. Flange Bolts Torques | |||
| Valve Size (in) | Bolt Dia (in) | Recom. Torque (ft-lbs) | Max Torque (ft-lbs) |
| 3 | 5/8 | 25 | 90 |
| 4 | 5/8 | 25 | 90 |
| 6 | 3/4 | 30 | 150 |
| 8 | 3/4 | 40 | 150 |
| 10 | 7/8 | 45 | 205 |
| 12 | 7/8 | 65 | 205 |
| 14 | 1 | 80 | 300 |
| 16 | 1 | 80 | 300 |
| 18 | 1 1/8 | 100 | 425 |
| 20 | 1 1/8 | 100 | 425 |
| 24 | 1 1/4 | 150 | 600 |
| 30 | 1 1/4 | 160 | 600 |
| 36 | 1 1/2 | 300 | 900 |
| 42 | 1 1/2 | 300 | 900 |
| 48 | 1 1/2 | 300 | 1000 |
VALVE CONSTRUCTION
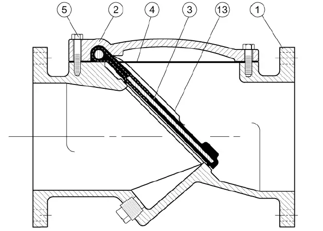
The standard Surgebuster Check Valve is constructed of rugged cast iron with a rubber encapsulated disc. See the specific Materials List submitted for the order if other than standard cast iron construction. The disc is the only moving part assuring long life with minimal maintenance. The general details of construction are illustrated in Figure 2. The body (1) is flanged for connection to the pipeline with an open-top sealed with a cast cover (2). The disc (3) and disc accelerator (13) are retained by the cover. 
| Item | Description | Material |
| 1 | Body | Ductile Iron – 250 psi Cast Iron – 150 psi |
| 2 | Cover | Ductile Iron – 250 psi Cast Iron – 150 psi |
| 3 | Disc* | Steel with Buna-N Facing |
| 4 | Cover Seal* | Buna-N or Non-Asbestos |
| 5 | Cover Bolt | Alloy Steel |
| 13 | Accelerator | Stainless Steel |
| *Recommended Spare Part | ||
FIGURE 2. CHECK VALVE CONSTRUCTION
MAINTENANCE
The SurgeBuster Check Valve requires no scheduled lubrication or maintenance. For service or inspection, the valve can be serviced without removal from the line.
VALVE INSPECTION: If inspection of the valve is required, follow the Disassembly Instructions given on page 3.
TROUBLESHOOTING
Several problems and solutions are presented below to assist you in troubleshooting the valve assembly in an efficient manner.
- Leakage at Bottom Actuator: Remove line pressure and exercise the actuator. If leak persists, replace seals in the actuator; see the Backflow Actuator Seal Replacement Procedure on page 4.
- Leakage at Cover or Flanges: Tighten bolts, and replace the cover seal.
- Valve Leaks when Closed: Inspect disc for damage and replace. Inspect metal seating surface and clean if necessary.
- Valve Does not Open: Check for obstruction in valve or pipeline; see Disassembly procedure on page 4. Operating pressure may be less than cracking pressure. If less than 0.5 psi, review the application with the factory.
- Valve Slams Closed: Add an additional accelerator.
DISASSEMBLY
The valve can be disassembled without removing it from the pipeline. Or for convenience, the valve can be removed from the line. All work on the valve should be performed by a skilled mechanic with proper tools and a power hoist for larger valves. Disassembly may be required to inspect the disc for wear or the valve for deposits.
WARNING
The line must be drained before removing the cover or pressure may be released causing bodily harm.
- Relieve pressure and drain the pipeline. Refer to Figure 2 on page 2. Remove the cover bolts (5) on the top cover.
- Pry cover (2) loose and lift-off valve body. 14” and larger valves have tapped holes in cover for lifting eyes.
- Remove disc (3) and inspect for cracks, tears or damage in rubber sealing surface.
- Clean and inspect parts. Replace worn parts as necessary and lubricate parts with FDA grease.
RE-ASSEMBLY
All parts must be cleaned. Gasket surfaces should be cleaned with a stiff wire brush in the direction of the serrations or machine marks. Worn parts, gaskets and seals should be replaced during reassembly.
- Wipe clean and dry the seating surface on the body (1). Apply a coating of compatible (food grade) grease to the sealing bead on the disc (3). Lay disc (3) over seat with beaded seating surface directed down.
- Lay disc accelerator (13) over center of disc hinge. If two accelerators are provided, stack them over the center of the disc hinge.
- Lay cover gasket (4) and cover (2) over bolt holes and disc hinge. Where o-ring seal is provided, place the o-ring into body groove. O-ring may be held in place with compatible grease for re-assembly. Food-grade grease should be used for standard Buna-N o-rings. For EPDM
o- rings, silicone grease should be used. - Insert lubricated bolts (5) noting that the bolts in the hinge area are longer than the other cover bolts.
- Cover bolts should be tightened to the following specifications during assembly.
Table 2. Valve Cover Bolt Torque Valve Size Torque (ft-lbs) 2”-2.5” 1/2″ 75 3” 7/16” 50 4” 1/2″ 75 6” 5/8” 150 8” 5/8” 150 10” 7/8” 400 12-20” 7/8” 400 24” 1” 500 30” 1 1/8” 600 36” 1 1/4” 900 42” 1 1/2″ 1400 48” 1 1/2” 1400
BACKFLOW ACTUATOR FIELD INSTALLATION AND MAINTENANCE (OPTIONAL)
BACKFLOW ACTUATOR OPERATION:
An optional backflow actuator assembly is available which can be easily installed in the field. The actuator is not designed to operate at the valve’s Maximum Working Pressure rating. Therefore, prior to using the actuator, close the pump isolation valve and bleed off line pressure. To operate, turn the handle clockwise. This will open the valve disc allowing backflow through the valve. The handle should turn easily. When the actuator is fully extended into the valve, the disc will be partially open. Upon completion of the back flushing operation, turn the handle counter-clockwise and the valve will automatically return to the closed position. Lock the actuator in the closed position with the jam nut provided. The system is again ready for normal operation.
WARNING
Relieve line pressure before using backflow actuator or damage may occur.
BACKFLOW ACTUATOR FIELD INSTALLATION: The backflow actuator is supplied as an optional assembly from the factory, which is shipped loose with the valve.
- Depressurize and drain the pipeline. WARNING
Removal of the bottom plug while under pressure may cause bodily harm. - Score the coating around and remove the pipe plug in the bottom boss of the valve. Valve must be restrained. Removal torque requires a 2-ft long socket wrench or ½”-sq. drive impact wrench at minimum. Pipe plugs on 8” and larger valves may require the use of a cheater bar in order to remove. Heating the pipe plug can loosen thread sealant and reduce torque. Valves can be provided with corrosion-resistant plugs for lower removal torques on request.
- Inspect the backflow rod and place in the non-extended position. (The rod should extend about 1″ past the end of the brass bushing.) Apply Teflon thread sealant to brass threads.
- Insert the threaded end of the assembly into the valve boss. Slowly turn the assembly into the boss taking care not to cross-thread the bushing. Continue turning the assembly into the valve for a tight fit.
BACKFLOW ACTUATOR SEAL REPLACEMENT: There are two parts (8 & 9) on the backflow actuator that are subject to wear. To replace the seals, the pipeline must first be depressurized and drained. Next, remove the backflow assembly from the valve by turning the brass bushing (6) counter-clockwise. Disassemble the actuator as follows:
- Remove one of the vinyl caps (12).
- Remove the T-Handle (10) and jam nut (11) from the rod (7).
- Remove the rod (7) from the bushing (6) by screwing in the rod fully clockwise and pulling the rod through the valve end of the bushing (6).
- Lubricate new seals with FDA-approved grease and install in the bushing end grooves.
- Clean, lubricate, and reinstall rod in bushing.
- Re-install jam nut (11) and T-Handle (10).
- Place vinyl cap (12) on handle (10).
- Apply Teflon thread sealant to bushing and carefully thread into valve taking care not to cross-thread the bushing

FIGURE 3. BACKFLOW ACTUATOR ASSEMBLY
| Backflow Actuator Parts List | ||
| Item | Description | Material |
| 6 | Bushing | Lead-Free Brass |
| 7 | Rod | Stainless Steel |
| 8 | Rod Wiper* | Molythane |
| 9 | O-Ring | Buna-N |
| 10 | Handle | Stainless Steel |
| 11 | Jam Nut | Brass |
| 12 | Cap* | Vinyl |
| *Recommended Spare Part | ||
MECHANICAL INDICATOR (OPTIONAL)
The mechanical indicator is an option that fits into the cover and can easily be installed in the field by going through the following steps. The mechanical indicator is used to visually indicate when the valve is opened or closed.
- Depressurized and drain the pipe.
WARNING Removal of the pipe plug while under pressure may cause bodily harm. - Score the coating around and remove the pipe plug from the cover. Valve must be restrained. Removal torque requires a 2-ft long socket wrench or ½”-sq. drive impact wrench at minimum. Heating the pipe plug can loosen thread sealant and reduce torque. Valves can be provided with corrosion-resistant plugs for lower removal torques on request.
- Apply pipe joint compound to indicator body (21) threads.
- Insert the indicator body (21), without the indicator plate (27), into the valve cover and tighten. Make sure that two of the tapped holes in the indicator body (21) are aligned with the valve and pipeline. This will ensure the proper orientation of the indicator plate.
- Remove the two socket head screws (31) from the indicator body (21).
- Slide the indicator plate (27) over the indicator rod (23) and spring (28).
- Align the indicator plate (27) as shown on the back of this card and secure with the 5mm socket head screws (31).
Connect the spring (28) to the indicator plate (27) notch
FIGURE 4. MECHANICAL INDICATOR ASSEMBLY
| Mechanical Indicator Parts List | ||
| Item | Description | Material |
| 21 | Body | Brass |
| 22 | Bushing | Brass |
| 23 | Rod | Stainless Steel T316 |
| 27 | Plate | Stainless Steel T316 |
| 28 | Spring | Stainless Steel T302 |
| 32 | Screws | Stainless Steel T316 |
LIMIT SWITCH (OPTIONAL)
The limit switch is used in conjunction with the Mechanical Indicator. The standard limit switch is Allen Bradley #802B-CSACXSXC3. The limit switch is SCADA (Supervisory Control and Data Acquisition) compatible for applications requiring open/close indication.
NEMA Ratings: 1, 2, 4, 6, 6P, 12, 13
UL Ratings: 5 AMPS, 1/10 HP, 125 or 250 VAC,
Installation:
- Attach limit switch assembly to indicator using the supplied screws (34) and bracket (31).
- Position the assembly so that the switch trips when the valve is closed. The switch needs to be engaged approx. 15 degrees to trip.
- Connect wiring to either the normally open or normally closed contact as shown in the schematic diagram.

FIGURE 5. LIMIT SWITCH ASSEMBLY
BOTTOM MOUNTED OIL DASHPOT FIELD INSTALLATION AND MAINTENANCE (OPTIONAL)
DASHPOT FIELD INSTALLATION: The bottom dashpot is supplied as an optional assembly from the factory. This unit provides control of the disc’s final 10% travel to the closed position to reduce valve slam and water hammer. The 10% travel time is adjustable between 1 and 5 seconds.
- Depressurize and drain the valve and pipeline.
WARNING Removal of the bottom plug while under pressure may cause bodily harm. - Score the coating around and remove the pipe plug in the bottom boss of the valve. Valve must be restrained. Removal torque requires a 2-ft long socket wrench or ½”-sq. drive impact wrench at minimum. Pipe plugs on 8” and larger valves may require the use of a cheater bar in order to remove. Heating the pipe plug can loosen thread sealant and reduce torque. Valves can be provided with corrosion-resistant plugs for lower removal torques on request.
- Apply Teflon thread sealant or tape to brass threads on the dashpot. Insert the threaded end of the assembly into the valve boss. Slowly turn the assembly into the boss taking care not to cross-thread the bushing. Continue turning the assembly into the valve for a tight fit and so that the tank is upright.
- Adjust the air pressure in the tank to be a minimum of 50 psi over the line pressure. Set the flow control valve in the mid position (i.e. 1 turn open). The dashpot rod should be extended and hold the disc open about 1 inch. The water line pressure will close the disc.

FIGURE 6. BOTTOM MOUNTED OIL DASHPOT
CHECKING OIL AND GREASE LEVELS:
- The check valve should be closed
- The air in the oil reservoir must be bled from the reservoir, using the air fill valve mounted on the reservoir.
- Remove the pipe plug from the oil reservoir fill port.
- Add hydraulic fluid equal to Mobil #DTE 24 until fluid is up to level indicated on the reservoir. Replace pipe plug.
- Recharge the reservoir with air pressure to a minimum of 50 psi over the water line pressure.
- The grease level cannot be checked but it is recommended that the grease fitting be charged with grease twice a year. Use a cartridge grease gun and pump grease into the fitting using two full strokes. An FDA-approved grease should be used.
DASHPOT SEAL REPLACEMENT: There are several seals in the unit that may require replacement.
- CV Depressurize and drain the valve and pipeline.
- Unscrew the dashpot from the valve and remove the 4 bolts holding the dashpot spacer.
- Replace the (2) rod wipers and o-ring seal.
- If the oil cylinder is leaking oil, tighten the tie rod nuts. The cylinder should be returned to the factory for rebuilding.
- Reinstall the unit as listed above for a new unit.
HANDPUMP OPERATION:
The Dashpot may be equipped with a hand pump as shown in Figure 7. The hand pump can be used to drive the valve partially open using hydraulic oil pressure.
- To open the Check Valve, close the round Release Knob (turn clockwise 3 turns), insert the pump handle into the pump, and stroke the pump several times.
- To close the Check Valve, open the Release Knob (turn counterclockwise 3 turns) to release the oil pressure.
Hand pump: Simplex Series P1000.
PARTS AND SERVICE
Parts and service are available from your local representative or the factory. Make note of the valve Model No. and Working Pressure located on the valve nameplate and contact:
Val-Matic Valve and Mfg. Corp. 905 Riverside Drive Elmhurst, IL 60126
Phone: (630) 941-7600 Fax: (630) 941-8042
www.valmatic.com
A sales representative will quote prices for parts or arrange for service as needed.
VAL-MATIC SURGEBUSTER LIMITED WARRANTY
Val-Matic Valve and Manufacturing Corporation warrants the Surgebuster to outperform any manufacturer’s normally equipped Air Cushion, Weight and Lever Swing Check Valve with respect to surge pressure normally generated by check valve closure for installations within the manufacturer’s published ratings of the valve with regard to pressure, temperature and installation orientation. Should the Val-Matic Surgebuster fail to outperform any Air Cushion, Weight and Lever Swing Check Valve during a period of twelve (12) months from the date of installation or eighteen (18) months from the date of shipment, whichever comes first, Val-Matic shall pay for the cost of replacement of the Surgebuster with a comparably rated Air Cushion, Weight and Lever Swing Check valve. This warranty is subject to the following restrictions:
- This warranty shall not apply when valve performance is or has been affected by misuse, abuse or negligence in either installation, operation or maintenance.
- This warranty shall not apply to the cost of maintenance, adjustment, or installation of the Surgebuster.
- The Surgebuster shall not be operated outside the specifications as published by Val-Matic.
- Notices of claims against this warranty must be sent via certified mail to Val-Matic within 15 days of the first instance of an event giving rise to a possible claim against this warranty. Val-Matic shall have the right to test and adjust the Surgebuster and any replacement valve in the customer’s application with the system operating thru full on/off cycles as needed.
- If the customer replaces a Surgebuster valve pursuant to this warranty, the installation and application of the new valve must be identical to that of the valve being replaced in all respects, including, but not limited to, location and placement of the Surgebuster valve. Val-Matic shall in no event be liable for costs or expenses in excess of the cost of the replacement valve.
- This warranty is limited to pressure surges generated by check valve closure under reverse flow conditions. It does not apply to pressure surges generated by other system dynamics.
- If, after the customer replaces the Surgebuster with a normally equipped Air Cushion, Weight and Lever Swing Check Valve and Val-Matic tests such replacement valve in the customer’s application, such tests show the Surgebuster valve producing less surge pressure than the replacement valve, then the customer shall be responsible for the expenses incurred by Val-Matic. If the tests show the Surgebuster valve, after adjustment produced more surge pressure than the replacement valve, then Val-Matic shall reimburse the customer for the documented cost of replacement of the Surgebuster valve.
- Val-Matic’s sole liability and the customer’s sole remedy under this warranty and for any and all other claims arising out of the purchase and use of the Surgebuster valve shall be limited to the replacement of the valve. In no event will Val-Matic be liable for consequential damages even if Val-Matic has been advised of the possibility of such damages. This warranty is expressly in lieu of any other expressed or implied warranties, including any implied warranty of merchantability or fitness for a particular purpose, and any other obligation on the part of Val-Matic.
- If Val-Matic shall, at the request of the customer, render assistance of any kind in operating the valve, or any part of it, or in remedying any defects at the time, the assistance shall in no case be deemed an acknowledgment on Val-Matic’s part of a breach by it of this warranty, or excuse for any failure of the customer to fully keep and perform the conditions of this warranty.
- This warranty shall be construed according to the laws of the State of Illinois. Any actions brought to enforce this warranty must be brought in the state or federal courts located in Cook County, Illinois. The prevailing party in any litigation concerning this warranty shall be entitled to recover its reasonable attorney’s fees and costs from the non-prevailing party.
LIMITED WARRANTY
All products are warranted to be free of defects in material and workmanship for a period of one year from the date of shipment, subject to the limitations below.
If the purchaser believes a product is defective, the purchaser shall: (a) Notify the manufacturer, state the alleged defect, and request permission to return the product; (b) if permission is given, return the product with transportation prepaid. If the product is accepted for return and found to be defective, the manufacturer will, at his discretion, either repair or replace the product, f.o.b. factory, within 60 days of receipt, or refund the purchase price. Other than to repair, replace or refund as described above, the purchaser agrees that manufacturer shall not be liable for any loss, costs, expenses or damages of any kind arising out of the product, its use, installation or replacement, labeling, instructions, information or technical data of any kind, description of product use, sample or model, warnings or lack of any of the foregoing. NO OTHER WARRANTIES, WRITTEN OR ORAL, EXPRESS OR IMPLIED, INCLUDING THE WARRANTIES OF FITNESS FOR A PARTICULAR PURPOSE AND MERCHANTABILITY, ARE MADE OR AUTHORIZED. NO AFFIRMATION OF FACT, PROMISE, DESCRIPTION OF PRODUCT OF USE, OR SAMPLE OR MODEL SHALL CREATE ANY WARRANTY FROM THE MANUFACTURER UNLESS SIGNED BY THE PRESIDENT OF THE MANUFACTURER. These products are not manufactured, sold, or intended for personal, family, or household purposes.
VAL-MATIC® VALVE AND MANUFACTURING CORP.
905 Riverside Dr.
- Elmhurst, IL 60126 Phone (630) 941-7600
- Fax (630) 941-8042 www.valmatic.com
























