beko EFS8000WI Stand Fan User Manual
Dear Customer,
Thank you for preferring a Beko product. We hope that you get the best results from your product which has been manufactured with high quality and state of the-art technology. Therefore, please read this entire user manual and all other accompanying documents carefully before using the product and keep it as a reference for future use. If you handover the product to someone else, give the user manual as well. Follow all warnings and information in the user manual.
Meanings of the symbols
Following symbols are used in the various section of this manual:
Important information or useful hints about usage.
Warning for hazardous situations with regard to life and property.
Warning to actions that must never perform.
Warning for electric shock.
Warning for danger of fire.
Warning for hot surfaces.
Safety instructions
Warning
Read rules for safe operation and instructions carefully.
- If the supply cord is damaged, it must be replaced by manufacturer or its service agent or a similarly qualified person in order to avoid a hazard.
- To protect against the risk of electrical shock, do not immerse the unit, cord or plug in water or other liquid.
- This appliance can be used by children aged from 8 years and above and persons with reduced physical, sensory or mental capabilities or lack of experience and knowledge if they have been given supervision or instruction concerning use of the appliance in a safe way and understand the hazards involved. Children shall not play with the appliance. Cleaning and user maintenance shall not be made by children without supervision.
- When the appliance is not in use and before cleaning, unplug the appliance from the outlet.
- Keep electrical appliances out of reach from Children or infirm persons. Do not let them use the appliances without supervision.
- When the fan was assembled, the rotor blade guard shall not be taken off anymore.
- Prior cleaning unplug the fan.
- The rotor guard shall not be dissembled/opened to clean the rotor blades.
- Wipe the fan enclosure and rotor blade guard with a slightly damp cloth.
Rules for safe operation
- Never insert fingers, pencils, or any other object through the grille when fan is running.
- Disconnect fan when moving from one location to another.
- Be sure fan is on a stable surface when operating to avoid overturning.
- Do not use fan in window, rain may create electrical hazard.
- Household use only
Part figure

- Front grill
- Circlip
- Blade
- Plastic nut
- Rear grill
- Shaft
- Motor
- Fan body
- Power cord
- Screw
- Female terminals
- Column cover
- Base
- Butterfly screws for fixed base
- Pole
- Control part
- Display window
- Clip
- Center piece
Note: All the pictures in this manual are for explanation purpose only. Any discrepancy between the real object and the illustration in the drawing shall be subject to the real subject.
Assembly instructions
- Take out the base tube, three butterfly screws for fixed base and the round base from the packing carton;
- Insert the tube to the round base, be sure to make the positioning screw align with the base;
- Screw the three butterfly screws into the holes on the tube and tighten them;
- Loosen the fastening knob, adjust the height of inner tube and tighten the knob;
- Take out the control part of the fan from the packing carton, loosen the fastening screw at the back of the fan, insert the inner tube into the bottom hole, make sure that the fastening screw and the fastening knob in the same position.




Grill & Fan blade assembly
- Unscrew the spinner clockwise (or take the spinner out from the bag) and the plastic nut counterclockwise to remove both of them. Fix the rear grill to the motor then tighten the plastic nut again. (Fig. 5)
- Insert the blade into shaft, and make sure the rotor shaft pin is fitted into groove of the blade. Turn the spinner counterclockwise to tighten the blade. (Fig. 6)
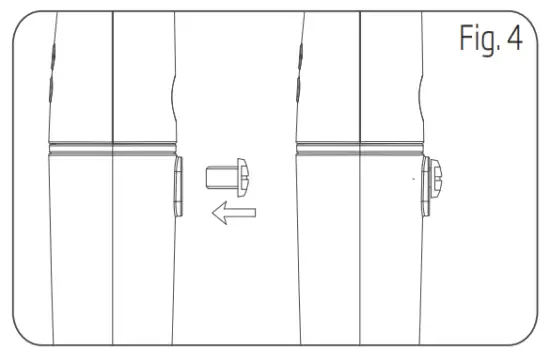
- Fix the front grill and the rear grill with circlip clip and then use the fasten clip to tighten the fan grill. (Fig. 7)



- Plastic nut
- Spinner
- Spinner
- Retaining pin
- Slot
- Blade set
Operating instructions
Plug in the power adapter, after a “beep” tone, the fan is on standby.
Remote controller (Fig. 8)


- Pro/timer
- Mode
- OSC
- Drive plate
- On/Off
- Remote controller
- Battery
- Battery cover
On/Off key
Press this button under standby mode, the fan starts at memorial speed which it worked last time.
Press this button when the fan is working, it will be turned off to standby state.
Drive plate
When you rotate the drive plate clockwise, the speed increases from the following manner: normal wind 01……When you rotate the drive plate counter-clockwise, the speed decreases from the following manner: normal wind
Mode key
Repeat press this button, the wind will be switched in order of “normal wind – natural wind – sleep wind – comfort – silence – normal wind
.
Normal wind: The wind speed is constant set by the wind level, when the “normal wind” icon ” ” is lit, 01 – 12 levels are normal wind.
Natural wind: Fan will simulate natural wind according to pre-programmed manner, the wind speed changes in accordance with the program, which makes people feeling idle, naturally and it likes to be in the nature.
Sleep wind: The wind weakens step by step during the preset time until stop. And then the fan switches automatically off so that man can drop asleep.
Comfortable wind: The speed will be changed with the room temperature intelligently.
If the temperature is lower than 20°C, the fan will stop working. If the temperature is higher than 20°C, the fan will work again. When you choice comfortable wind, the icon “
” will be lighted and the IDM display “00”.
Silence: Press this key to make the fan switch to the mute mode, in which the noise is low and the mute indicator “
” will be on. Press this key again, the fan will switch to the normal air mode and work at the low speed.
OSC key
After the fan starts, repeatedly touch this button to start or stop oscillation.
PRO key
Under power-on state, timed power-off can be set. Press the PRO button; it starts the timing power off state. “Timing” and icon displayed on the fan display will flash once per second, the rotate the drive plate clockwise, the fan display will display 0.5 → 1.0 → …… → 12.0 → 00 → 0.5 → …… in cycle, rotate the drive plate counterclockwise, it cycles as 7.5 → …… → 0.5 → 00 → 12.0 → .
When set a time, 5 seconds without any operation, the timing on the display flashes twice and beep to refer successfully settings, if there is any button operation in five seconds (except for on/off button), the time is successfully set and the fan returns to current state immediately, “Timing” and icon stops flashing, if the timing button is pressed in five seconds then timing is cancelled. If there is time setting,
then “Timing” and icon is lit, if not, it is off. When setup is successful, the display returns to display the wind level.
Under standby mode, press the PRO button to set power-on time, “PRO” and icon is lit, the operation mode please refers to timed power-off; rotate the drive plate to adjust the time. After adjustment, the set time will be displayed on the screen. To cancel a time setting, user only need to repeatedly press the PRO button.
Inquiry: Under working state, press forward/timing button to enter the timing status, user can check the set time, and user can re-set the time in five seconds; if no operation within five seconds, the time shown on the screen flashes twice and returned to the wind level.
Control panel

- On/Off button
Same as them on remote control. - Function button
- Under working state, short press the function button, the fan will alternate between oscillation and fix; Long press the button, the fan enters into the timing function, refer to the operating instructions of PRO button on remote control (To cancel the timer, long press function button).
- Under standby mode, short press of the function button is invalid; Long press the function button, the fan enters into the appointment starting function, refer to the operating instructions of PRO button on remote control (To cancel the timer, long press function button).
Tilt adjustment
To adjust the air flow upward or downward, push the guards lightly to the desired direction.
Height adjustment
Lowing: lift up the head with a hand, unscrew the fastening knob counterclockwise with the other hand, slowly lower the head to an appropriate height, and tighten the knob clockwise. Rising: lift up the head with a hand, unscrew the fastening knob counterclockwise slowly with the other hand, rises up the head to a proper height, and tighten the knob clockwise.
Pivoting angle adjustment
When adjust the pivoting angle, fix the guards with hands and reverse the head of fan.
Note: Do not forcibly twist the fan in order to avoid damage to the fan.
Screen-off function
Press the “On/Off” button for three seconds, the screen will turn off and the fan is still running. Press any button (not include “On/Off” button), the screen will light up. Remote control does not have this feature.
Forced shutdown
The fan will be turned off when there is no operation within 12 hours
Other
Batteries instructions (Fig. 9)
Batteries should be installed before using the remote control. It uses a 3 -volt button battery.
- Open the battery cover;
- Install a new battery, pay attention to the battery polarity (+ and -);
- Close the battery cover.
How to use the remote controller correctly
- The remoter controller must point to the receiving window of the fan when it is used;
- The remoter controller can be normally used within five meters and 30 degrees from the fan;
- Avoid direct sunlight on the receiving window, so as not to affect the receiver’s effect;
- Remove the built-in batteries when do not use the remote control for a long time or before the batteries are leaked.
Overheat protection of the motor
The windings of the motor have a thermal-fuse that burns out and the fan switches off and temperature of the motor is no longer going up so that plastic parts of the fan don’t subject to deformation so far so to be burned by the overheat if the motor is overheat for any unexpected reason.
Maintenance instructions
The fan requires little maintenance. Do not try to fix it by yourself. Refer it to qualified service personnel if service is needed.
- Before cleaning and assembling, fan must be unplugged.
- To ensure adequate air circulation to the motor, keep vents at the rear of the motor free of dust. Do not disassemble the fan to remove dust.
- Please wipe the exterior parts with a soft cloth soaking a mild detergent.
- Do not use any abrasive detergent or solvents to avoid scratching the surface. Do not use any of the following as a cleaner: gasoline, thinner.
- Do not allow water or any other liquid into the motor housing or interior parts.
Cleaning
- Be sure to unplug from the electrical supply source before cleaning.
- Plastic parts should be cleaned with a soft cloth moisten with mild soap. Thoroughly remove soap film with dry cloth.
Technical data
Power supply: 220V-240V, 50Hz
Technical and design modifications reserved.
Disposal
Note: Do not dispose of electrical appliances as unsorted municipal waste, use separate collection facilities. Contact your local government for information regarding the collection systems available. If electrical appliances are disposed of in landfills or dumps, hazardous substances can leak into the groundwater and get into the food chain, damaging your health and well-being
| Information | |||
| Description | Symbol | Value | Unit |
| Maximum fan flow rate | F | 45 | m3/min |
| Fan power input | P | 35 | W |
| Service value | SV | 1.29 | (m3/min)/W |
| Standby power consumption | P58 | 0.5 | W |
| Fan sound power level | 1,1A | 65 | dB(A) |
| Maximum air velocity | C | 2.50 | meters/sec |
| Measurement standard for service value | IEC 60879:1986+ (corr.1992) | ||
| Contact details for obtaining more information | Arcelik: Arcelik A.S. Sutluce, Karaagac Cd. 2, 34445 Beyoglu Istanbul Turkey | ||
http://www.beko.com/


















