beko EFS7000WI Stand Fan

Introduction
Please read this user manual first!
Dear Customer,
Thank you for preferring a Beko product We hope that you get the best results from your product which has been manufactured with high quality and state-of the- art technology. Therefore, please read this entire user manual and all other accompanying documents carefully before using the product and keep it as a reference for future use. If you handover the product to someone else, give the user manual as well. Follow all warnings and information in the user manual.
Meanings of the symbols
Following symbols are used in the various section of this manual:
Important information or useful hints about usage.
Warning for hazardous situations with regard to life and property.
Warning to actions that must never perform.
Warning for electric shock.
Warning for danger of fire.
Warning for hot surfaces.
Safety Instructions
Warning
Read rules for safe operation and instructions carefully.
- If the supply cord is damaged, it must be replaced by manufacturer or its service agent or a similarly qualified person in order to avoid a hazard.
- Indoor use only.
- To protect against the risk of electrical shock, do not immerse the unit, cord or plug in water or other liquid.
- This appliance can be used by children aged from 8 years and above and persons with reduced physical, sensory or mental capabilities or lack of experience and knowledge if they have been given supervision or instruction concerning use of the appliance in a safe way and understand the hazards involved. Children shall not play with the appliance. Cleaning and user maintenance shall not be made by children without supervision.
- When the appliance is not in use and before cleaning, unplug the appliance from the outlet.
- When the fan was assembled, the rotor blade guard shall not be taken off anymore.
- Correct disposal of this product
This symbol indicates that this product shall not be disposed with other household wastes at the end of its service life. Used device must be returned to official collection point for recycling of electrical and electronic devices. To find these collection systems please contact to your local authorities or retailer where the product was purchased. Each household performs important role in recovering and recycling of old appliance. Appropriate disposal of used appliance helps prevent potential negative consequences for the environment and human health.
Rules for safe operation
- Never insert fingers, pencils, or any other object through the grille when fan is running.
- Disconnect fan when moving from one location to another.
- Be sure fan is on a stable surface when operating to avoid overturning.
- Do not use fan in window, rain may create electrical hazard.
- Household use only.
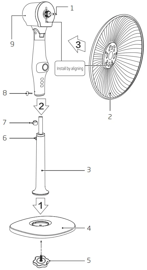
Installation Instructions
Name of components
- Motor shaft
- Rear grill
- Pole
- Base
- Base nut
- Tighten knob
- Remote control hook
- Tighten knob
- Motor

Base installation
- Align the column with the groove on the base and fixate them using the base nut.

Considerate hint:
Remove parts from the component before performing installation.
| Front and rear guard installation | ||
Align catch of the front guard with the illustrated position of the rear guard.![]() | Press guards sequentially with both hands.![]() | Self-catch installation.![]() |
- Front grill
- Lock nut of blade
•Locknut of blade anticlockwise, and then install the front fan cover. - Blade
• Pull the blade to rotate after installing, so as to ensure that the blade can be normally rotated. - Lock nut of grill
• Screw the lock nut of grill clockwise, and in the meantime, fix the rear grill.
Instructions for use
Instructions for key of remote controller
- On/Off
- Mode
- PRO/timer
- OSC
- Drive plate

| Battery installation | ||
![]() | ![]() | ![]() |
- Model < IEC > : CR2032
- Voltage <V>: 3
- Dimension< mm> : 020*3.2
- Capacity < mAh > : 210
- Type : button battery
- Material: Lithium manganese
Considerate hint:
- Install the battery with positive side facing up.
- Effective Range of Remote Control: within 5 m distance and 30-degree deflection in front of Product
Instructions for display of body
- Sleep wind display
- Natural wind display
- Silent display
- PRO/timer display

Instructions for operation of body

Other
Maintenance instruction
The fan requires little maintenance. Do not try to fix it by yourself. Refer it to qualified service personnel if service is needed.
- Before cleaning and assembling, fan must be unplugged.
- To ensure adequate air circulation to the motor, keep vents at the rear of the motor free of dust. Do not disassemble the fan to remove dust.
- Please wipe the exterior parts with a soft cloth soaking a mild detergent
- Do not use any abrasive detergent or solvents to avoid scratching the surface. Do not use any of the following as a cleaner: gasoline, thinner.
- Do not allow water or any other liquid into the motor housing or interior parts.
Cleaning
- Be sure to unplug from the electrical supply source before cleaning.
- Plastic parts should be cleaned with a soft cloth moisten with mild soap. Thoroughly remove soap film with dry cloth.
Technical data
Power supply: 220V-240V, 50Hz
Technical and design modifications reserved.
Disposal
Note: This symbol indicates that this product shall not be disposed with other household wastes at the end of its service life. Used device must be returned to official collection point for recycling of electrical and electronic devices. To find these collection systems please contact to your local authorities or retailer where the product was purchased. Each household performs important role in recovering and recycling of old appliance. Appropriate disposal of used appliance helps prevent potential negative consequences for the environment and human health.

| Information | |||
| Description | Symbol | Value | Unit |
| Maximum fan flow rate | F | 45 | m3 /min |
| Fan power input | p | 30 | w |
| Service value | sv | 1.5 | (m3/min) /W |
| Standby power consumption | PSB | 05 | w |
| Fan sound power level | L WA | 65 | dB(A) |
| Maximum air velocity | C | 2.50 | meters/sec |
| Measurement standard for service value | IEC 60879: 1986+ (corr.1992) | ||
| Contact details for obtaining more information | Arcelik A.S. Karaagac Cd. No:2-6 34445 Sutluce, Beyoglu, Istanbul, Turkey | ||
Customer Support

































