CORSAIR iCUE Elite LCD Upgrade Kit Instruction Manual
INCLUDED HARDWARE
- LCD Module

- x4 Mounting Screws

- x1 USB Y-Splitter

COMMANDER CORE UPDATE
Please ensure you’ve updated your Elite Capellix’s firmware PRIOR to installation. Failure to update firmware will result in Commander CORE not recognizing the LCD Kit. The LCD will then return a general fault (!) error.
Please ensure you power down your entire PC before installation. This product, the pump, and the Commander CORE are sensitive to hot plugging and ESD.

In iCUE, click on your Commander CORE or ELITE CAPELLIX cooler and select ‘Device Settings’.
Under ‘Device Settings’ you will have the ability to check for firmware updates.
PREPARING COOLER


- MOUNTING SCREW INSTALLATION

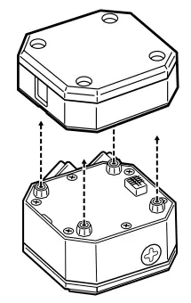
- ELITE LCD MODULE INSTALLATION

PLUG INTO COMMANDER CORE

PLUG IN USBs
Connect Commander CORE and LCD Kit to 2x USB 2.0 Headers.
Use included USB Y-Splitter to reduce required USB ports from 2x to 1x.

CORSAIR MEMORY, Inc. declares that this equipment is in compliance with Directive 2014/30/EU and Directive 2011/65/EU. A copy of the original declaration of conformity can be obtained at “corsair.com/documentation”.
Operating temperature: 0°C ~ + 40°C
The Authorized Representative In Europe
CORSAIR MEMORY, BV
Wormerweg 8, 1311 XB, Almere, Netherlands
NOTE ON ENVIRONMENTAL PROTECTION
After the implementation of the European Directive 2012/19/EU in the national legal system, the following applies:
- Electrical and electronic devices may not be disposed of with domestic waste.
- Consumers are obliged by law to return electrical and electronic devices at the end of their service lives to the public collecting points set up for this purpose or point of sale. Details to this are defined by the national law of the respective country. This symbol on the product, the instruction manual or the package indicates that a product is subject to these regulations. By recycling, reusing the materials or other forms of utilising old devices, you are making an important contribution to protecting our environment.
Federal Communication Commission Interference Statement
This equipment has been tested and found to comply with the limits for a Class B digital device, pursuant to part 15 of the FCC Rules. These limits are designed to provide reasonable protection against harmful interference in a residential installation. This equipment generates, uses and can radiate radio frequency energy and, if not installed and used in accordance with the instructions, may cause harmful interference to radio communications. However, there is no guarantee that interference will not occur in a particular installation. If this equipment does cause harmful interference to radio or television reception, which can be determined by turning the equipment off and on, the user is encouraged to try to correct the interference by one or more of the following measures:
- Reorient or relocate the receiving antenna.
- Increase the separation between the equipment and receiver.
- Connect the equipment into an outlet on a circuit different from that to which the receiver is connected.
- Consult the dealer or an experienced radio/TV technician for help
This device complies with part 15 of the FCC Rules. Operation is subject to the following two conditions:
- This device may not cause harmful interference, and
- this device must accept any interference received, including interference that may cause undesired operation.
FCC Caution: Any changes or modifications not expressly approved by the party responsible for compliance could void the user’s authority to operate this equipment.
IC STATEMENT
This Class B digital apparatus meets all requirements of the Canadian Interference-Causing Equipment Regulations. CAN ICES-003(B)/NMB 003(B)
Web: corsair.com
Phone: (888) 222-4346
Warranty: corsair.com/support/warranty
Support: support.corsair.com
Blog: corsair.com/blog
Forum:: forum.corsair.com
YouTube: youtube.com/corsairhowto

























