JH084C1 Built In Oven
User Manual
VISIT OUR WEBSITE TO:
Get usage advice, brochures, trouble shooter, service and repair information: www.juno.de/support
SAFETY INFORMATION
Before the installation and use of the appliance, carefully read the supplied instructions. The manufacturer is not responsible for any injuries or damage that are the result of incorrect installation or usage. Always keep the instructions in a safe and accessible location for future reference.
Children and vulnerable people safety
- This appliance can be used by children aged from 8 years and above and persons with reduced physical, sensory or mental capabilities or lack of experience and knowledge if they have been given supervision or instruction concerning the use of the appliance in a safe way and understand the hazards involved. Children of less than 8 years of age and persons with very extensive and complex disabilities shall be kept away from the appliance unless continuously supervised.
- Children should be supervised to ensure that they do not play with the appliance.
- Keep all packaging away from children and dispose of it appropriately.
- WARNING: Keep children and pets away from the appliance when it operates or when it cools down. Accessible parts become hot during use.
- If the appliance has a child safety device, it should be activated.
- Children shall not carry out cleaning and user maintenance of the appliance without supervision.
General Safety
- Only a qualified person must install this appliance and replace the cable.
- Do not use the appliance before installing it in the built-in structure.
- Disconnect the appliance from the power supply before carrying out any maintenance.
- If the mains power supply cable is damaged, it must be replaced by the manufacturer, its Authorised Service Centre, or similarly qualified persons to avoid an electrical hazard.
- The control panel must be connected to a specified heating unit with matching colors of connectors, to avoid a possible hazards.
- The means for disconnection must be incorporated in the fixed wiring in accordance with the wiring rules.
- WARNING: Ensure that the appliance is switched off before replacing the lamp to avoid the possibility of electric shock.
- WARNING: The appliance and its accessible parts become hot during use. Care should be taken to avoid touching heating elements.
- Always use oven gloves to remove or put in accessories or ovenware.
- To remove the shelf supports first pull the front of the shelf support and then the rear end away from the side walls. Install the shelf supports in the opposite sequence.
- Do not use a steam cleaner to clean the appliance.
- Do not use harsh abrasive cleaners or sharp metal scrapers to clean the glass door since they can scratch the surface, which may result in shattering of the glass.
SAFETY INSTRUCTIONS
WARNING! Only a qualified person must install this appliance.
- Remove all the packaging.
- Do not install or use a damaged appliance.
- Follow the installation instructions supplied with the appliance.
- Always take care when moving the appliance as it is heavy. Always use safety gloves and enclosed footwear.
- Do not pull the appliance by the handle.
- Install the appliance in a safe and suitable place that meets installation requirements.
- The kitchen cabinet and the recess must have suitable dimensions.
- Keep the minimum distance from other appliances and units.
- Before mounting the appliance, check if the oven door opens without restraint. If not the oven has to be lifted.
- Parts of the appliance carry current.
Close the appliance with furniture to prevent touching the dangerous parts. - The appliance is equipped with an electric cooling system. It must be operated with an electric power supply.
| Cabinet minimum height (Cabinet un‐ der the worktop mini‐ mum height) | 590 (600) mm |
| Cabinet width | 560 mm |
| Cabinet depth | 550 (550) mm |
| Height of the front of the appliance | 594 mm |
| Height of the back of the appliance | 576 mm |
| Width of the front of the appliance | 595 mm |
| Width of the back of the appliance | 559 mm |
| Depth of the appliance | 569 mm |
| Built-in the depth of the appliance | 548 mm |
| Depth with an open door | 1022 mm |
| Ventilation opening minimum size. Open‐ ing placed on the bottom rear side | 560×20 mm |
| Mounting screws | 4×25 mm |
Before you install the appliance, fit it with the applicable hob from the table.
| Type | Maximum power |
| JKFN604F5 | 6000 W |
| JKFN606F5 | 7600 W |
Electrical connection
WARNING! Risk of fire and electric shock.
- All electrical connections should be made by a qualified electrician.
- The appliance must be earthed.
- Make sure that the parameters on the rating plate are compatible with the electrical ratings of the main power supply.
- Always use a correctly installed shockproof socket.
- Do not use multi-plug adapters and extension cables.
- Make sure not to cause damage to the mains plug and to the mains cable. Should the mains cable need to be replaced, this must be carried out by our Authorised Service Centre.
- Do not let main cables touch or come near the appliance door or the niche below the appliance, especially when it operates or the door is hot.
- The shock protection of live and insulated parts must be fastened in such a way that it cannot be removed without tools.
- Connect the mains plug to the mains socket only at the end of the installation. Make sure that there is access to the mains plug after the installation.
- If the main socket is loose, do not connect the main plug.
- Do not pull the main cable to disconnect the appliance. Always pull the mains plug.
- Use only correct isolation devices: line protecting cut-outs, fuses (screw type fuses removed from the holder), earth leakage trips and contactors.
- The electrical installation must have an isolation device that lets you disconnect the appliance from the mains at all poles. The isolation device must have a contact opening width of minimum of 3 mm.
- This appliance is supplied without a main plug and the main cable.
- The hob connection socket is at the top of the oven cabinet. The hob has connection leads for the cooking zones and the ground cable. The leads have plug-in connectors. Plug the connectors into the correct oven socket to connect the hob to the oven. The design of the plugs and sockets prevents incorrect connections.
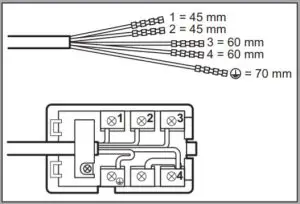
If the mains voltage is different, rearrange the jumpers on the terminal board (refer to the connection diagram below). Connect the ground cable to the terminal. After you connect the supply cable to the terminal board, attach it with a junction clamp.
Connecting to terminal board
The appliance has a six-pole terminal board. The jumpers (bridges) are set for op‐ eration on a 400 V three-phase with a neu‐ tral wire.

L 1 – 2 – 3 = phase cables
N 4 = neutral cable
= earth cable

Cable types applicable for installation or replacement for Europe:
H07 RN-F, H05 RN-F, H05 RRF, H05 VVF, H05 V2V2-F (T90), H05 BB-F
For the section of the cable refer to the total power on the rating plate. You can also refer to the table:
| Total power (W) | Section of the ca‐ble (mm²) |
| maximum 10380 | 3 phases: 5 x 2.5 |
| 2 phases: 4 x 4.0 | |
| 1 phase: 3 x 6.0 |
Use
WARNING! Risk of injury, burns, and electric shock or explosion.
- This appliance is for household (indoors) use only.
- Do not change the specification of this appliance.
- Make sure that the ventilation openings are not blocked.
- Do not let the appliance stay unattended during operation.
- Deactivate the appliance after each use.
- Be careful when you open the appliance door while the appliance is in operation. Hot air can release.
- Do not operate the appliance with wet hands or when it has contact with water.
- Do not apply pressure on the open door.
- Do not use the appliance as a work surface or as a storage surface.
- Open the appliance door carefully. The use of ingredients with alcohol can cause a mixture of alcohol and air.
- Do not let sparks or open flames to come in contact with the appliance when you open the door.
- Do not put flammable products or items that are wet with flammable products in, near or on the appliance.
WARNING! Risk of damage to the appliance. - To prevent damage or discoloration to the enamel:
– do not put aluminum foil directly on the bottom of the cavity of the appliance.
– do not put water directly into the hot appliance.
– do not keep moist dishes and food in the appliance after you finish the cooking.
– be careful when you remove or install the accessories. - Discoloration of the enamel or stainless steel has no effect on the performance of the appliance.
- Use a deep pan for moist cakes. Fruit juices cause stains that can be permanent.
- This appliance is for cooking purposes only. It must not be used for other purposes, for example, room heating.
- Always cook with the oven door closed.
Care and cleaning
WARNING! Risk of injury, fire, or damage to the appliance.
- Before maintenance, deactivate the appliance and disconnect the mains plug from the mains socket.
- Make sure the appliance is cold. There is the risk that the glass panels can break.
- Replace immediately the door glass panels when they are damaged.
Contact the Authorised Service Centre. - Be careful when you remove the door from the appliance. The door is heavy!
- Clean regularly the appliance to prevent the deterioration of the surface material.
- Clean the appliance with a moist soft cloth. Use only neutral detergents. Do not use abrasive products, abrasive cleaning pads, solvents, or metal objects.
- If you use an oven spray, follow the safety instructions on its packaging.
Internal lighting
WARNING! Risk of electric shock.
- Concerning the lamp(s) inside this product and spare part lamps sold separately: These lamps are intended to withstand extreme physical conditions in household appliances, such as temperature, vibration, humidity, or are intended to signal information about the operational status of the appliance. They are not intended to be used in other applications and are not suitable for household room illumination.
- This product contains a light source of energy efficiency class G.
- Use only lamps with the same specifications.
Service
- To repair the appliance contact the Authorised Service Centre.
- Use original spare parts only.
Disposal
WARNING! Risk of injury or suffocation.
- Contact your municipal authority for information on how to dispose of the appliance.
- Disconnect the appliance from the main supply.
- Cut off the mains electrical cable close to the appliance and dispose of it.
- Remove the door catch to prevent children or pets from becoming trapped in the appliance.
INSTALLATION
WARNING! Refer to Safety chapters.
Building in

Securing the oven to the cabinet

PRODUCT DESCRIPTION
General overview

| 1 Control panel | 8 Heating element |
| 2 Knobs for the hob | 9 Lamp |
| 3 Power lamp/symbol | 10 Fan |
| 4 Knob for the heating functions | 11 Cavity embossment – Aqua cleaning container |
| 5 Display | 12 Shelf support, removable |
| 6 Control knob (for the temperature) | 13 Shelf positions |
| 7 Temperature indicator/symbol |
Accessories
- Wire shelf
For cookware, cake tins, roasts. - Combi pan
For cakes and biscuits. To bake and roast or as a pan to collect fat.
CONTROL PANEL
Knobs for the cooking zones
WARNING! Refer to the Safety chapters in the hob user manual. You can operate the hob with the knobs for the cooking zones.
Heat settings
| Knob indication | Function |
| 0 | Off position |
| 1 – 9 | Heat settings |
| Double zone switch |
- Turn the knob clockwise to position 9.
- Turn the knob slowly to the symbol
until you can hear a click. The two cooking zones are on. - To set the necessary heat setting refers to “Heat settings”.
Retractable knobs
To use the appliance press the knob. The knob comes out.
- Turn the knob to a necessary heat setting.
- To complete the cooking process, turn the knob to the off position.
Using the double zone (if applicable)
To activate the double zone, turn the knob clockwise. Do not turn it through the stop position.
Sensor fields / Buttons
| – | To set the time. |
![]() | To set a clock function. |
| + | To set the time. |
Display

A. Clock functions
B. Timer
BEFORE FIRST USE
WARNING! Refer to Safety chapters.
Before first use
The oven can emit an odor and smoke during preheating. Make sure that the room is ventilated.
Step 1 | Step 2 | Step 3 |
| Set the clock | Clean the oven | Preheat the empty oven |
| 1., – press to set the time. After approximately 5 sec., the flashing stops and the display shows the time. | 1. Remove all accessories and removable shelf supports from the oven. 2. Clean the oven and the accessories with a soft cloth, warm water, and a mild detergent. | 1. Set the maximum temperature for the function: Time: 1 h. 2. Set the maximum temperature for the function: Time: 15 min. 3. Set the maximum temperature for the function: Time: 15 min. |
Turn off the oven and wait until it is cold. Place the accessories and the removable shelf sup‐ ports in the oven.
DAILY USE
WARNING! Refer to Safety chapters.
How to set: Heating function
| Step 1 | Turn the knob for the heating functions to select a heating function. |
| Step 2 | Turn the control knob to select the temperature. |
| Step 3 | When the cooking ends, turn the knobs to the off position to turn off the oven. |
Setting the function: True Fan Cooking PLUS
WARNING! Risk of burns and damage to the appliance.
| Step 1 | Make sure that the oven is cold. |
| Step 2 | Fill the cavity embossment with tap water.![]() |
| Step 3 | Set the function: |
| Step 4 | .Turn the control knob for the temperature to set the temperature. |
| Step 5 | Preheat the empty oven for 10 min to create humidity. |
| Step 6 | Put food in the oven. Refer to the “Hints and tips” chapter. Do not open the oven door during cooking. |
| Step 7 | Turn the knob for the heating functions to the off position to turn off the oven. |
| Step 8 | After the function ends, carefully open the door. Released humidity can cause burns. |
| Step 9 | Make sure that the oven is cold. Remove the remaining water from the cavity embossment. |
Heating functions
| Heating function | Application |
| The oven is off. | |
| To turn on the lamp. | |
| To add humidity during the cooking. To get the right color and crispy crust during baking. To give more juiciness during reheating. Refer to the “Care and cleaning” chapter for more information about Aqua Clean. | |
| This function is designed to save energy during cooking. When you use this function, the temperature in the cavity may differ from the set temperature. The heating power may be reduced. For more information re‐ for to “Daily Use” chapter, Notes on Moist Fan Baking. | |
Bottom Heat | To bake cakes with a crispy bottom and to preserve food. |
True Fan Cooking | To bake on up to three shelf positions at the same time and to dry food. Set the temperature 20 to 40 °C lower than for Con‐ Ventional Cooking. |
Turbo Grilling | To roast large meat joints or poultry with bones on one shelf position. To make gratins and to brown. |
| Heating function | Application |
| To grill thin pieces of food in large quantities and to toast bread. | |
Pizza Function | To bake pizza. To make intensive browning and a crispy bottom. |
| To bake and roast food on one shelf position. |
Notes on: Moist Fan Baking
This function was used to comply with the energy efficiency class and ecodesign requirements according to EU 65/2014 and EU 66/2014. Tests according to EN 60350-1.
The oven door should be closed during cooking so that the function is not interrupted and the oven operates with the highest energy efficiency possible.
For the cooking instructions refer to the “Hints and tips” chapter, Moist Fan Baking. For general energy-saving recommendations refer to the “Energy Efficiency” chapter, Energy Saving.
CLOCK FUNCTIONS
Clock functions
| Clock function | Application |
Time of Day | To set, change or check the time of day. |
| To set how long the oven works. | |
| To set a countdown. This function has no effect on the operation of the oven. You can set this function at any time, also when the oven is off. |
How to set: Clock functions
How to set: Time of Day
– flashes when you connect the oven to the electrical supply, when there was a power cut or when the timer is not set.
+,- press to set the time.
After approximately 5 sec., the flashing stops and the display shows the time.
How to change: Time of Day
| Step 1 | – Press repeatedly to change the time of day. – starts to flash. |
| Step 2 | +’ — press to set the time. After approximately 5 sec., the flashing stops and the display shows the time. |
How to set: Duration
| Step 1 | Set an oven function and the temperature. |
| Step 2 | – Press repeatedly. |
| Step 3 | + , – – press to set the duration. The display shows: |
| Step 4 | Press any button to stop the signal. |
| Step 5 | Turn the knobs to the off position. |
How to set: Minute Minder
| Step 1 | – press repeatedly. |
| Step 2 | +,- – press to set the time. The function starts automatically after 5 sec. When the set time ends, the signal sounds. |
| Step 3 | Press any button to stop the signal. |
| Step 4 | Turn the knobs to the off position. |
How to cancel: Clock functions
| Step 1 | – Press repeatedly until the clock function symbol starts to flash. |
| Step 2 | Press and hold:___. The clock function turns off after a few seconds. |
USING THE ACCESSORIES
WARNING! Refer to Safety chapters.
Inserting accessories
A small indentation at the top increases safety. The indentations are also anti-tip devices. The high rim around the shelf prevents cookware from slipping of the shelf.
| Wire shelf: Push the shelf between the guide bars of the shelf support and make sure that the feet point down. | ![]() |
| Deep pan: Push the tray between the guide bars of the shelf support. | ![]() |
| Wire shelf, Deep pan: Push the tray between the guide bars of the shelf support and the wire shelf on the guide bars above. | ![]() |
ADDITIONAL FUNCTIONS
Cooling fan
When the oven operates, the cooling fan turns on automatically to keep the surfaces of the oven cool. If you turn off the oven, the cooling fan can continue to operate until the oven cools down.
Safety thermostat
Incorrect operation of the oven or defective components can cause dangerous overheating. To prevent this, the oven has a safety thermostat that interrupts the power supply. The oven turns on again automatically when the temperature drops.
HINTS AND TIPS
Refer to Safety chapters.
Cooking recommendations
The oven has five shelf positions.
Count the shelf positions from the bottom of the oven floor.
Your oven may bake or roast differently from the oven you had before.
Baking cakes
Do not open the oven door before 3/4 of the set cooking time is up.
If you use two baking trays at the same time, keep one empty level between them.
Cooking meat and fish
Use a deep pan for very fatty food to prevent the oven from stains that can be permanent.
Leave the meat for approximately 15 minutes before carving so that the juice does not seep out.
To prevent too much smoke in the oven during roasting, add some water into the deep pan. To prevent the smoke condensation, add water each time after it dries up.
Cooking times
Cooking times depend on the type of food, its consistency, and volume.
Initially, monitor the performance when you cook. Find the best settings (heat setting, cooking time, etc.) for your cookware, recipes, and quantities when you use this appliance.
Moist Fan Baking – recommended accessories
Use dark and non-reflective tins and containers. They have better heat absorption than the light color and reflective dishes.
Pizza pan | Baking dish | Baking dish | Flan base tin |
| Dark, non-reflective 28 cm diameter | Dark, non-reflective 26 cm diameter | Ceramic 8 cm diameter‐ ter, 5 cm height | Dark, non-reflective 28 cm diameter |
Moist Fan Baking
For the best results follow suggestions listed in the table below.
| Sweet rolls, 12 pieces | baking tray or dripping pan | 175 | 3 | 40 – 50 |
| Rolls, 9 pieces | baking tray or dripping pan | 180 | 2 | 35 – 45 |
| Pizza, frozen, 0.35 kg | wire shelf | 180 | 2 | 45 – 55 |
| Swiss roll | baking tray or dripping pan | 170 | 2 | 30 – 40 |
| Brownie | baking tray or dripping pan | 170 | 2 | 45 – 50 |
| Souffle, 6 pieces | ceramic ramekins on wire shelf | 190 | 3 | 45 – 55 |
| Sponge flan base | flan base tin on wire shelf | 180 | 2 | 35 – 45 |
| Victoria sand‐wich | baking dish on wire shelf | 170 | 2 | 35 – 50 |
| Poached fish. 0.3 kg | baking tray or dripping pan | 180 | 2 | 35 – 45 |
| Whole fish, 0.2kg Fish fillet, 0.3 kg | baking tray or dripping pan | 180 | 3 | 25 – 35 |
| Fish fillet, 0.3 kg | pizza pan on wire shelf | 170 | 3 | 30 – 40 |
| Poached meat, 0.25 kg | baking tray or dripping pan | 180 | 3 | 35 – 45 |
| Shashlik. 0.5 kg | baking tray or dripping pan | 180 | 3 | 40 – 50 |
| Cookies, 16 pieces | baking tray or dripping pan | 150 | 2 | 30 – 45 |
| Macaroons. 20 pieces | baking tray or dripping pan | 180 | 2 | 45 – 55 |
| Muffins, 12 pieces | baking tray or dripping pan | 170 | 2 | 30 – 40 |
| Savory pastry.16 pieces | baking tray or dripping pan | 170 | 2 | 35 – 45 |
| Short crust bis‐ cuits, 20 pieces | baking tray or dripping pan | 150 | 2 | 40 – 50 |
| Tartlets, 8 pieces | baking tray or dripping pan | 170 | 2 | 30 – 40 |
| Vegetables, poached, 0.4 kg | baking tray or dripping pan | 180 | 2 | 35 – 45 |
| Vegetarian omelet | pizza pan on a wire shelf | 180 | 3 | 35 – 45 |
| Mediterranean vegetables, 0.7 Kg | baking tray or dripping pan | 180 | 4 | 35 – 45 |
Information for test institutes
Tests according to IEC 60350-1.
| Small cakes, 20 per tray | Conventional Cooking | Baking tray | 3 | 170 | 20 – 30 | – |
| Small cakes, 20 per tray | True Fan Cooking | Baking tray | 3 | 150- 160 | 20 – 35 | – |
| Small cakes, 20 per tray | True Fan Cooking | Baking tray | 2 and 4 | 150 -160 | 20 – 35 | – |
| Apple pie, 2 Tins Ø20 cm | Conventional Cooking | Wire shelf | 2 | 180 | 70 – 90 | – |
| Apple pie, 2 Tins Ø20 cm | True Fan Cooking | Wire shelf | 2 | 160 | 70 – 90 | – |
| Spong e cake, cake mould Ø26 cm | Conven‐tional Cooking | Wire shelf | 2 | 170 | 40 – 50 | Preheat the oven for 10 minutes. |
| Spong e cake, cake mould Ø26 cm | True Fan Cooking | Wire shelf | 2 | 160 | 40 – 50 | Preheat the oven for 10 minutes. |
| Sponge cake, cake mold Ø26 cm | True Fan Cooking | Wire shelf | 2 and 4 | 160 | 40 – 60 | Preheat the oven for 10 minutes. |
| Shortbread | True Fan Cooking | Baking tray | 3 | 140 -150 | 20 – 40 | – |
| Shortbread | True Fan Cooking | Baking tray | 2 and 4 | 140 -150 | 25 – 45 | – |
| Shortbread | Conventional Cooking | Baking tray | 3 | 140 -150 | 25 – 45 | – |
| Toast,4 – 6 pieces | Grill | Wire shelf | 4 | max. | 2 – 3 minutes First side; 2 3 minutes second side | Preheat the oven for 3 minutes. |
| Beef burger, 6 pieces, 0.6 kg | Grill | Wire shelf and dripping pan | 4 | max. | 20 – 30 | Put the wire shelf on the fourth level and the dripping pan on the third level of the oven. Turn the food halfway through the cooking time. Preheat the oven for 3 minutes. |
CARE AND CLEANING
WARNING! Refer to Safety chapters.
Notes on cleaning
Cleaning Agents | Clean the front of the oven with a soft cloth with warm water and a mild detergent. Clean and check the door gasket around the frame of the cavity. |
| Use a cleaning solution to clean metal surfaces. | |
| Clean stains with a mild detergent. | |
Everyday Use | Clean the cavity after each use. Fat accumulation or another residue may cause a fire. |
| Moisture can condense in the oven or on the door glass panels. To decrease the condensation, let the oven work for 10 minutes before cooking. Do not store the food in the oven for longer than 20 minutes. Dry the cavity with a soft cloth after each use. | |
Accessories | Clean all accessories after each use and let them dry. Use a soft cloth with warm water and a mild detergent. Do not clean the accessories in a dishwasher. |
| Do not clean the non-stick accessories using an abrasive cleaner or sharp-edged objects. |
How to clean: Cavity embossment
Clean the cavity embossment to remove limestone residue after cooking with steam.
| Step 1 | Step 2 | Step 3 |
| Pour 250 ml of white vinegar into the cavity embossment. Use maximum 6% vinegar without any additives. | Let the vinegar dissolve the limestone residue at the ambient temperature for 30 minutes. | Clean the cavity with warm water and a soft cloth. |
For the function: True Fan Cooking PLUS clean the oven for every 5 – 10 cooking cycles.
How to remove: Shelf supports
Remove the shelf supports to clean the oven.
How to use: Aqua Clean
This cleaning procedure uses humidity to remove the remaining fat and food particles from the oven.
| Step 1 | Pour water into the cavity embossment: 200 ml. |
| Step 2 | Set the function: |
| Step 3 | Set the temperature to 90 °C. |
| Step 4 | Let the oven work for 30 min. |
| Step 5 | Turn off the oven. |
| Step 6 | Wait until the oven is cold. Dry the cavity with a soft cloth. |
How to remove and install: Door
The oven door has two glass panels. You can remove the oven door and the internal glass panel to clean it. Read the whole “Removing and installing door” instruction before you remove the glass panels.
CAUTION! Do not use the oven without the glass panels.
| Step 1 | Fully open the door and find the hinge to the right side of the door. | ![]() |
| Step 2 | Use a screwdriver to lift and turn fully the right side hinge lever. | |
| Step 3 | Find the hinge to the left side of the door. | ![]() |
| Step 4 | Lift and turn the lever fully on the left hinge. | |
| Step 5 | Close the oven door halfway to the first opening position. Then lift and pull forward and remove the door from its seat. | ![]() |
| Step 6 | Put the door on a soft cloth on a stable surface. | |
| Step 7 | Hold the door trim (B) on the top edge of the door at the two sides and push inwards to release the clip seal. | ![]() |
| Step 8 | Pull the door trim to the front to remove it. | |
| Step 9 | Hold the door glass panel by its top edge and carefully pull it out. Make sure the glass slides out of the supports completely. | ![]() |
| Step 10 | Clean the glass panels with water and soap. Dry the glass panels carefully. Do not clean the glass panels in the dishwasher. | ![]() |
| Step 11 | After cleaning, install the glass panel and the oven door. |
The screen-printing zone must face the inner side of the door. Make sure that after the installation the surface of the glass pan‐ el frame on the screen-printing zones is not rough when you touch it. When installed correctly the door trim clicks.
Make sure that you install the internal glass panel in the seats correctly.

How to replace: Lamp
WARNING! Risk of electric shock.
The lamp can be hot.
Always hold the halogen lamp with a cloth to prevent grease residue from burning on the lamp.
| Before you replace the lamp: | ||
| Step 1 | Step 2 | Step 3 |
| Turn off the oven. Wait until the oven is cold. | Disconnect the oven from the mains. | Put a cloth on the bottom of the cavity. |
Back lamp
| Step 1 | Turn the glass cover to remove it. |
| Step 2 | Clean the glass cover. |
| Step 3 | Replace the lamp with a suitable 300 °C heat-resistant lamp. |
| Step 4 | Install the glass cover. |
TROUBLESHOOTING
WARNING! Refer to Safety chapters.
What to do if…
In any cases not included in this table please contact with an Authorised Service Centre.
| Problem | Check if… |
| The oven does not heat up. | The fuse is blown. |
| The door gasket is damaged. | Do not use the oven. Contact an Authorised Service Centre. |
| The display shows “12.00”. | There was a power cut. Set the time of day. |
| The water leaks out of the cavity embossment. | There is too much water in the cavity embossment. |
| Unsatisfying cooking performance of the function: True Fan Cooking PLUS . | You filled the cavity embossment with water. |
| The lamp does not work. | The lamp is burnt out. |
Service data
If you cannot find a solution to the problem yourself, contact your dealer or an Authorised Service Centre.
The necessary data for the service center is on the rating plate. The rating plate is on the front frame of the oven cavity. Do not remove the rating plate from the oven cavity.
We recommend that you write the data here:
Model (MOD.) …………………………………..
Product number (PNC) …………………………………..
Serial number (S.N.) …………………………………..
ENERGY EFFICIENCY
Product Information and Product Information Sheet*
| Supplier’s name | Juno |
| Model identification | JH084C1 949723405 |
| Energy Efficiency Index | 95.3 |
| Energy efficiency class | A |
| Energy consumption with a standard load,conventional mode | 0.93 kWh/cycle |
| Energy consumption with a standard load, fan-forced mode | 0.81 kWh/cycle |
| Number of cavities | 1 |
| Heat source | Electricity |
| Volume | 72 l |
| Type of oven | Built-Under Oven |
| Mass | 28.7 kg |
* For European Union according to EU Regulations 65/2014 and 66/2014.
For the Republic of Belarus according to STB 2478-2017, Appendix G; STB 2477-2017, Annexes A and B.
For Ukraine according to 568/32020.
The energy efficiency class is not applicable to Russia.
EN 60350-1 – Household electric cooking appliances – Part 1: Ranges, ovens, steam ovens, and grills – Methods for measuring performance.
Energy saving
The oven has features that help you save energy during everyday cooking.
Make sure that the oven door is closed when the oven operates. Do not open the oven door too often during cooking. Keep the door gasket clean and make sure it is well fixed in its position.
Use metal cookware to improve energy saving.
When possible, do not preheat the oven before cooking.
Keep breaks between baking as short as possible when you prepare a few dishes at one time.
Cooking with fan When possible, use the cooking functions with a fan to save energy.
Residual heat
When the cooking duration is longer than 30 min, reduce the oven temperature to a minimum 3 – 10 min before the end of cooking. The residual heat inside the oven will continue to cook.
Use the residual heat to warm up other dishes.
Keep food warm
Choose the lowest possible temperature setting to use residual heat and keep a meal warm.
Moist Fan Baking
The function is designed to save energy during cooking.
ENVIRONMENTAL CONCERNS
Recycle materials with the symbol
. Put the packaging in relevant containers to recycle it. Help protect the environment and human health by recycling waste of electrical and electronic appliances. Do not dispose of appliances marked with the symbol
with the household waste. Return the product to your local recycling facility or contact your municipal office.![]()

Step 1
Step 2
Step 3
Bottom Heat
True Fan Cooking
Turbo Grilling
Pizza Function


Pizza pan
Baking dish
Baking dish
Flan base tin
Cleaning Agents
Everyday Use
Accessories















