Q-SYS TSC-101-G3 Touchscreen Controller User Guide
EXPLANATION OF SYMBOLS
The term “WARNING!” indicates instructions regarding personal safety. If the instructions are not followed the result may be bodily injury or death. The term “CAUTION!” indicates instructions regarding possible damage to physical equipment. If these instructions are not followed, it may result in damage to the equipment that may not be covered under the warranty. The term “IMPORTANT!” indicates instructions or information that are vital to the successful completion of the procedure. The term “NOTE” is used to indicate additional useful information.
NOTE: The intent of the lightning flash with arrowhead symbol in a triangle is to alert the user to the presence of un-insulated “dangerous” voltage within the product’s enclosure that may be of sufficient magnitude to constitute a risk of electric shock to humans.
NOTE: The intent of the exclamation point within an equilateral triangle is to alert the user to the presence of important safety, and operating and maintenance instructions in this manual.
IMPORTANT SAFETY INSTRUCTIONS 
- Read these instructions.
- Keep these instructions.
- Heed all warnings.
- Follow all instructions.
- Do not use this apparatus near water.
- Clean only with a dry cloth.
- Do not block any ventilation opening. Install in accordance with the manufacturer’s instructions.
- Do not install near any heat sources such as radiators, heat registers, stoves, or other apparatus (including ampilifiers) that produce heat.
- Only use attachments/accessories specified by the manufacturer.
- Refer all servicing to qualified service personnel.
- Adhere to all applicable local codes.
- Consult a licensed, professional engineer when any doubt or questions arise regarding a physical equipment installation.
FCC Statement
NOTE: This equipment has been tested and found to comply with the limits for a Class B digital device, pursuant to Part 15 of the FCC Rules. residential installation. This equipment generates, uses and can radiate radio frequency energy and, if not
NOTE: These limits are designed to provide reasonable protection against harmful interference in a installed and used in accordance with the instructions, may cause harmful interference to radio communications. However, there is no guarantee that interference will not occur in a particular installation. If this equipment does cause harmful interference to radio or television reception, which can be determined by turning the equipment off and on, the user is encouraged to try to correct the interference by one or more of the following measures:
- Reorient or relocate the receiving antenna.
- Increase the separation between the equipment and receiver.
- Connect the power sourcing equipment into an outlet on a circuit different from that to which the receiver is connected.
- Consult the dealer or an experienced radio/TV technician for help.
You are cautioned that changes or modifications not expressly approved by the part responsible for compliance could void the user’ s authority to operate the equipment.
FCC RF Radiation Exposure Statement
This device contains transmitters and receivers which emit Radio Frequency (RF) energy. The device is designed to comply with the limits for exposure to RF energy set by the Federal Communications Commission (FCC) of the United States, Industry Canada (IC) of Canada, and the regulating entities of other countries.
Industry Canada Statement
This device complies with Industry Canada’s licence -exempt RSSs. Operation is subject to the following two conditions:
- this device may not cause interference, and
- this device must accept any interference, including interference that may cause undesired peration of the device.
Radiation Exposure Statement
This device contains transmitters and receivers which emit Radio Frequency (RF) energy. The device is designed to comply with the limits for exposure to RF energy set by the Federal Communications Commission (FCC) of the United States, Industry Canada (IC) of Canada, and the regulating entities of other countries.
E-Label Information
The global certification is display on the startup screen.
Model No. : TSC-70-G3 FCC ID : 2AGTY-TSC-70-G3 IC: 20383-TSC70G3
Model No. : TSC-101-G3 FCC ID : 2AGTY-TSC-70-G3,, IC: 20383-TSC70G3
When you into the main screen which you can select Agency buttom to return E-Label screen.
RoHS Statement
The QSC Q-SYS TSC-G3 Series is in compliance with European Directive 2011/65/EU — Restriction of Hazardous Substances (RoHS2).
Maintenance and Repairs
WARNING!: Advanced technology, the use of modern materials and powerful electronics, requires specially adapted maintenance and repair methods. To avoid a danger of subsequent damage to the apparatus, injuries to persons and/or the creation of additional safety hazards, all maintenance or repair work on the apparatus should be performed only by a QSC authorized service station or an authorized QSC International Distributor. QSC is not responsible for any injury, harm or related damages arising from any failure of the customer, owner or user of the apparatus to facilitate those repairs.
Expected Product Life Cycle: 10 years, Storage Temperature range: —20°F to +70°F, Relative Humidity: range of 5 – 85% RH non-condensing.
Warranty
For a copy of the QSC Limited Warranty, visit the QSC, LLC., website at www.qgsc.com.
Package Contents
- 5.0″TSC TSC-60-G3

- Single gang Wall-Mount Bracket

- Screws #6-32, 38mm [1.5′])

- Wall-Mount Template

- Screwdriver

- NFC Tag

- QSC Limited Warranty

- Safety and Regulatory Statements

TSC-70-G3 / TSC-101-G3
- 7.0″TsC/ 10.1″ TSC TSC-70-G3 or TSC-101-G3

- Dual gang Wall-Mount Bracket

- Screws #6-32, 38mm [1.5″])

- Wall-Mount Template

- Screwdriver

- NFC Tag

- QSC Limited Warranty TD-000453

- Safety and Regulatory Statements TD-001619

Description
The TSC-G3 series Touchscreen Controllers combine projective capacitive multi-touch technology with wide format high definition or full high definition 24-bit color displays. All TSC-G3 series models obtain their power exclusively from Power over Ethernet (PoE) for simplified single cable installation. The TSC-G3 series Touchscreen Controllers can operate in landscape or portrait orientation providing additional design flexibility when installing in a wall, lectern or similar flat surface. The TSC-50-G3 model is designed to mount into a standard single unit (single gang) US or European electrical box, whereas the TSC-70-G3 and TSC-101-G3 models are designed to mount into a standard double unit (dual gang) US electrical box or a variety of NEMA compliant boxes. A mounting bracket is provided with each TSC-G3 Touchscreen Controller model to accommodate a variety of in-wall electrical box, surface mount or alternate mounting configurations. The TSC-G3 series Touchscreen Controllers offer wireless Near-Field Communications (NFC) compliant with NDEF, 1SO, |IEC and FELICA standards supporting a range of security, authentication and hands-free or limited touch applications. The TSC-G3 series Touchscreen Controllers offer an ambient light sensor (ALS) that may be configured for use in managing panel brightness, screensaver utilities or user access based on ambient lighting conditions. The TSC-70-G3 and TSC-101-G3 Touchscreen Controller models include a proximity detection sensor that may be configured to manage panel access or to trigger events or functions based on user presence and/or room occupancy. The TSC-70-G3 and TSC-101-G3 Touchscreen Controller models also offer a USB Type C port that supports audio and/or video bridging to/from Q-LAN. Additionally, the TSC-70-G3 and TSC-101-G3 Touchscreen Controller models offer sophisticated room annunciation LEDs with programmable 24-bit color projection that are configurable through QSC’s Q-SYS Designer Room Scheduling tools. TSC-G3 series Tabletop Stand accessories are available for all TSC-G3 Touchscreen Controller models.
TSC-50-G3 Features
Rear Panel
- Docking Magnet
- RJ45, PoE/+in
- Exhaust vents
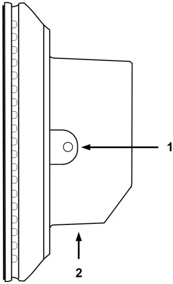
Profile
- Mounting Point for Wall-Mount Bracket
- Regulatory Markings
Front Panel
- Ambient Light Sensor
- NFC Antenna
- 5″, 1280×720 Display
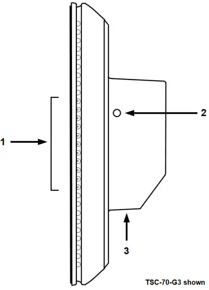
TSC-70-G3 /| TSC-101-G3 Rear & Side Features
Rear Panel
- Docking Magnet
- RJ45, PoE/+in
- USBType C
- Exhaust vents
Profile
- Room Annunciation Indicators
- Mounting Point for Wall-Mount Bracket
- Regulatory Markings
TSC-70-G3 / TSC-101-G3 Front Features
Front Panel
- Proximity Sensor
- Ambient Light Sensor
- NFC Antenna
- 7, 1280×800 Display
Front Panel
- Proximity Sensor
- Ambient Light Sensor
- NFC Antenna
- 10.17, 1920×1200 Display
TSC-50-G3 In-Wall Mounting
NOTE: You canr t%&t the TSC-50-G3 in a landscape orientation when / the junction bo’\ portrait orientation, and vise-versa.
The following proceo% ‘s pre-installed electrical boxes in a portrait orientation. The display orientatior rolled in Q-SYS Designer.
- Mal! \ge Q-LAN cable (3) (CAT-6 / RJ-45), is installed in the surface (2) with sufficiégt length to provide proper stress relief.
- Run the cable through one of the cable openings in the electrical box (1) and through the opening in the center of the mounting bracket (4).
- Align the mounting bracket to the electrical box with the security lock tabs (5) pointing away from the wall.
- Use two supplied screws (6) to secure the mounting bracket to the electrical box.

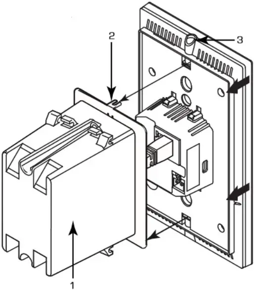
NOTE: |[f you are using a round electrical box, the screws to secure the mounting bracket to the electrical box are not supplied. - Connect the Q-LAN cable (RJ45) (1) to the receptacle on the rear of the TSC (2). Refer to Figure 6.
- Use a Phillips screwdriver (#0) to loosen the locking screws (3) on both ends of the TSC.
- Carefully feed the excess cable into the electrical box (1) and mate the TSC to the mounling brackel (2). You will hear a slight click when the unil is properly maled. Q}
- Use a Phillips screwdriver (#0) to tighten the locking screws (3) on both ends of the TSC.

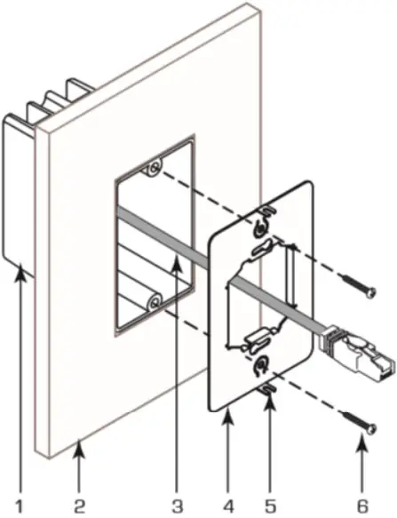
TSC-70-G3 / TSC-101-G3 In-Wall Mounting
A wall-mounting-bracket is inaflluded for mounting to standard US double-gang junction box in portrait or | cape in existing installations. In addition, a surface mounting ring and tem e provided for mounting in a surface without an existing junction bo; The following e uses the surface mounting ring (included) with the TSC installed in a pe orientation. The display orientation is controlled in Q-SYS Designer.
Install the Surface Mounting Ring

- Use a stud finder or probe to locate a suitable mounting position. On the outside of the wall, make sure the body of the TSC does not project into a doorway, hall, window, etc. Use the following for positioning:
- landscape — Make sure there is a minimum of 1.5 in (38.1 mm) for the TSC-70-G3, and 3.5 in (88.9 mm) for the TSC-101-G3 clearance on each side of the template.
- Portrait — Make sure there is a minimum of 1.5 in (38.1 mm) for the TSC-70-G3, and 3.5 in (88.9 mm) for the TSC-101-G3 clearance above and below the template.
- If the text on the template is upright, the template is in landscape orientation. Tape the template onto the wall in the orientation you want.
- Use a sharp utility knife to cut along the outside edges of the slots on the template.
- Remove the template and finish cutting out the opening. The opening should be no more than 4 in x 4 in (101.6 mm x 101.6 mm).
- Use the curved lines as a reference to properly orient the surface mounting ring.
- Landscape mode — reference points are vertical.
- Portrait mode — reference points are horizontal.

- Make sure the Q-LAN cable (4), is installed in the wall or podium, etc. with sufficient length to provide proper stress relief.
- Run the cable out of the wall, and through the surface mounting ring (1)
- Make sure both dog ears, (2) and (3), are folded in so they do not interfere with the wall when the ring is inserted.
- Align the surface mounting ring with the hole cut in the wall, and slide it into the opening. Q’
- Use a Phillips screwdriver to tighten the dog ears ‘b(’ against the inside of the wall. As you tighten the sorg \ the dog ear turns vertical to the clamped position ( The bottom dog ear is shown not tightened (6)
Dimensions



Specifications
| Resolution | HD (1280 x 720) I | WXGA (1280 x 800) I WU/MA (1920 x 1200) | |
| Aspect Ratio | 16:9 | 16 10 | |
| Color | 16.7M (24-bit) | ||
| Contrast ratio | 800:1 | 850:1 | 800:1 |
| Brightness | 450 nits | 400 nits | 380 nits |
| Viewable Area (diagonal) | 4.99″ | 7.00′ | 10.07′ |
| Dimensions (H4W), inches | 3.18 x 5.55 | 4.53 x 7.28 | 6.24 x 9.97 |
| Dimensions (1-1xW). millimeters | 80.7 x 141.0 | 115.0 x 185.0 | 158.5 x 253.2 |
| Youth | PCAP, 5.pos | ||
| Orientation | Landscape or Portrait | ||
| Rear Panel I/0:LAN, PoE/. (power input) | 1 Gbps, Ch AN (data) | 1 Gbps, D.LAN (data, media) | |
| U58 Type C | n/a | USB 3.1, up to 5 Gbps, 5V ®0.5a out | |
| Sensors: Ambient Light | *50′ D 550nm optimal | *50′ # 500-850nm optimal | |
| Proximity Detection | 10cm nominally | ||
| Indicators: LAN | Unk/Activity (Left LED), Speed (Right LED) | ||
| Link/Activity | Off .1 no Link, solid Yellow • Unk, blinking Yellow = Activity | ||
| Speed | Off • 10 Mbps, Yellow • 100 Mbps, Green • 1 Gbps | ||
| Room Annunciation | 24-bit, programmable, high brightness | ||
| NEC: Capabilities | Reader, Initiator | ||
| Antenna (W x L) | 6.0mm 60mm | 6.0mm x 70mm | |
| Power. PoE/PoEt | IEEE 802.31d. class 2 | IEEE *Oast. class 4 | IEEE 802 3at, class 4 |
| Environmental:Operating Temperature Range | Ot – 50’C (321 – 122’F) | ||
| Operating Relative Humidity | 5% to 85% RH, non-condensing | ||
| Storage Temperature Range | -20’C to +71:11Y (-4’F – 1581) | ||
| BTU/h | 18 Typical 26 Typical I 47 Typical | ||
| Vibration | 18 Grins Minimum | ||
| Mounting:In-wall Electrical Box | Single Unit US or EU | Double Unit US or NEMA | |
| Surface Mount_ | Use Single Unit Bracket Sums | Use Double Unit Bracket Supplied | |
| Table Top Stand (optional accessory) | Small (STT-G3) | Medium IMTT-63) | |
| Table Top Stand Orientation | Landscape or Portrait | Landscape | |
| Weight:Product Weight (net) | 9.134a. (249 g) | 19.9 oz. (564 g) | 33.4 or. (947 g) |
| Shipping Weight (gross) | 17A oz. (493 g) | 31.9 oz. (905 g) | 45.4 oz. (1288 g) |
Mailing Address:
QsC, LLC
1675 MacArthur Boulevard
Costa Mesa, CA 92626-1468 U.S.
Main Number: +1.714.754.6175
World Wide Web: www.qsc.com
Sales & Marketing:
Voice: +1.714.957.7100 or toll free
(US. only) +1.800.854.4079
FAX: +1.714.754.6174
E-mail: [email protected]
asc
Technical Services
1675 MacArthur Bivd.
Costa Mesa, CA 92626 U.S.
Tel: +1.800.772.2834 (U.S. only)
Tel: +1.714.957.7150
FAX: +1.714.754.6173Q-SYS™ Customer Support:
Application Engineering and Technical Services
Monday – Friday 7 AM to 6 PM PST (Excludes Holidays)
2417
QSYS™ Customer Support
Tel. +1.800.772.2834 (US. only)
Tel. +1.714.967.7150
Q-SYS 24/7 Emergency Support*®
Tel: +1.888.252.4836 (U.S./Canada)
Tel: +1.949.791.7722 (non-U.S )
*Q-SYS 24/7 Support is for Emergency assistance with Q-SYS systems
only. 24/7 support guarantees a call back within 30 min after a
message is left. Please include, Name, Company, Call Back Number and
description of the Q-SYS emergency for prompt call back. If calling during
business hours please use the standard support numbers above.
Q-SYS Support Email
[email protected]
(Immediate email response times not guaranteed)
































