
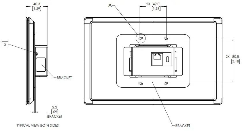
MOUNTING BRACKET INSTALLED
TSC-101-G3 High Definition Touch Screen Controller
THIS DOCUMENT CONTAINS CONFIDENTIAL OR PROPRIETARY INFORMATION WHICH IS THE PROPERTY OF QSC, LLC THAT MAY NOT BE DISCLOSED, REPRODUCED OR USED WITHOUT EXPRESS WRITTEN CONSENT FROM QSC, LLC. NO PORTION OF THIS DOCUMENT MAY BE REPRODUCED, REDISTRIBUTED, OR OTHERWISE DISCLOSED TO ANY THIRD PARTY WITHOUT QSC’S WRITTEN PERMISSION.





















