vanEE 41303 Advanced Touchscreen Control User Guide
READ AND SAVE THESE INSTRUCTIONS
WARNING
Electrical wiring must be done by qualified personnel in accordance with all applicable codes and standards. Before connecting wires, unplug the unit or switch power off at service panel and lock service disconnecting means to prevent power from being switched on accidentally. Always wear safety glasses and gloves while performing these instructions.
CAUTION
Failure to comply with the following can cause erratic operation of the control and/or unit:
- Never install more than one main wall control per ventilation unit.
- Keep control low voltage wiring at least 1 foot (305 mm) away from motors, lighting balast, light dimming circuit and power distribution panel. Do not route control wiring alongside house power wiring.
- Ensure the wires are securely connected.
CAUTION
If ducts have to go through an unconditioned space (e.g.: attic), always use insulated ducts to prevent condensation formation inside and outside ducts, which could cause material damage and/or mold growth. Moreover, if fresh air to building duct and/or stale air from building duct goes/go through an unconditioned space, the unit must be set to operate continuously in cold conditions (below 10°C/50°F). Continuous air movement inside ducts will prevent condensation formation. The unit can be stopped temporarily for maintenance and/or repair purposes in such conditions. (Refer to section 2.2 from unit User and Installer Manual for more details.)
How to Use
This control is compatible with all AI and N series units.
- Unplug the ventilation unit.

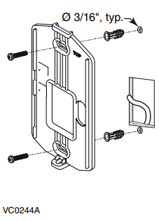
- Unscrew the screw located on the underside of the wall control. Separate the front module from the mounting plate by lifting its bottom part.

NOTE: If the control is to be installed in an electric box, do not perform steps 3 and 4. - Using the mounting plate, mark the hole opening and screw locations at the desired height on the wall.

- Cut the hole opening using the mark previously drawn (1/8″ outside the mark is recommended). Drill both screw holes (3/16″ Ø) in wall and insert the wall anchors (included).

- Fix the mounting plate to the wall using the screws provided.
- Strip the end of the cable to access the 4 wires (about 3″). Strip the end of each wire (about 1/4″). Connect the wires to the terminals, regardless of the wire color. Note which wire color has been chosen for each terminal.

CAUTION
Be careful not to pinch wires when reinstalling the front module on the mounting plate. - Install the front module on the mounting plate. Fix both parts by screwing the screw on the underside of the wall control.

- Perform the electrical connection to the terminal connector of the unit, as shown below. For more details, refer to the installation manual of the ventilation unit.
NOTE: To avoid miswiring, refer to the notes taken at step 6
to match the wire color with the right terminal.
- Plug the ventilation unit in power source.
PRELIMINARY SETTINGS

AVAILABLE MODES

NOTES: Some features may not be available on all units. The temperature displayed on ADVANCED TOUCHSCREEN wall control may vary by 5ºC (9ºF) (more or less) compared to the outside temperature since the temperature sensor is located inside the unit to ensure a reading that optimizes Virtuo Air Technology algorithms.
| NAVIGATION KEYS | |
| To access next screen |
| To access previous screen |
| To confirm |
| To exit screen without saving |
| To get more information on the action(s) to perform on the corresponding screen |
TROUBLESHOOTING
| PROBLEM | POSSIBLE CAUSE(S) | SOLUTION(S) |
| The screen is not powered | The ventilation unit is not powered | Plug the ventilation unit |
| Miswiring/Damaged wire/Contact between wires | Check wall control wiring | |
| The connector J15a is not connected properly | Check J15a connector connection | |
| The wall control is not operational or defective | Check if it uses the same isolated power circuit as the unit on the electronic board | |
| Replace the electronic assembly | ||
| The screen is powered but displays error E50 | Miswiring/Broken wire | Check wall control wiring |
| The touch screen does not work for all the keys | Defective control | Replace the electronic assembly |





























