CRYSTORAMA 534-GA Broche Four Light Chandelier Instruction Manual
ASSEMBLY INSTRUCTION

WARNING
Electrical Danger
Turn Power Off
All electrical components must be installed by a licensed electrician in accordance with the National Electric Code and the appropriate local electrical codes.

You will need 4 -Candelabra Bulb 40 Watts Recommended 60 Watts Max USE LED BULBS FOR EXTENDED USE THIS FIXTURE IS DAMP RATE
How To Install

- Screw the top stem onto the the top of the frame.
- Screw the bottom stem onto the bottom
- Decide the preferred hanging height and choose the correct length of chain needed.
- Raise the fixture up to the ceiling and do the wire connections.
WARNING: This product can expose you to Lead, which is known to the State of California to cause cancer and/or birth defects or reproductive harm. For more information go to www.P65Warnings.ca.gov.
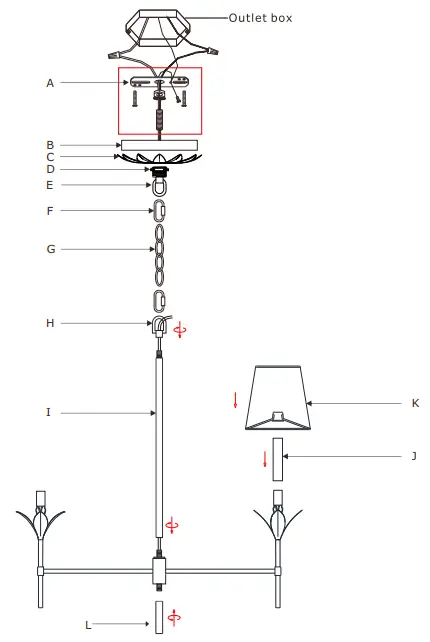
PART NUMBER

A.(1)-Mounting Hardware
B.(1)-Canopy(W4.7″,H0.79″) #XRE514GACAN4.7IN
C.(1)-Decorative Metal Leaves
D.(1)-Collar Ring
E.(1)-Collar Loop
F.(2)-Quick Link
G.(1)-Hanging Chain(72″,4.0mm) #XRE504GACHA4MM
H.(1)-Loop
I.(1)-Top Stem(23.23″,15.9mm) #XRE534GASTEM23.23IN
J.(4)-Candle Sleeve(W0.87″,H3.9″) #XRE516GACDL3.94IN
K.(4)-White Fabric Shade #XRE531SHA6IN
L.(1)-Bottom Stem(3.23″,15.9mm) #XRE534GASTEM3.23IN



















