
android tv Quick Start Set Up Guide
For information on using the TV’s features, please refer to the Operating Instructions.
(Available online to download.)
Model Numbers 32A23B-HD
40A23B-FHD
32A23B-HD, 40A23B-FHD android tv
Quick & easy guide for setting up your TV
What is included in the box
Using the remote control
Setting up the TV for the first time – including attaching the stand and Connecting other devices to the Television
Need help setting up or using your TV?
Please contact the UK & ROI Helpline*
Telephone UK: 0330 024 0804 or ROI 01443 3940
The online support at: www.umc-uk.co.uk
Email support at: [email protected]
‘Calls to 0330 numbers are charged at standard call rates and are included as part of any bundled minutes with your phone provider. Calls to the ROI number are charged at the local call rate. The telephone opening hours are:
Monday to Friday: 8.30am – 6pm.
Saturday: 9am – 5pm.
Bank Holidays: 10am – 4pm.
Closed Christmas and New Years’ day
Using the remote control

Sky Remote Code
If you wish to use your Sky remote to operate the TV’s basic functions, you will need a Sky remote control (Revision 9 or later) and you will need to program it with the code 2134. If you wish to use your Sky Q remote to operate the N’s basic functions, you will need to program it with the code 4170.

Online Manual
To launch the online manual, press the HOME button, select Apps from the Home menu, and select “E-instruction Manual” from the apps list.
What is included in the box
Accessories Included with this TV are the following accessories
1 x Quick Start Guide
1 x Mini YPbPr Cable Required if you wish to conned a device with YPbPr/ Component output to the TV’s Mini YPbPr Input
1 x Stand installation pack
1 x Remote Control and 2 x AAA Batteries
1 x Safety Leaflet 1 x RF Cable

Microsoft PlayReady™
This product contains technology subject to certain intellectual property rights of Microsoft. Use or distribution of this technology outside of this product is prohibited without the appropriate license(s) from Microsoft. Content owners use Microsoft PlayReadyTM content access technology to protect their intellectual property, including copyrighted content. This device uses PlayReady technology to access PlayReady-protected content and/or WMDRM-protected content. If the device fails to properly enforce restrictions on content usage, content owners may require Microsoft to revoke the device’s ability to consume PlayReady-protected content. Revocation should not affect unprotected content or content protected by other content access technologies. Content owners may require you to upgrade PlayReady to access their content. If you decline an upgrade, you will not be able to access content that requires the upgrade.
![]()
Freeview Play brings together live TV viewing with “catch-up” TV services such as BBC iPlayer, ITV player, More4, and Demand 5. The Freeview Play Explore app features a carousel of genres to select from when searching for programs, such as sports, comedy, dramas, soaps, etc. Content is made up of recommendations of the major broadcasters and offers an alternative means of searching.
Note that to use the full functionality of Freeview Play your set must be connected to the internet.
Please save your box/packaging as you will need this in the event of warranty/service repair or support. We are unable to carry out a warranty/service if you are unable to package it correctly. The safest way to package your item in the event of warranty/service repair is in its original box/packaging.
Fitting the stand
Follow steps 1 – 3 to safely install the TV stand
Place the TV set on a flat and clean surface with the panel facing downwards to avoid damage.
When fitting the feet, the longest part of the foot needs to be at the front of the set. In addition, these should be pointing away from each other as shown in the picture above.
When the stand feet are in the correct position, secure the stand feet to the TV set using the 4 screws provided.
Installing batteries

Remove the battery cover from the rear of the remote control and insert the AAA batteries which are supplied in the accessory pack. Ensure that the polarity of the batteries is as shown in the battery compartment. Replace the battery cover. The remote control is ready for use.
Connecting your set

- Connect the TV to your power socket.
- If you wish to use the TV to receive Freeview/Saorview channels, connect the RF input from the TV to your outdoor Digital TV aerial. If you do not wish to receive Freeview/Saorview, skip this step.
- Connect to the internet. Ethernet provides the most stable connection.
- Standby Power On/Off
- Displays the input source menu
- Displays Menu/OSD
- Program/Channel down and menu down
- Program/Channel up and menu up
- Volume down and menu left
- Volume up and menu right

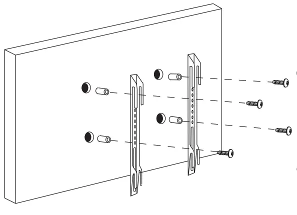
Wall Mounting the TV Optional

- Remove the four screws that are supplied in the wall mounting holes.
- The wall mount can now be easily attached to the mounting holes on the rear of the TV.
- Install the wall mounting bracket to the television as advised by the bracket manufacturer.
The picture shows the use of spacers, which are not applicable to all sets/installations.
For the dimensions of the VESA mounting, please refer to the Technical Specifications section of this document.
Register your product online within 14 days of purchase and get 6 months exTra guitar-L-9 for FREE at: www.umc-uk.co.uk/free6
Registration must be performed online
Please have your proof of purchase/receipt as well as the model/ref and serial number to hand as you will need this during registration. You can find the model/ref and serial number either on the box/packaging or on the label on the rear of the TV.

The small print..
This offer is ONLY available online. ‘egister your product at www.umc-uk.co.uk/free6 within 14 days of purchase and ou will receive an extra 6 months manufacturers guarantee FREE of charge, giving you 18 months instead of the usual 12 months
First-time installation
vary Basic installation steps are shown below. These may va slightly depending on your model. Due to Android software updates, the look and feel of the TV start-up procedure and subsequent menus can be subject to change.
When the set first turns on, it will ask you to select your preferred on-screen display language. This will change the language in which the menus and associated information is displayed in.
Android Phone users During the set-up process, you will be prompted to sign in to your Google account using your pre-installed “Google” app. This setup process will depend upon which model TV you are setting up. Please ensure you have your account details to hand.
Pairing the remote
If during the first time installation process the remote was not paired or skipped, then follow the process below to pair your remote with the television.
- Turn the set on.
- Press the
button on the remote control. - The LED indicator on the remote will illuminate and the pairing screen will appear on the TV.
- Now press and hold the “Left” and “Home” buttons on the remote simultaneously.

- The LED indicator on the remote control will start to flash.
- Select the detected remote control shown on the screen and press OK.
- Once paired the pairing screen will disappear.
This process will only need to be carried out if the remote is not paired. Once paired, when the E button is pressed it will open the Google Assistant screen on the set and activate voice functionality.
The Google Assistant

Remote controls with the Google Assistant have a Google Assistant dedicated button and a built-in microphone. To use this feature with the Google Assistant remote control, follow the instructions as below.
- Before using Google Assistant, you will need to pair the remote. Please follow step 5 of this guide to pair your remote to enable Google Assistant.
- Press the
button. The LED indicator on the remote control will illuminate. - Wait for the on-screen message from the Google Assistant, then speak into the microphone. A good rule of thumb is to have the microphone positioned about 15-30 centimeters away from your mouth. By speaking into the microphone, you can search for various content or control your connected smart home devices. Speech examples may be displayed on the television screen depending on your model.
Connectivity
Use this connectivity guide to identify the location of the TV’s inputs and outputs.

| A | LAN* | Network Connection |
| B | Digital audio | Digital optical audio output |
| C | HDMI 1 (ARC) | HDMI input |
| D | HDMI 2 | HDMI input |
| E | HDMI 3 | HDMI input |
| F | Video | Composite/CVBS in |
| G | UR | Audio shared for Composite/CVBS and Component/YPbPr |
| H | Earphone | Earphones input |
| I | SAT in | Satellite input |
| J | RF in | RF/TV Aerial input |
| K | USB 2.0 | USB 2.0 input x2 |
| L | Mini YPbPr in | HD input (YPbPr) |
| M | CI card in | Common interface module |
* The Ethernet/LAN port is used for Freeview HD services and smart functions.
TECHNICAL SPECIFICATION
Product fiche
| Trademark | Technika | |
| Model ID | 32A23B-HD | 40A238-FHD |
| Energy efficiency class | A+ | |
| Visible screen size (diagonal) | 32″/ 81cm | 40″/ 102cm |
| On-mode power consumption | 31.0W | 45.0W |
| Annual energy consumption *1 | 45 kWh | 66 kWh |
| Standby power consumption *2 | <0.50W | |
| Off-mode power consumption | N/A | |
| Screen resolution | 1366 (H) x 768 (V) | I 1920 (H) x 1080 (V) |
| *1:Energy consumption XYZ kWh per year, based on the power consumption of the television operating 4 hours per day for 365 days. The actual energy consumption will depend on how the television is used. *2:When the TV is turned off with the remote control/standby button and no function is active. | ||
| 32A23B-HD | 40A23B-FHD | |
| RF | 75 ohm Antenna / Analog / DVB / Satellite | |
| Inputs | 3 x HDMI, 2 x USB, 1 x RJ4S LAN/Ethernet, lx CVBS/Video input, lx Mini Component/YPbPr input 1 x L/R Audio input for Composite/CVBS & Component YPbPr | |
| Sound Outputs | 1 x Digital Optical Audio output, 1 x 3.5mm Headphone | |
| Speaker*/ Amplifier Watts (RMS) | 2 x 10/2 x 8 | |
| Voltage and power consumption | AC 220V ∼ 240V; 50Hz 31/45/70W (home mode/standard/max) (0.5W in Standby) | AC 220V ∼ 240V; 50Hz 45/65/80W (home mode/standard/max) (0.5W in Standby) |
| Dimensions including stand (mm) | 739W x 488H x 160D | 906W x 551H x 198D |
| Net weight (Kgs) | 4.8 | 8.1 |
| Wall Mounting | VESA 200 x 100 (mm) | VESA 200 x 200 (mm) |

Enjoy a world-class audio experience with the JBL sound system built-in
The terms HDMI, HDMI High-Definition Multimedia Interface, and the HDMI Logo are trademarks or registered trademarks of HDMI Licensing Administrator, Inc.
Google, Google Play, YouTube, Android TV, and other marks are trademarks of Google LLC.
Manufactured under license from Dolby Laboratories. Dolby, Dolby Audio, and the double-D symbol are trademarks of Dolby Laboratories Licensing Corporation.


TEC/QSW/0004


















