BROAN DEH 3000 Ultra-Aire Dehumidifier Digital Control

SAFETY INSTRUCTIONS
READ THE INSTALLATION, OPERATION AND MAINTENANCE INSTRUCTIONS CAREFULLY BEFORE INSTALLING AND OPERATING THIS DEVICE. PROPER ADHERENCE TO THESE INSTRUCTIONS IS ESSENTIAL TO OBTAIN MAXIMUM BENEFIT FROM YOUR ULTRA AIRE WHOLE HOUSE VENTILATING DEHUMIDIFIER.
WARNING!
THIS SYMBOL MEANS IMPORTANT INSTRUCTIONS. FAILURE TO HEED THEM CAN RESULT IN SERIOUS INJURY OR DEATH.
CAUTION!
THIS SYMBOL MEANS IMPORTANT INSTRUCTIONS. FAILURE TO HEED THEM CAN RESULT IN INJURY OR MATERIAL PROPERTY DAMAGE.
SPECIFICATIONS
| DEH 3000 Part Number: | 4028539 |
| DEH 3000R Part Number: | 4028407 |
| Operating Voltage: | 24 VAC |
| Max Current – DMP, COMP, FAN: | 1 Amp each |
| Humidity Range/Accuracy: | 10 – 95% RH, ± 5% |
| Auxillary Relay Capacity: | 5 Amps, 24 VAC |
| Temp Range/Accuracy: | 30°-90° F, 2% |
| Dimensions: Width: | 1.06″ |
| Height: | 4.19″ |
| Length: | 4.95″ |
INSTALLATION
Install the DEH 3000 control or the remote sensor portion of the DEH 3000R in a central area of the structure where it will sense the relative humidity of the structure accurately. Do not install the control panel or remote sensor where it may not accurately sense the relative humidity such as near HVAC supply registers, near exterior doors and windows, or near a pool or spa. Install in accordance with all applicable codes and standards.
- Separate the front panel from the back panel by depressing the middle sections of the top and bottom of the front panel.
- Locate the wiring access hole in the wall or other flat mounting surfaces. Place the back panel into position and drill the appropriate mounting holes.
- Insert the screws and tighten. Level as necessary.
- Make the electrical connections to the terminals on the back panel as shown in the applicable wiring diagram (Page 5).
- Test the installation (Page 9).

WIRING
WARNING!
- DO NOT ALLOW THE YELLOW WIRE OR +24V TERMINAL ON THE ULTRA AIRE DEHUMIDIFIER TO COME IN ELECTRICAL CONTACT WITH THE RED/WHITE WIRES OR COM/DMPR TERMINALS ON THE ULTRA AIRE DEHUMIDIFIER OR DAMAGE TO THE TRANSFORMER WILL RESULT.
- THE REMOTE CONTROL OF THE ULTRA AIRE DEHUMIDIFIER OPERATES ON A LOW VOLTAGE CIRCUIT (24 VAC) AND MUST NEVER CONTACT OR BE CONNECTED TO A HIGH VOLTAGE CIRCUIT.
- UNPLUG THE ULTRA AIRE DEHUMIDIFIER BEFORE WIRING THE DEH 3000/R.
The installer must supply all field wiring, including the wiring between the Ultra Aire dehumidifier and the DEH 3000/R. Some of the control wires or terminals on the dehumidifier may not be used in some control situations and should be left disconnected with wire nuts taped onto the stripped ends (if necessary). Be sure to consult the electrical schematic in this manual or the internal electrical box of the Ultra Aire dehumidifier before making any control connections as it may vary by model.
- Terminal Block Configuration Version 1
- Terminal Block Configuration Version 2

WARNING!
ONLY CONNECT THE DMPR TERMINAL TO THE CONTROL IF IT IS WIRED IN A CIRCUIT THROUGH AN ELECTRIC DAMPER, OTHERWISE TRANSFORMER DAMAGE MAY RESULT.
The White wire controls the optional motorized damper that can be installed into a fresh air duct. This damper provides the ability to control fresh air ventilation using the ventilation timer function of the DEH 3000/R and the terminal labeled “DMP” on the DEH 3000/R (Page 13). Leave the “DMP” terminal unused if a motorized damper is not used.
Standard Wire Colors for Thermostats:
| 24VAC | Red | R |
| Call for Heat | White | W or W1 |
| Force Fan On | Green | G |
| Compressor Call for Cooling | Yellow | Y or Y1 |
Terminal Block Control Operation:
Terminal Function Version 1:
- COM 24Vac Power Transformer Neutral Side
- FAN Fan Control
- 24V Transformer High Side
- DEHU Dehumidification (Fan and Compressor) Control
- DMPR 24Vac Power Transformer Neutral Side Spare Terminal (Open)
Terminal Function Version 2:
- COM 24Vac Power Transformer Neutral Side
- FAN Fan Control
- 24V Transformer High Side
- DEHU Dehumidification (Fan and Compressor) Control
- FLOAT External low voltage float switch or water sensor (use normally closed switch)
- FLOAT External low voltage float switch or water sensor (use normally closed switch)
Auxiliary Relay Operation
It may be desirable to coordinate fan operation of the central heating/cooling system with dehumidifier fan operation. The DEH 3000/R contains a relay that provides this ability.
Common Uses
(assuming standard thermostat wiring colors as noted):
Lock-Out the A/C During Dehumidifier Fan Operation (Figure 1)
This will turn off the A/C whenever the dehumidifier fan runs.
- Wire the Yellow thermostat terminal to the NC terminal on the DEH 3000/R.
- Run the Yellow wire from the A/C unit to the COM terminal on the DEH 3000/R.
Energize the A/C Central Fan During Dehumidifier Fan Operation (Figure 2)
To automatically run the A/C FAN when the dehumidifier fan runs.
- Attach a second Green wire to the FAN terminal on the thermostat.
- Connect the new Green wire to the COM terminal on the DEH 3000/R.
- Run a wire from the Red terminal on the thermostat to the NO (Normally Open) terminal on the DEH 3000/R.

Dehumidifier Lock-Off or Lock-On
A/C Sensor Feature
To automatically activate or deactivate the dehumidifier when the air conditioner runs.
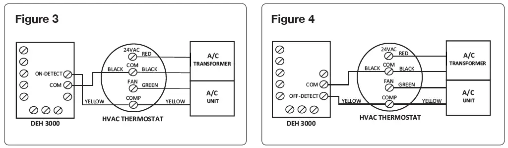
Activate Dehumidification When the A/C is Running (Figure 3)
A voltmeter is required for the next steps to ensure the correct wiring from the A/C transformer is used to set up the Lock-On dehumidifier function.
- The common wire from the existing A/C transformer (usually Black) must be attached to the “COM” sensor terminal between “ON-D” and “OFF-D” on the DEH 3000/R.
TIP: The common wire can be identified as the wire from the A/C transformer that reads 0 volts between it and the Yellow air conditioning call for cooling wire. The incorrect wire will give a 20 to 28-volt reading. - Another Yellow wire must be added to the thermostat Yellow terminal and run to the “ON-D” sensor terminal on the DEH 3000/R.
Deactivate Dehumidification When the A/C is Running (Figure 4)
A voltmeter is required for the next steps to ensure the correct wiring from the A/C transformer is used to set up the Lock-Off dehumidifier function.
- The common wire from the existing A/C transformer (usually Black) must be attached to the “COM” sensor terminal between “ON-D” and “OFF-D” on the DEH 3000/R.
TIP: The common wire can be identified as the wire from the A/C transformer that reads 0 volts between it and the Yellow air conditioning call for cooling wire. The incorrect wire will give a 20 to 28-volt reading. - Another Yellow wire must be added to the thermostat Yellow terminal and run to the “OFF-D” sensor terminal on the DEH 3000/R.

Testing
Verify the wiring connections.
WARNING!
ONLY CONNECT THE DMPR TERMINAL TO THE CONTROL IF IT IS WIRED IN A CIRCUIT THROUGH AN ELECTRIC DAMPER, OTHERWISE TRANSFORMER DAMAGE MAY RESULT.
After checking the wiring, this short test will confirm proper hook-up.
- Install the front cover of the DEH 3000/R; connect the top first, then the bottom.
- Plug in the Ultra Aire dehumidifier. The DEH 3000/R should power up.
- Turn the DEH 3000/R ON by pressing the “ON/OFF” button.
- Verify the dehumidification operation by adjusting the RH “SETPOINT” to below the “%RH” reading on the display. Use the down “RH” button. Confirm Ultra Aire fan and compressor operation. Both should be ON now.
Increase the RH “SETPOINT” on the display to well above the “%RH” reading on the display. Press the “RH” up arrow to increase the RH “SETPOINT”.
After running the dehumidifier compressor, the DEH 3000/R applies a 10-minute restart lockout on all functions. You will have to wait for the restart lockout to expire. - Verify FAN-only operation:
- Check the “VENT” mode on the display, it will either be “CLOSED” or “OPEN”. If it is “CLOSED”, go to the next step. If it is “OPEN”, press and hold the “VENT” key until “OPEN” flashes on the display, release the key and then press it one more time. “OPEN” will change to “CLOSED”. Don’t touch the keys for several seconds until it stops flashing.
- Press and hold the “FAN” button until “AUTO” begins flashing on the display, release it, and then press it again to switch the fan to the “ON” setting.
- Confirm that the Ultra Aire fan is ON. Ultra Aire compressor must be OFF. The ventilation damper (if used) should be CLOSED.
- Verify optional VENT operation (if the motorized damper is installed):
- Press and hold the “FAN” button until “ON” flashes on the display.
- Release the “FAN” button, then press it again to switch fan operation to “AUTO”.
Press and hold the “VENT” button until “CLOSED” flashes on the display. - Release the “VENT” button, then press it again to switch vent mode to “OPEN”.
- Confirm that the Ultra Aire fan is ON. The ventilation damper is OPEN. Ultra Aire compressor must be OFF.
- Press and hold the “VENT” button until the “OPEN” flashes on the display.
- Release the “VENT” button, then press it again to switch vent mode to “CLOSED”.
WARNING!
DO NOT MAKE ANY OTHER CONNECTIONS OR TRANSFORMER DAMAGE MAY RESULT.
- Verify any additional optional control operations such as fan interlock or A/C lock-out.
- Proceed to the Operation section (Page 11).
Troubleshooting
CAUTION!
TROUBLESHOOTING SHOULD BE PERFORMED BY A QUALIFIED HVAC TECHNICIAN.
WARNING!
ELECTRICAL SHOCK HAZARD. ELECTRICAL POWER MUST BE PRESENT TO PERFORM SOME TESTS. THESE TESTS SHOULD BE PERFORMED BY A QUALIFIED SERVICE PERSON.
| Symptom | Possible Reason | Troubleshooting Procedure |
| No display on the initial start-up. | This is often the result of a drained capacitor. The the capacitor will recharge once power is applied or re-applied to the unit. | 1. Verify unit has power. 2. Turn unit off then on. 3. Disconnect the unit from the power source then re-apply power to the unit. The display should now operate. |
| Function not working properly. | 1. Verify wiring. 2. Verify voltage with a voltmeter. | |
| Dehumidifier not | See chart below: | |
| working properly. | Wire Terminal | |
| Connections Connections Operation | ||
| Yellow & Blue 24V and DEHU Fan & Compressor | ||
| Yellow & Green 24V and FAN Fan Only | ||
| Note: A jumper or normal closed float switch must | ||
| be installed from FLOAT to FLOAT. |
OPERATION
For Installer and Homeowner:
On the display screen, a solid “O” in front of any of the 3 functions (SETPOINT, VENT, FAN) indicates the function is operating. A flashing “O” indicates it is in a wait mode and not available at the moment. No “O” indicates the function is currently OFF.
Solid “O” Before Indicates
- SETPOINT Dehumidifier on
- VENT Fresh air ventilation cycle in progress
- FAN Fan on
Wait mode is a factory-programmed time period meant to prevent short cycles. This extends the life of the dehumidifier. When a flashing “O” is encountered, the unit is in wait mode and IT COULD BE UP TO 10 MINUTES BEFORE the OPERATION RESUMES.
Display
- Whenever there is power to the control, it will display the time, the day, %RH, and temperature.
- When the control is actually switched ON, the %RH setpoint, fan status, run mode (program or hold), and fresh air ventilation status is displayed.
- When a key is pressed the display will light for approximately 30 seconds.
- Time and Day are displayed at the top of the screen.
- RH and Temperature are displayed in real-time.
- A solid “O” before the SETPOINT, VENT, OR FAN indicates the function is operating.
- A flashing “O” before the SETPOINT, VENT, OR FAN indicates the unit is in wait mode.
- When the system is OFF, the control will display the time, day,%RH, and temperature.
- When the unit is shipped, it is in manual (hold) mode.
DEH 3000/R ON
DEH 3000/R OFF
Set Up
During the set-up process, if you make a mistake, simply continue. You can always go back to adjust the settings. If you leave the control alone and don’t touch any buttons for 10 seconds, the control will remember any changes made and return to the normal display screen, allowing you to proceed to the next step.
Setting Clock Time
- Press and hold the “CLOCK” button. The hour display will flash. Release the button.
- Use the up/down “RH” buttons to change the value.
- Press the “CLOCK” button again and the minute display will flash. Use the “RH” buttons to change the value.
- Press the “CLOCK” button again and AM or PM will flash. Use the “RH” buttons to change the value.
- Press the “CLOCK” button again and the day display will flash. Use the “RH” buttons to change the value.
- Don’t touch any buttons for several seconds until the display stops flashing, this will save your settings. If you need to change anything, go back to step #1.
Adjusting the Relative Humidity “SETPOINT”
The DEH 3000/R senses the ambient relative humidity (%RH) of the space in which it is located. It comes factory preset to hold 50% relative humidity.
The relative humidity “SETPOINT” (desired RH to be maintained) operates the dehumidifier function of the Ultra Aire dehumidifier. It has no effect on the optional VENT (fresh air ventilation) or FAN (household air recirculation) functions if they are being used. The standard range that the dehumidifier holds around your “SETPOINT” is 3%. With a setpoint of 50%, the dehumidifier will run until the relative humidity reaches 47%. The dehumidifier will then switch off until the relative humidity reaches 53%.
If the setpoint is higher than the ambient relative humidity, the space does not need to be dehumidified, so the dehumidifier will not run.
Example: Setpoint: 50% RH
Current condition: 45% RH –The dehumidifier will be off (no “O” indicator will be displayed). If your setpoint is below the ambient condition, the dehumidifier will be on and “O” will display.
Example: Setpoint: 50% RH
Current condition: 55% RH –The dehumidifier will be on (“O” displayed).
Temperature Cutout Programming
Dehumidifiers produce heat when dehumidifying and depending upon outside conditions, the ventilation function may also introduce warm air. Some conditions may introduce enough heat to drive household temperatures up. The DEH 3000/R temperature cutout feature disables all Ultra Aire operations if household temperatures reach the cutout setpoint.
In most installations, this feature will not need to be used (the cutout is factory set to 99°F). If a lower temperature cutout is desired, program the setpoint by pressing and holding the “PROGRAM ENTER” button until the “PROGRAM” screen appears. Press the up/down “RH” buttons until “TEMP CUTOUT” is highlighted. Then press the “PROGRAM ENTER” button again to select it. Now use the “RH” up or “RH” down buttons to adjust the setpoint. Press “PROGRAM ENTER” to return to the home screen.
Personal Settings Reference List
Please record your settings here.
Function Factory Setting My Setting
- SETPOINT (%RH) 50%
- VENT Closed
- FAN Auto
- TEMP CUTOUT 99°
Fan Setting and Operation
Use the “FAN” button to change the fan operation. There are 2 choices for fan operation: “ON” or “AUTO”. The factory preset is “AUTO”.
“ON” –The fan in the Ultra Aire dehumidifier will run continuously. This does not affect either the dehumidification or ventilation functions of the system. The system may or may not be ventilating or dehumidifying while the fan is running. This setting is commonly used for maximum air filtration and/or air recirculation.
“AUTO” – Indicates the fan will run when the DEH 3000/R calls for dehumidification or ventilation.
If the control has not called for dehumidification for 3 hours, the control will automatically run the dehumidifier fan for 10 minutes.
After a dehumidification cycle, the fan automatically shuts off for 10 minutes. This pause allows the water to drain from the dehumidifier. A solid “O” indicates the fan is operating. A flashing “O” indicates the fan is in a wait mode. No “O” indicates the fan is OFF.
To set the operation:
- Press and hold the “FAN” button. The current fan setting will begin to flash on the display. Release the button.
- Press the “FAN” button to toggle between the “ON” and “AUTO” modes.

With the fan in the “AUTO” mode, the fan will operate only when needed by other functions of the system. The fan will remain OFF unless the system is dehumidifying or ventilating. The fan always runs during dehumidification and ventilation and the fan “O” icon will be lit. To completely turn the system OFF, use the “ON/OFF” button as described earlier.
Damper Operation and Ventilation, Manual (Hold) Mode
The “VENT” setting controls the ventilation function of the system. It has no control over the dehumidification function. In order to provide ventilation, the motorized damper must be open and the fan must be running. The controller takes care of these two functions automatically so that whenever the damper is open, the fan is running.
The ventilation indicator “O” will be displayed whenever the unit is ventilating. The fan operation indicator “O” will also be displayed.
There are three damper operation modes:
- “OPEN” – hold mode: The damper will be open and the dehumidifier fan will be continuously operating to introduce fresh air into the space. Use this mode for continuous fresh air ventilation. The fan is always on when the damper is open.
- “CLOSED” – hold mode: The damper will never open, and the dehumidifier will not ventilate. The fan will still operate normally for recirculation and dehumidification.
- “PROGRAM” mode: The DEH 3000/R will operate the motorized damper and the dehumidifier fan according to the programmed ventilation schedule (Page 14).

The factory preset for the “VENT” setting is “CLOSED”.
To set “OPEN” – hold or “CLOSED” – hold ventilation operation:
- Press the “VENT” button. The current setting will begin to flash on the display. Release the button.
- Press the “VENT” button again to switch between “OPEN” and “CLOSED”.
- Leave the control alone for 10 seconds and your settings will be saved.
Damper Operation and Ventilation, Programmed Ventilation
This example shows the system in program mode denoted by the schedule 15 minutes on, 5 minutes off and the word “RUN” in the lower right corner of the display. The DEH 3000/R will operate fresh air ventilation according to your ventilation program. The control needs to be programmed to turn the ventilation function ON and OFF at the desired intervals. This is done by programming the ventilation timer.
There are two programs available for ventilation:
- Monday through Sunday
- Monday through Friday & Saturday/Sunday
Each block of days has a morning schedule and a night schedule. Morning is the first 12 hours of the day and night is the second 12 hours.
Each schedule has:
- “START” time when the ventilation schedule begins
- “OPEN FOR” duration for the amount of time the damper stays open in 5-minute intervals from 0 to 60
- “CLOSED FOR” duration which closes the damper for a specified time in 5-minute intervals from 0 to 60
Setting the Ventilation Program
- Press the “PROGRAM ENTER” button until the menu to the right appears.
- Using the up/down “RH” buttons, highlight “PROGRAM” and select it by pressing the “PROGRAM ENTER” button.

You can select from:
“MON-FRI” “SAT-SUN” for separate weekday and weekend schedules, or “MON-SUN” which gives you equal weekday and weekend schedules. - Using the up/down “RH” buttons, highlight and then select one of the two choices.

The display to the right shows the menu when a separate weekday and weekend schedule is selected (“MON-FRI” “SAT-SUN”).
- Enter the starting time for weekdays using the up/down “RH” buttons to change the time.
- Press the “PROGRAM ENTER” button to switch to the “OPEN FOR” setting. Using the up/down “RH” buttons, change the duration that the damper will ventilate fresh air.
- Press the “PROGRAM ENTER” button to switch to the “CLOSED FOR” setting. Using the up/down “RH” buttons, change the duration that the damper will remain closed between ventilation cycles.

For the example given, starting at 8:00 AM in the morning, the control will ventilate fresh air for 15 minutes then stop for 15 minutes. This schedule of 15 minutes open, 15 minutes closed will continue until the start time of the night schedule. The morning schedule is available anytime from 12:00 AM until 11:59 AM. The night schedule is available anytime from 12:00 PM until 11:59 PM. - Press “PROGRAM ENTER” again to go to the “MON-FRI” night schedule. Repeat the steps listed above for this and the “SAT-SUN” day and night schedules.
When you have finished programming your schedule (either the 7-day version or the weekday/weekend split version), use the down “RH” button to highlight the EXIT option and then press “PROGRAM ENTER” to select it.
Running the Ventilation Program
Press and hold the “PROGRAM ENTER” button until the “PROGRAM” screen appears as shown below.
Use the down “RH” button to highlight “RUN PROGRAM”. Then press “PROGRAM ENTER” to select it. The display below will appear.
Calibration and Offset
In the event the display shows a humidity reading that is different than that in the room, the RH or temperature display can be adjusted to show a value higher or lower. Calibration mode will be entered by simultaneously holding the SET POINT up key and ON/OFF key, then pressing the PROGRAM key for 5 seconds. The RH will flash. It can be adjusted up or down by pressing the SET POINT keys. By pressing the PROGRAM key again, the “TEMPERATURE” starts flashing. The temperature can be adjusted the same way. Pressing the PROGRAM key again exits this mode. If no key is pressed for 5 seconds, the control exits this mode.
Calibration Reset While setting the offset (RH or Temp is Flashing)
If you hold the program button for two seconds, the offset will be set to the default of 0.
REMOTE SENSOR OPTION
This section is applicable only to customers who have purchased a remote sensor package. The standard DEH 3000 controller does not offer remote functionality.
WARNING!
THE USE OF SPRAY PAINT ON THE SENSOR HOUSING MAY DAMAGE THE SENSOR AND IS NOT COVERED BY THE PRODUCT WARRANTY.
The remote sensing option is used when an installation requires mounting the DEH 3000 out of the conditioned space or when it is desired to specifically monitor and control the conditions at a particular location in a larger conditioned space.
Both the need for and location of the remote sensor should be determined by a heating/cooling professional. In most installations, the onboard sensor in the DEH 3000 will be sufficient to monitor and control the conditioned space.
Install and Wiring Instructions
Routing Signal Wires
You will be required to supply and route 24 gauge, 4 conductors solid wire (2-line telephone wire) between the DEH 3000R controller and the remote sensor location. The wiring run should be no longer than 100 ft. Avoid routing this interconnect wire parallel to high voltage wiring. Maintain a distance of 2 ft. or more from high voltage lines.
Sensor Connection
The sensor can be mounted to a wall or ceiling surface. The ideal sensor location is 5 ft. above the floor. Wires should exit through a ½” diameter hole in the mounting surface at the mounting location. Use the provided splice connectors to connect the 4 wires from the remote sensor to the user-supplied interconnect wire. Be sure to keep proper colors attached to each other.
Sensor Mounting
You will need two screws to mount the sensor. Use the two slotted holes to mount the base of the sensor to the wall and then snap the cover into place.
Controller Connection
Use the provided splice connectors to connect the 4 wires from the DEH 3000R to the user-supplied interconnect wire. Be sure to keep the proper colors attached to each other.
Continue with the installation as described in the rest of this manual.
WARRANTY
Warrantor:
- Broan 4201 Lien Road Madison, WI 53704
- Telephone: (800) 533-7533
Who Is Covered:
This warranty extends only to the original residential end-user of the DEH 3000/R Dehumidifier & Ventilation System Controller, and may not be assigned or transferred. First Year Warranty: Broan warrants that, for one (1) year the DEH 3000/R Dehumidifier & Ventilation System Controller will operate free from any defects in materials and workmanship, or Broan will, at its option, repair or replace the defective part(s), free of any charge.
End-User Responsibilities:
Warranty service must be performed by a Servicer authorized by Broan. If the end-user is unable to locate or obtain warranty service from an authorized Servicer, he should call Broan at the above number and ask for the Broan Service Department, which will then arrange for covered warranty service. Warranty service will be performed during normal working hours.
The End-user must present proof of purchase (lease) upon request, by use of the warranty card or other reasonable and reliable means. The end-user is responsible for normal care. This warranty only applies to residential applications and does not cover any defect, malfunction, etc. resulting from misuse, abuse, lack of normal care, corrosion, freezing, tampering, modification, unauthorized or improper repair or installation, accident, acts of nature or any other cause beyond Therma-Stor LLC’s reasonable control.
Limitations and Exclusions:
If any DEH 3000/R Dehumidifier & Ventilation System Controller part is repaired or replaced, the new part shall be warranted for only the remainder of the original warranty period applicable thereto (but all warranty periods will be extended by the period of time, if any, that the DEH 3000/R Dehumidifier & Ventilation System Controller is out of service while awaiting covered warranty service).
UPON THE EXPIRATION OF THE WRITTEN WARRANTY APPLICABLE TO THE DEH 3000/R Dehumidifier & Ventilation System Controller OR ANY PART THEREOF, ALL OTHER WARRANTIES IMPLIED BY LAW, INCLUDING MERCHANTABILITY AND FITNESS FOR A PARTICULAR PURPOSE, SHALL ALSO EXPIRE. ALL WARRANTIES MADE BY Broan ARE SET FORTH HEREIN, AND NO CLAIM MAY BE MADE AGAINST Broan BASED ON ANY ORAL WARRANTY. IN NO EVENT SHALL Broan, IN CONNECTION WITH THE SALE, INSTALLATION, USE, REPAIR OR REPLACEMENT OF ANY DEH 3000/R Dehumidifier & Ventilation System Controller OR PART THEREOF BE LIABLE UNDER ANY LEGAL THEORY FOR ANY SPECIAL, INDIRECT OR CONSEQUENTIAL DAMAGES INCLUDING WITHOUT LIMITATION WATER DAMAGE (THE END-USER SHOULD TAKE PRECAUTIONS AGAINST SAME), LOST PROFITS, DELAY, OR LOSS OF USE OR DAMAGE TO ANY REAL OR PERSONAL PROPERTY.
Some states do not allow limitations on how long an implied warranty lasts, and some do not allow the exclusion or limitation of incidental or consequential damages, so one or both of these limitations may not apply to you.
Legal Rights:
This warranty gives you specific legal rights, and you may also have other rights which vary from state to state. www.Broan-Nutone.com | 800.558.1711.
























