TRANSPLANTER CO 1100 Christmas Tree Tran splanter
Instructions
1100 Christmas Tree Transplanter
| Part Numbe | Description: |
| 12 | Direct drive tire & rim (22x11x8 knobby) |
| 15 | Chain guard clip pin |
| 31 | Main frame of rear half |
| 32 | Wheel chain tightener spring |
| 35 | 1/4 X 15″ chain for direct drive |
| 38 | Wheel hub w/sprocket |
| 39 | Main frame of front half |
| 40 | Left clamp less U-Bolt |
| 42 | Right clamp less U-Bolt |
| 43 | Shoulder bushing |
| 44 | Chain lift plate |
| 47 | 4X 7/7 X 7 securing plate |
| 48 | Left 4×4/4×7 direct drive clamp |
| 49 | Right 4×4/4×7 direct drive clamp |
| 328 | 3/4″ flange block |
| 373 | Chain tightener spring |
| 375 | Water trip |
| 375W | Water trip washer |
| 376S | Tension spring (10 & 12 pocket) |
| 377R-555ML | CA555 Connector pin & cotter |
| 386 | Shaft/Axle/Hitch bar |
| 386P | Shaft clip pin |
| 395DDS | Double disc shoe with discs (5/8″ bearing) |
| 395DDSP | Poly double disc shoe with discs (5/8″ bearing) |
| 395R | 7″ round point shoe |
| 440 | Pocket spring with UHMW rollers |
| 445 | Rubber gripper for V-3 pocket |
| 450 | Pocket main frame |
| 452 | Pocket attaching bolt |
| 4740 | Counter balance clip |
| 529WP | Wide wheel scraper plastic only |
| 530 | Wheel scraper mounting bracket |
| 639RB | Regular packing wheel for roller bearing sleeve |
| 649NL | Left side shoe mount/shield |
| Part Number | Description: |
| 649NLDD | Left double disc shoe shield |
| 649NR | Right side shoe mount / shield |
| 649NRD | Right double disc shoe shield |
| 740 | 7/8″ V-bend U-bolt with nuts |
| 1000SS | Double disc shoe spacer |
| 1925 | Chain tightener sprocket only |
| 4672 | 1/2 moon woodruff key |
| 4740 | Counter balance clip |
| 5019 | Mounting bracket |
| 5024B | 3/4 oilite bearing for scissor hitch |
| 5031 | 1/4 X 3/4 flat head stainless steel |
| 5077 | Double sprocket cluster chain – #40 x 80P |
| 5080HX | Double sprocket cluster with 7/8″ hex hub |
| 5081HX | Triple sprocket cluster for hex |
| 5084HX | Hex lower shaft on toolbar drive system |
| 5085HX | Hex middle shaft on toolbar drive system |
| 5089 | Chain tightener roller (2″ long) |
| 5113 | 7/8″ hex flange block |
| 5149 | Pin for mounting front chain guard |
| 5552 | 20 tooth spacing gear |
| 5553 | 22 tooth spacing gear |
| 5554 | 24 tooth spacing gear |
| 5563-6 | Close spacing chain add on – #40 x 6P |
| 5565 | Direct drive mounting plate |
| 11100AL | Left hex axle |
| 11100AR | Right hex axle |
| 11100PF | 1100 frame |
| 11101 | Hex packing wheel bearing |
| 11102 | Packing wheel hub with bearings |
| 11105RL | Pair of pocket guides for 1100 |
| 11106 | Bearing spacer |
| 11107 | Model 1100 spacer between the uprights |
| 11108 | Upper conveyor sprocket (12T) |
MODEL 1100 Parts Continued
| Part Number | Description: |
| 11109 | Lower conveyor sprocket (10T) |
| 11115 | Top sprocket shaft |
| 11116 | Lower sprocket jackshaft |
| 11120 | 1100 Upright lower section |
| 11121 | Model 1100 Upright top section |
| 11122 | Chain tightener bearing on upright |
| 11123 | Model 1100 pocket chain tightener studs |
| 11124 | Upright assembly with bearing |
| 11130 | Wheel scraper complete |
| 11130L | Left 1100 wheel scraper extension |
| 11130R | Right 1100 wheel scraper extension |
| 11137 | 16 attachment roller conveyor chain |
| 11138 | Lynch pin for 1100/5500 spacing sprockets |
| 11139 | Drive pin |
| 11142 | 15 tooth spacing gear |
| 11144 | 17 tooth spacing gear |
| 11149 | 1100ls Unit drive chain – #40 x 146P |
| 11150 | Direct drive jackshaft |
| 11151 | 1100 direct drive guard |
| Part Number | Description: |
| 11152 | 1100 outside direct drive chain guard |
| 11152LS | Line shaft outside guard |
| 11153 | Inside direct drive unit guard |
| 11153LS | Line shaft inside guard |
| 11154 | Front line shaft chain guard |
| 11155 | 1100 Chain tightener arm only |
| 11155WS | Chain tightener arm with sprocket |
| 11156 | 1100LS Unit Drive Chain – #40 x 194P |
| 11158 | Model 1100 chain tightener tension spring |
| 11160 | Parallel link – model 1100 |
| 11161 | 1100ILS 7/8 Hex-18 tooth sprocket |
| 11180 | Sweet potato slip guide |
| CA-16 | Complete 16 pocket chain with water trips |
| FCK113 | 1/4 X 1-1/2 cotter key |
| FMB500 | 7/8″ 14 ga. machinery bushing |
| OE61RB | Rubber packing wheel for roller bearing |
| SP-16 | Pocket spacer 16 pocket roller chain |
| V-3D | Pocket complete less separating bar |
1100 / 1100LS UNIT PARTS





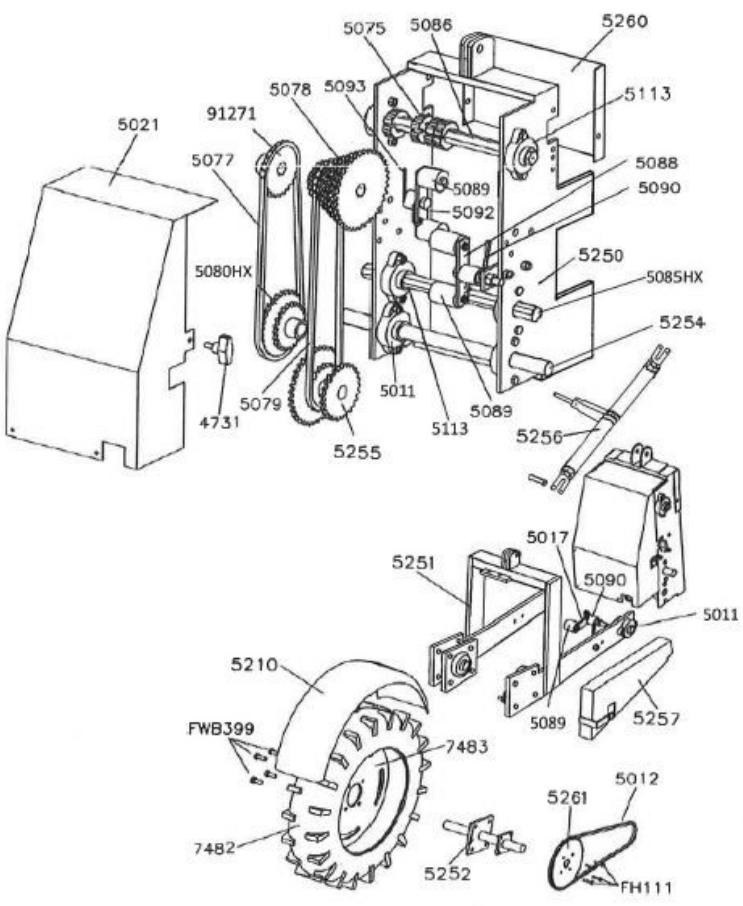
OE 90-1100 / OE90HD Gauge Wheel Drive Parts for 1100LS Units
| 4731 | Bolt with handle for guard |
| 5010 | Drive wheel hub |
| 5011 | 1-1/4″ Flange block bearing |
| 5012 | Drive wheel chain |
| 5014 | 50 Tooth drive sprocket |
| 5015 | Main drive wheel frame |
| 5016 | Rear drive sprocket chain guard |
| 5017 | Chain tightener arm |
| 5021 | large drive guard |
| 5075 | Rubber spacer |
| 5077 | Double sprocket cluster chain |
| 5078 | Six sprocket cluster |
| 5079 | Six sprocket cluster chain |
| 5080HX | Hex double sprocket chain |
| 5081HX | Hex triple sprocket cluster |
| 5083 | Drive frame |
| 5084HX | Hex lower drive shaft |
| 5085HX | Hex middle drive shaft |
| 5086 | Upper hex drive shaft |
| 5087 | Small drive guard |
| 5088 | Chain tightener bracket |
| 5089 | 2″ roller for chain tightener |
| 5090 | 7 Coil chain tightener spring |
| 5092 | Chain tightener bracket |
| 5093 | 5 Coil chain tightener spring |
| 5113 | 7/8″ Hex flange block bearing |
| 5210 | Fender less mounting bracket |
| 5211 | Dummy gage wheel fender bracket |
| 5212 | Drive wheel fender mounting bracket |
| 5213 | Fender assembly for dummy guage wheel |
| 5214 | Fender assembly for drive wheel |
| 5250 | HD main gear box frame |
| 5251 | HD drive arch |
| 5252 | OE 90HD drive wheel hub |
| 5253 | HD drive 4 bolt bearing block |
| 5254 | HD drive lower shaft |
| 5255 | HD drive 3 cluster sprocket assembly |
| 5256 | Ratchet jack for heavy duty drive system. |
| 5257 | HD Drive wheel chain guard |
| 5260 | HD drive box small guard |
| 5261 | 50 tooth drive sprocket – 40A50 1-3/4″ Bore |
| 7472 | Crank jack |
| 7482 | 5.90 x 15 Traction tire |
| 7483 | Wheel rim only |
| 91271 | 20 tooth x7/8” hex assembly |
| FH111 | 1/4 x 1-1/4 Hex head bolt |
| FH525 | 3/4 x 4″ Hex head bolt |
| FH443 | 5/8 x 3-1/2″ Hex head bolt |
| FWB399 | 9/16 x 1-3/4″ Wheel stud bolt |

OE90-1100
OE90HD 
Spacing Chart for 1100LS Units OE90 Gauge Wheel Drive 16 Pocket Chain
| Spacing | Sprocket Arrangement | |
| 7 | A3D | 18 Tooth on Drive Shaft |
| 8 | A4D | |
| 8% | B1iD | 20 Tooth on Drive Shaft |
| 9% | ASD | |
| 10% | B2D | |
| 11 | A4c | |
| 12 | B3D | |
| 12% | ASC | |
| 13% | B4D | |
| 14% | A6C | |
| 16 | B3C | |
| 17% | B50 | |
Spacing Diagram
To change spacings, refer to sprocket arrangement on chart for desired spacing.
Slide desired sprocket to 6 sprocket cluster over to align with either sprocket A or B.
Slide either sprocket C or D to align with sprocket E.
Use rubber pucks to keep sprockets in place.

Safety Precautions
- Make sure tractor is stopped and in neutral with the transplanter lowered to the ground before ge ng on /off the unit.
- No operator is allowed to be on the unit as it is raised and lowered.
- No operator is allowed on the transplanter as it is transported to or from the field.
- All operators must be seated before movement begins and remain seated un l the transplanter is completely stopped.
- Never leave the transplanter in the raised posi on
- Keep all shields and guards in place when opera ng the transplanter.
- Never a empt repairs or maintenance while the transplanter is in mo on.
- Never put the tractor in reverse while the transplanter is on the ground.
- Follow all safety instruc ons supplied by the tractor manufacturer to which the transplanter is mounted.
MACHINE IMPROVEMENTS
MECHANICAL TRANSPLANTER CO. IS ALWAYS STRIVING TO MAKE IMPROVEMENTS ON THEIR LINE OF EQUIPMENT.
MECHANICAL TRANSPLANTERCO. RESERVES THE RIGHT TO MAKE IMPORVEMENTS AND CHANGES AT ANY TIME WITHOUT INCURRING OBLIGATIONS TO MAKE SUCH CHANGES OR ADDTIONS TO EQUIPMENT PREVIOUSLY SOLD.
Limited Warranty
Mechanical Transplanter Company, LLC warrants each item of new equipment manufactured by Mechanical to be free from defects in material and workmanship under normal use and service.
The obliga on of Mechanical Transplanter Company, LLC under this LIMITED WARRENTY is limited to repairing or replacing as Me- chanical may elect, any parts that prove, in Mechanical’s judgement, to be defec ve in material and workmanship within the first season’s use of 45 consecu ve days a er ini ally placing equipment in opera on, whichever occurs first. Any outside work or alter- a ons without Mechanical’s wri en approval will render the LIMITED WARRANTY void.
Mechanical’s obliga on specifically excludes any liability for consequen al damages, such as loss of profits, delays, expenses, dam- age to goods or property used in connec on with or processed in or by the product sold, or damage to the product sold from what- soever cause, whether or not such loss is due to negligence of selling dealer of Mechanical Transplanter Company, LLC.
This limited warranty shall not apply to any item or machine which shall have been operated in a manner not recommended by the Company nor which shall have been repaired, altered, misused, damaged in an accident, neglected, tampered with or used in any way which in the Company’s opinion adversely affects its performance and results.
No person is authorized to give any other warran es or to assume any other liability on behalf of Mechanical Transplanter Compa- ny, LLC unless made in wri ng by Mechanical Transplanter Company, LLC.
This limited warranty covers repair or replacement of Mechanical’s equipment only and does not cover crop loss, down me, labor, damage to other equipment, etc.
This limited warranty does not apply to exterior finishes, res, chain links, bearings, or any other items sold by Mechanical Trans- planter Company, LLC, but warranted by the original manufacturer except to the extent of their individual manufacturer’s warranty.
THIS LIMITED WARRANTY IS IN LIEU OF ALL OTHER WARRANTIES, EXPRESSED OR IMPLIED. WARRANTIES OF MERCHANT ABILITY AND FITNESS FOR PARTICULAR PURPOSE ARE EXCLUDED, AS ARE ALL OTHER REPRESENTATIONS TO THE USER-PURCHASER, AND ALL OTHER OBLIGATIONS OR LIABILITIES, INCLUDING LIABILTY FOR INCIDENTAL AND CONSEQUENTIAL DAMAGES, ON THE PART OF MECHANICAL OR THE SELLER.
Mechanical Transplanter Co.
1150 Central Ave – Holland, MI 49423 *
Phone 616-396-8738 * Fax 616-396-3619
Website: www.mechanicaltransplanter.com
E-Mail: [email protected]









