FIAMMA Kit VW T5/T6 Multirail Reimo For Left And Right Hand Drive

Installation instructions for brackets
Please consult the website for instructions in the languages: NL-SV-DA-NO-FI-PT


- Package contents
- Installation instructions
- Safety instructions
- Warranty
Check that nothing has been damaged or deformed during transport. In the event of doubts or questions concerning the installation, use or limitations of the product, contact the dealer. We recommend that the installation is carried out by qualifi ed personnel and in compliance with current local regulations.
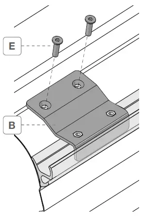
ATTENTION: INSTALLATION ON FIXING KIT
The brackets must always be well-aligned to each other to avoid later problems; in case they are not, they must be properly shimmed using the spacers to ensure the alignment. The installation of the awning can occur only when the brackets are perfectly aligned to the roof of the vehicle.

REAR and FRONT

Important: use of SIKA 252 adhesive is essential for fi xing the bracket (brackets).
REAR and FRONT



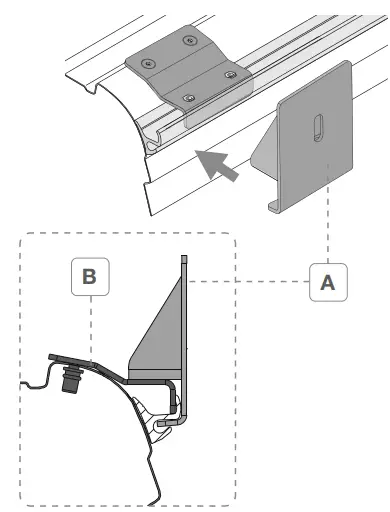
- Standard delivered with the awning.


- Before tightening the screws, make sure that the awning position doesn’t prevent the opening of the rear door.

- When using the awning please follow the instructions of the product.
ATTENTION Periodically check the brackets to make sure they are firmly attached (especially after the first kilometers) make sure the bolts are not loose and that holding brackets have not shifted.
Read the following instructions and warnings carefully; failure to observe these installation and usage instructions as well as the laws for driving in the relevant country may cause severe harm or damage for which the manufacturer declines all responsibility. Before installation, ensure compatibility with the vehicle on which the product must be installed. Checking that the wall/roof/rear door is suffi ciently solid and suitable for guaranteeing the resistance of the anchoring points is always mandatory. If not, strength and compliance with the maximum load indicated in the instructions are not guaranteed and it will be necessary to reinforce it these points. In the event of an accident involving the vehicle and/or the product, ensure that the product has not been damaged. In the event of damage, contact your local retailer before moving the vehicle. Fiamma declines every responsibility for any modifi cation of the product that may cause damage and/ or injury to things and people.
Warranty Fiamma
In case of defects with regard to materials and manufacturing, the customer is entitled to the warranty in accordance with local laws and regulations of the country in which the product was purchased.
Fiamma S.p.A. – Italy
Via San Rocco, 56 21010 Cardano al Campo (VA) All rights reserved. Fiamma S.p.A. reserves the right to modify at any time, without notice, prices, materials, specifi cations and models or to cease production of any model.




















