FIAMMA VW T5 02096-17 Carry Bike
Bicycles Carrier Installation and Usage Instructions
This product is a bicycle carrier designed for use with Volkswagen T5 and T6 vehicles. It can hold up to 4 standard bikes or 2 e-bikes with a maximum weight of 60kg. The package contents include various components such as brackets, bolts, and screws.
Installation Instructions
The installation should be carried out by qualified personnel in compliance with local regulations. Check for any damage or deformations during transport. For any doubts or questions concerning the installation, use, or limitations of the product, contact the dealer. The instructions for installation are available on page 4 of the manual.
Before using the product, make sure that the fastening of the Carry-Bike is steady. To fix the lower brackets, it is necessary to pull down the structure. The product usage instructions are available on page 10 of the manual.










Warnings and Safety Instructions
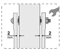
Read the safety instructions on page 12 of the manual before using the product. Do not fully tighten the fork to the tube, leave 2mm space. Keep the following labels and affix them to the Carry-Bike rails.
Read the following instructions and warnings carefully; failure to observe these installation and usage instructions as well as the laws for driving in the relevant country may cause severe harm or damage for which the manufacturer declines all responsibility. Before installation, ensure compatibility with the vehicle on which the product must be installed. In the event of an accident involving the vehicle and/or the product, ensure that the product has not been damaged. In the event of damage, contact your local retailer before moving the vehicle. Fiamma declines every responsibility for any modifi cation of the product that may cause damage and/or injury to things and people.
Checking that the wall/rear door is sufficiently solid and suitable for guaranteeing the resistance of the anchoring points is always mandatory. If not, strength and compliance with the maximum load indicated in the instructions are not guaranteed and it will be necessary to reinforce these points.
After having positioned the Carry-Bike on the rear axle of the vehicle, the normal weight distribution on both axles would be modifi ed. This variation must not exceed the maximum permissible axle load. Never exceed the maximum permitted length and the total weight of the full-load vehicle.
Make sure that loading occurs following a correct weight distribution; it must be uniformly distributed (the heaviest bike must be placed near the wall of the vehicle) to ensure better stability. Always give warnings about the presence of the Carry-Bike on your vehicle, use a clear signal for leaning loads and, in case of limited rear visibility, use the additional rear-view mirrors. Take into account the presence of the Carry-Bike, paying attention during driving and especially during reversing maneuvers, particularly if you have a parking assist system. Always comply with speed limits and the Highway Code. The speed should always be suitable to traffi c conditions and towed load. In case of use of the bike carrier with tow make sure that the tow hook is always accessible and the corner mobility of the tow is guaranteed (volume measuring DIN 74058).
Check periodically the bicycle rack to make sure it is fi rmly attached, especially during the fi rst kilometers of after long trips to avoid damage of the Carry-Bike/vehicle. Make sure the belts are not loose and that the holding brackets have not shifted. Replace worn components immediately.
Make sure that the support brackets are located where they cannot move or shift sideways.
They also must not touch the roof of the vehicle, the hinges and the corresponding bolts or screws.
While assembling, pay attention not to close the rear door if screws and brackets of the Carry-Bike are not tightened.
Make sure that, during roar door opening, the Carry-Bike and/or the Bike-Block do not touch the roof of the vehicle (raised roof) and/or its opening systems (pop-up roofs).
During Carry-Bike installation, verify that there is enough distance between handlebars and/or pedals and the vehicle’s rear windows in order to avoid any damages of the window van; do not leave accessories attached (bay seats, baskets, etc) because vibrations could disengage bikes.
In some cases, the rear windscreen wiper may not work due to the presence of bicycles. Be aware of the brush radius before operating the windscreen wiper.
On this type of Carry-Bike, bike covers are not allowed (Bike Cover).
You can open the tailgate with the Carry-Bike mounted without bikes.
It is advisable to remove the batteries from bicycles, before loading them on the Carry-Bike while traveling.
Depending on the type of bicycles transported, check the correct visibility of the rear lights. If the visibility is missing, provide a light repeater bar.
It is recommended to rotate the handlebars of bicycles to avoid damage to the vehicle wall, for which Fiamma declines all responsibility.
Product Information
- Product Name: Bicycles Carrier
- Compatibility: Volkswagen T5 and T6
- Maximum Weight Capacity: 60kg
- Package Contents: Various components including brackets, bolts, and screws
Package Contents
The package contents include:

- 2x A brackets
- 2x B brackets
- 2x F brackets
- 2x R brackets
- 2x Q brackets
- 2x S brackets
- 1x D bracket
- 6x L brackets
- 2x G brackets
- 2x H brackets
- 2x T brackets
- 3x I brackets
- 1x U bracket
- 2x M5x50 bolts
- 2x M6x40 bolts
- 2x M6x45 bolts
- 2x M6x50 bolts
- 6x M6x80 bolts
- 12x 6.4×12.5 screws
- 2x 5.3×10 screws
- 12x M6 screws
- 2x M5 screws
- 2x M10 screws
- 2x X1 screws
- 2x Z1 screws
- 90cm Carry-Bike rail
- 142cm Carry-Bike rail (x2)
- 56cm Carry-Bike rail
- 128cm Carry-Bike rail
- 24cm Carry-Bike rail
- 15kg x4 (Maximum weight capacity for standard bikes)
- 30kg x2 (Maximum weight capacity for e-bikes)
Warranty Fiamma
In case of defects with regard to materials and manufacturing, the customer is entitled to the warranty in accordance with local laws and regulations of the country in which the product was purchased.
Contact Information
In case of any problems or for spare parts drawing, contact your local dealer or consult the website for instructions in different languages.
EN – English
DE – German
FR – French
ES – Spanish
IT – Italian
NL-SV-DA-NO-FI-PT – Other languages
fiamma.com



















