FIAMMA VW T5 D VOLKSWAGEN CARRY-BIKE


Package contents

Dimesions

Check that nothing has been damaged or deformed during transport.
In the event of doubts or questions concerning the installation, use or limitations of the product, contact the dealer. We recommend that the installation is carried out by qualified personnel and in compliance with current local regulations.
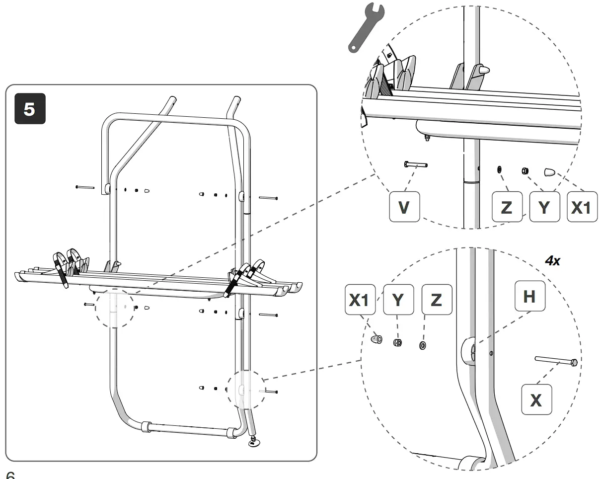
Installation instructions

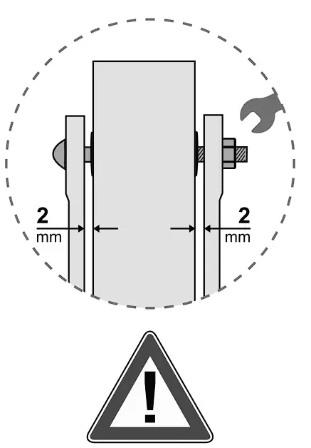
WARNING!
Do not fully tighten the fork to the tube, leave 2mm space.









To fix the lower brackets, it is necessary to pull down the structure. Make sure that the fastening of the Carry-Bike is steady.

Instructions for use

In case of problems please contact your local dealer indicating the data on the nameplate. Consult our website for spare parts drawing.
Safety instructions


- Read the following instructions and warnings carefully; failure to observe these installation and usage instructions as well as the Highway Code in the relevant country may cause severe harm or damage for which the manufacturer declines all responsibility. Before installation, ensure compatibility with the vehicle on which the product must be installed.
- Checking that the wall/rear door is sufficiently solid and suitable for guaranteeing the resistance of the anchoring points is always mandatory. If not, strength and compliance with the maximum load indicated in the instructions are not guaranteed and it will be necessary to reinforce these points. After having positioned the Carry-Bike on the rear axle of the vehicle, the normal weight distribution on both axles is modified. This variation must not exceed the maximum permissible axle load.
- Never exceed the maximum permitted length and the total weight of the full-loaded vehicle.
- Make sure that the weight is correctly distributed while loading; a uniform distribution (the heaviest bike must be placed in the rail guide near the wall of the vehicle) ensures better stability.
- Always warn about the presence of the Carry-Bike on your vehicle, using a sign for protruding loads and, in case of limited rear visibility, use the additional rear-view mirrors.
- Take into account the presence of the Carry-Bike, paying attention while driving and especially during reversing manoeuvres, particularly if you have a parking assist system.
- Always comply with speed limits and the Highway Code. The speed should always be suitable to traffic conditions and transported load. When using the bike carrier with trailer make sure that the tow hook is always accessible and the corner mobility of the trailer is guaranteed (volume measuring DIN 74058).
- Check periodically the bicycle rack to make sure it is firmly attached, especially during the first kilometres from the installation and always before and after long trips, to avoid damage of the Carry-Bike/vehicle. Regularly check rubber parts under the upper and/or lower brackets, as well as the belts; if they are porous or worn, replace them immediately.
- Make sure that the support brackets are located where they cannot move or shift sideways. They also must not touch the roof of the vehicle, the hinges and the corresponding bolts or screws.
- While assembling, pay attention not to close the rear door if screws and brackets of the Carry-Bike are not tightened.
- Make sure that, during roar door opening, the Carry-Bike and/or the Bike-Block do not touch the roof of the vehicle (raised roof) and/or its opening systems (pop-up roofs).
- During Carry-Bike installation, verify that there is enough distance between handlebars and/or pedals and the vehicle’s rear windows in order to avoid any damages of the window van; do not leave accessories attached (bay seats, baskets, etc) because vibrations could disengage bikes.
- In some cases, the rear windscreen wiper may not work due to the presence of bicycles. Be aware of the brush radius before operating the windscreen wiper.
- On this type of Carry-Bike, bike covers are not allowed (Bike Cover).
Accessories
RAIL PREMIUM S
Item No. 98656M133
RAIL PREMIUM S DEEP BLACK
Item No. 98656M152
KIT PREMIUM S
Item No. 98656M137
BIKE-BLOCK PRO S D
BIKE FRAME ADAPTER
Item No. 06602-01-
PLASTIC SIGNAL
Item No. 98782-005
ALU SIGNAL
Item No. 98782-010
CABLE-LOCK
Item No. 98656-338
LICENCE PLATE CARRIER
Item No. 06146B01-
Item No. 06146B01A
Warranty Fiamma
In case of defects with regards to materials and manufacturing, the customer is entitled to the warranty in accordance with local laws and regulations of the country in which the product was purchased.
Fiamma S.p.A. – Italy
Via San Rocco, 56
21010 Cardano al Campo (VA)
All rights reserved.
Fiamma S.p.A.
reserves the right to modify at any time, without notice, prices, materials, specifications and models or to cease production of any model.




















