VONN VAP2291 5 Inch 1-Light Integrated LED Black Pendant Lighting Fixture+

PARTS LIST

- A. Mounting Bracket x 1
- B. Outlet Screw x 2 + 1
- C. Wire Connector x 2 + 1
- D. Ground Screw x 1
- E. Canopy Cover Screw x 2
TOOLS YOU MAY NEED


LED INFO & WARNINGS
- Please read and understand the entire manual before attempting to assemble, operate, or install the product.
- All parts must be used as indicated in these instructions. Do not substitute any parts, leave parts out, or use any parts that are worn or broken.
- VONN recommends to install the fixture on its own independent circuit. Do not install the fixture on the same circuit with the other appliances, or HVAC systems.
- DO NOT CUT WIRES attached to the fixture under any circumstance. Cutting wires will VOID your warranty. Excess cable should be neatly looped and tucked into the canopy.
- Place the wall switch in the “OFF” position of the room you are installing the fixture.
- Make sure that you have all necessary parts by checking the parts list. If any part is missing or damaged please contact VONN LIGHITNG CUSTOMER SERVICE at 888-604-8666 for a replacement.
- Inspect the LED fixture prior to installation to make sure that it has not been damaged during shipping.
- VONN highly recommends to use a qualified, licensed electrician to install the fixture.
- Do not remove or replace VONN manufactured parts that is provided with the fixture.
- VONN recommends ELV (Electric Low Voltage) type dimmers for this fixture.
- Shut “OFF” the electricity at main fuse box.
Fixture Diagram

Instructions
- Step 1. Adjust Height

- The length of the cable is adjustable. To determine the proper length of the fixture, hold the fixture canopy up against the outlet box in the ceiling to adjust the cable.
Depress locking pin on the canopy, hold pin in place, and pull down or push up on the cable. Repeat step for each cable. - Installer Tip (1): It is recommended that two installers are required to adjust the height of the fixture. One installer to hold the fixture, and the second installer to adjust the cables.
- The length of the cable is adjustable. To determine the proper length of the fixture, hold the fixture canopy up against the outlet box in the ceiling to adjust the cable.
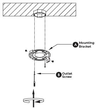
- Step 2. Install Mounting Bracket

- Secure mounting bracket (A) with outlet screws (B).
- Step 3. Connect Wires

- Supply Wires:
Connect Black (Line Wire) from fixture to Black (Hot Wire) from outlet box.
Connect White (Neutral Wire) from fixture to White (Neutral Wire) from outlet box. - Ground Wires:
Connect Bare Copper (Ground Wire) from fixture to Green or Bare Copper (Ground Wire) from outlet box.
Twist wires together clockwise and secure with wire connec-tor (C). - Installer Tip (2): If ground wire is not available in outlet box, then secure Bare Copper (Ground Wire) from fixture to ground screw (D) on mounting bracket (A).
- Installer Tip (3): It is recommended that two installers are required to install the fixture. One installer to hold the fixture, and the second installer to connect the wires.
- Supply Wires:
- Step 4. Mount Fixture

- Secure canopy to mounting bracket (A) with canopy screws (E).
- Step 5. Turn Power ON

- Turn electricity “ON” at main fuse box.
Place the recommended ELV type dimmer switch in the “ON” position to test the fixture.
- Turn electricity “ON” at main fuse box.
© VONN Lighting, 2022 www.vonn.com






















