VONN VAC3293 36 Inch 3-Light Integrated LED Black Linear Chandelier Lighting Fixture

TOOLS YOU MAY NEED

PARTS LIST

- A. Mounting Bracket x 1
- B. Rubber Plug x 2 + 1
- C. Tapping Screw x 2 + 1
- D. Outlet Screw x 2 + 1
- E. Wire Connector x 2 + 1
- F. Ground Screw x 1
- G. Canopy Cover Screws x 2
- H. Square box cover x 1
- I. M4 nut x 2
- J. Glass shade x 3
LED INFO & WARNINGS
- Please read and understand the entire manual before attempting to assemble, operate, or install the product.
- All parts must be used as indicated in these instructions. Do not substitute any parts, leave parts out, or use any parts that are worn or broken.
- Please handle the LED light with care when unpacking. Do not apply pressure to the LED’s, do not open any factory sealed compartments, and do not touch the LEDs with your hands.
- VONN recommends to install the fixture on its own independent circuit. Do not install the fixture on the same circuit with the other appliances, or HVAC systems.
- DO NOT CUT WIRES attached to the fixture under any circumstance. Cutting wires will VOID your warranty. Excess cable should be neatly looped and tucked into the canopy.
- Place the wall switch in the “OFF” position of the room you are installing the fixture.
- Make sure that you have all necessary parts by checking the parts list. If any part is missing or damaged please contact VONN LIGHITNG CUSTOMER SERVICE at 888-604-8666 for a replacement.
- Inspect the LED fixture prior to installation to make sure that it has not been damaged during shipping.
- VONN highly recommends to use a qualified, licensed electrician to install the fixture.
- Do not remove or replace VONN manufactured parts that is provided with the fixture.
- VONN recommends ELV (Electric Low Voltage) type dimmers for this fixture.
- Shut “OFF” the electricity at main fuse box
CIRCUIT BOX

Fixture Diagram

Instructions
Step 1. Adjust Height
The length of the cable is adjustable. To determine the proper length of the fixture, hold the fixture canopy up against the outlet box in the ceiling to adjust the cable. Depress locking pin on the canopy, hold pin in place, and pull down or push up on the cable. Repeat step for each cable.
Installer Tip (1): It is recommended that two installers are required to adjust the height of the fixture. One installer to hold the fixture, and the second installer to adjust the cables.
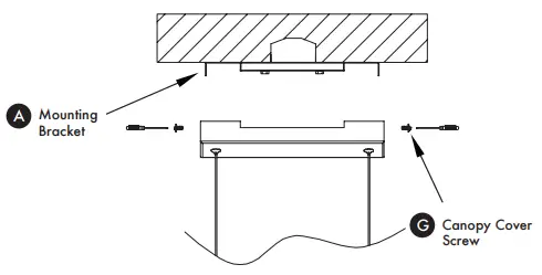
Step 2. Install Mounting Bracket
Secure mounting bracket (A) with outlet screws (B), (C), (D), (H), (I).
Step 3. Connect Wires
Supply Wires:
Connect Black (Line Wire) from the fixture to Black (Hot Wire) from outlet box. Connect White (Neutral Wire) from fixture to White (Neutral Wire) from outlet box. Connect Bare Copper (Ground Wire) from fixture to Green or Bare Copper (Ground Wire) from outlet box. Twist wires together clockwise and secure with wire connector (C).
Installer Tip (2): If ground wire is not available in outlet box, then secure Bare Copper (Ground Wire) from fixture to ground screw (F) on mounting bracket (A).
Installer Tip (3): It is recommended that two installers are required to install the fixture. One installer to hold the fixture, and the second installer to connect the wires.
Step 4. Mount Fixture
Secure canopy to mounting bracket (A) with canopy screws (G).
Step 5. Turn Power ON
Turn the electricity “ON” at the main fuse box.
Place the recommended ELV-type dimmer switch in the “ON” position to test the fixture.
© VONN Lighting, 2022 www.vonn.com



















