FH-KM
Instruction Manual![]()

KombiSystem
In the STIHL KombiSystem, a number of different KombiEngines and KombiTools can be com‐ bined to produce a power tool. In this instruction manual, the functional unit formed by the Kom‐ engine, and KombiTool is referred to as the power tool.
Therefore, the separate instruction manuals for the KombiEngine and KombiTool should be used together for the power tool.
Always read and make sure you understand both instruction manuals before using your power tool for the first time and keep them in a safe place for future reference.
Guide to Using this Manual
2.1 Pictograms
All the pictograms attached to the machine are shown and explained in this manual.
2.2 Symbols in text
WARNING
Warning where there is a risk of an accident or personal injury or serious damage to property.
NOTICE
Caution where there is a risk of damaging the machine or its individual components.
2.3 Engineering improvements
STIHL’s philosophy is to continually improve all of its products. For this reason, we may modify the design, engineering, and appearance of our products periodically.
Therefore, some changes, modifications, and improvements may not be covered in this manual.
Safety Precautions and Working Techniques
Because a power scythe is a highspeed, fast-cutting power tool with very sharp cutting blades and a long reach, special safety precautions must be observed during operation.
Always read and make sure you understand both instruction manuals (KombiEngine and KombiTool) before using your power tool for the first time and keep them in a safe place for future reference. Non-observance of the safety precautions may result in serious or even fatal injury.
Lend or rent your power tool only to persons who are familiar with this model and its operation – do not lend your power tool without the KombiEn‐ gine and KombiTool instruction manuals.
Use your power scythe only for cutting grass, scrubbing, shrubs, thickets, bushes, and similar materials.
Do not use your power tool for any other purpose because of the increased risk of accidents.
Only use cutting blades and accessories that are explicitly approved for this power tool by STIHL or are technically identical. If you have any questions in this respect, consult a servicing dealer.
Use only high-quality tools and accessories in order to avoid the risk of accidents and damage to the machine.
3 Safety Precautions and Working Techniques STIHL recommends the use of genuine STIHL tools and accessories. They are specifically designed to match the product and meet your performance requirements.
Never attempt to modify your machine in any way since this may increase the risk of personal injury. STIHL excludes all liability for personal injury and damage to property caused while using unauthorized attachments.
Do not use a pressure washer to clean your power tool. The solid jet of water may damage parts of the power tool.
3.1 Clothing and Equipment
Wear proper protective clothing and equipment.
Clothing must be sturdy but allow complete freedom of movement.
Wear snug-fitting clothing, an overall and jacket combination, and do not wear a work coat.
Avoid clothing that could get caught on branches or brushes or moving parts of the machine. Do not wear a scarf, necktie, or jewelry. Tie up long hair so that it is above shoulder level.
Wear steel-toed safety boots with non-slip soles.
WARNING
To reduce the risk of eye injuries, wear close-fitting safety glasses in accordance with European Standard EN 166. Make sure the safety glasses are comfortable and snug fit.
Wear hearing protection, e.g. earplugs or ear muffs.
Wear a safety hard hat for thinning operations, when working in high scrub and where there is a danger of head injuries from falling objects.
Wear heavy-duty work gloves made of durable material (e.g. leather).
STIHL offers a comprehensive range of personal protective clothing and equipment.
3.2 Transporting the Power Tool
Always shut off the engine.
Always fit the blade guard (scabbard) – even when you carry the unit for short distances.
Move the cutter bar to the transport position and make sure it is properly engaged.
Carry the power tool properly balanced by the drive tube – cutting blades behind you.
To reduce the risk of serious burn injuries, avoid touching hot parts of the machine, including the gearbox housing.
Transporting by vehicle: Properly secure your power tool to prevent turnover, fuel spillage, and damage.
3.3 Before Starting
Check that your power tool is properly assembled and in good condition – refer to appropriate chapters in the KombiEngine and KombiTool instruction manuals.
– Cutting blades: Correctly assembled, securely mounted, and in good condition (clean, move freely, not warped), properly sharpened, and sprayed thoroughly with STIHL resin solvent (lubricant).
– Never attempt to start the machine in the transport position (cutter bar folded against drive tube).
– Never attempt to modify the controls or safety devices in any way.
– Keep the handles dry and clean – free from oil and dirt – for safe control of the power tool.
– Adjust the shoulder strap and handles to suit your height and reach. See chapter on “Fitting the Harness”.
To reduce the risk of accidents, do not operate your power tool if it is damaged or not properly assembled.
If you use a shoulder strap or full harness: Practice removing and putting down the machine as you would in an emergency. To avoid damage, do not throw the machine to the ground when practicing.
3.4 Holding and Controlling the Power Tool
Always hold the power tool firmly with both hands on the handles.
Make sure you have a firm and secure footing and hold the power tool so that the cutting blades are always away from your body.
Some versions of the machine can be carried on a harness to relieve the weight on the operator’s arms.
3.4.1 Models with loop handle

Right hand on the control handle, left hand on loop handle on drive tube, even if you are left-handed.
Wrap fingers and thumbs firmly around the handles.
3.4.2 Machines with handle hose

Right hand on the control handle, left hand on handle hose on drive tube, even if you are lefthanded. Wrap fingers and thumbs firmly around the handles.
3.5 During Operation
In the event of impending danger or in an emergency, switch off the engine immediately by moving the slide control/stop switch/button to 0 or STOP.
This power tool is not insulated against electric shock. To reduce the risk of electrocution, keep well clear of electric power lines.
To reduce the risk of injury from moving blades or falling cuttings, do not allow bystanders within 5 meters of your own position.
To reduce the risk of damage to property, also maintain this distance from other objects (vehicles, windows).
Make sure the idle speed setting is correct. The cutting blades must not run when the engine is idling with the throttle trigger released. Check and correct the idle speed setting regularly. If the cutting blades still rotate when the engine is idling, have your dealer check your machine and make proper adjustments or repairs – see Kom‐biEngine instruction manual.
Watch the cutting blades at all times – do not cut areas of the bush or scrub that you cannot see.
Be extremely careful when cutting high scrub or bushes, check the other side frequently for bystanders.
The gearbox becomes hot during operation. To reduce the risk of burn injury, do not touch the gearbox housing.
Take special care in slippery conditions (ice, wet ground, snow) – on slopes or uneven ground.
Clear away fallen branches, scrub, and cuttings from the work area.
Watch out for obstacles: Roots and tree stumps that could cause you to trip or stumble.
Make sure you always have good balance and secure footing.
When working at heights:
– Always use a lift bucket
– Never work on a ladder or in a tree
– Never work on an insecure support
– Never operate your power tool with one hand Be particularly alert and cautious when wearing hearing protection because your ability to hear warnings (shouts, alarms, etc.) is restricted.
To reduce the risk of accidents, take a break in good time to avoid tiredness or exhaustion.
Work calmly and carefully – in daylight conditions and only when visibility is good. Stay alert so as not to endanger others.
Inspect scrub and work area to avoid damaging the cutting blades:
– Remove stones, rocks, pieces of metal, and other solid objects.
– When working close to the ground, make sure that no sand, grit, or stones get between the blades.
– Take particular care when cutting scrub or bushes next to or against wire fences.
To avoid the risk of electrocution, do not touch electric power lines – never cut through electric power lines.
Do not touch the cutting blades while the engine is running. If the cutting blades become jammed by an object, switch off the engine immediately before attempting to remove the Opening the throttle while the blades are blocked increases the load and reduces engine speed.
The clutch then slips continuously and this causes overheating and damage to important components (e.g. clutch, polymer housing components) – and this can increase the risk of injury from the cutting blades moving while the engine is idling.
If your power tool is subjected to unusually high loads for which it was not designed (e.g. heavy impact or a fall), always check that it is in good condition before continuing work – see also “Before Starting”. Make sure the safety devices are working properly. Do not continue operating your power tool if it is damaged. In case of doubt, consult your servicing dealer.
If the scrub is very dusty or dirty, spray the blades with STIHL resin solvent from time to time during cutting. This helps greatly reduce blade friction as well as the aggressive effects of sap and the build-up of dirt particles.
Check the cutting attachment at regular short intervals during operation or immediately if there is a noticeable change in cutting behavior:
– Shut off the engine.
– Wait until the cutting blades have come to a complete standstill.
– Check condition and tightness, and look for cracks.
– Check sharpness.
3.6 After finishing work
After finishing work or before leaving the unit unattended: Shut off the engine.
Always clean dust and dirt off the machine – do not use any grease solvents for this purpose.
Spray the blades with STIHL resin solvent. Run the engine briefly so that the solvent is evenly distributed.
3.7 Maintenance and Repairs
Service the machine regularly. Do not attempt any maintenance or repair work not described in the KombiTool and KombiEngine instruction manuals. Has all other work been performed by a servicing dealer?
STIHL recommends that you have servicing and repair work carried out exclusively by an authorized STIHL servicing dealer. STIHL dealers are regularly given the opportunity to attend training courses and are supplied with the necessary technical information.
Only use high-quality replacement parts in order to avoid the risk of accidents and damage to the machine. If you have any questions in this respect, consult a servicing dealer.
STIHL recommends the use of genuine STIHL replacement parts. They are specifically designed to match your model and meet your performance requirements.
To reduce the risk of injury, always shut off the engine before carrying out any maintenance or repairs or cleaning the machine.
Using the Unit
Do not use your power scythe during other people’s rest periods.
The power scythe is used at ground level. As its blades operate like a mower bar, the unit is ideal for cutting scrub, thicket, reed, wild growth, and hard grasses. The power scythe is particularly suitable for applications in busy areas, such as traffic islands or parks, because cuttings are not caught and thrown by the blades.
4.1 Disposal
Do not throw cuttings into the garbage can – they can be composted.
4.2 Preparations
- Set the cutter bar to the required angle.
- Remove the blade scabbard.
- Start the engine.
- Put on the shoulder strap.
- Attaching Machine to Shoulder Strap
4.3 Working Technique

The working position and method are the same as for a brushcutter: Sweep the cutter bar to and fro in an arc just above the ground.
Approved KombiEngines
5.1 KombiEngines
Only use KombiEngines supplied or explicitly approved by STIHL for use with the attachment.
This KombiTool may be operated only in combination with the following KombiEngines: KM 94 R, KM 111 R, KM 131, KM 131 R, KMA 130 R, KMA 135 R KM 56 R, KM 85 R 1)
5.2 Brushcutters with split boom
The KombiTool can also be fitted to STIHL brush cutters with a split boom (T-models) (basic power tools).
This KombiTool can therefore also be used on the following machine: STIHL FR 131 T
WARNING
Refer to the user manual of the power tool for use of the barrier bar.
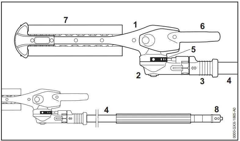
Mounting the KombiTool

- Push the lug (1) on the drive tube into the slot (2) in the coupling sleeve as far as the stop.

When correctly installed, the red line (3) (arrow point) must be flush with the end of the coupling sleeve.
- Tighten down the star knob (4) firmly.
6.1 Removing the KombiTool
- Reverse the above sequence to remove the drive tube.
Assembling the Unit
7.1 Removing the Protective Cap
If a cap is fitted on the end of the KombiTool or basic power tool’s drive tube:

- Pull the protective cap off the end of the drive tube and keep it in a safe place.

If the plug comes out of the drive tube when you pull off the cap:
- Push the plug into the drive tube as far as the stop.
7.2 Mounting the Gearbox

- Loosen the clamp screws (10).
- Push the gearbox (11) onto the drive tube (5), and turn the gearbox (11) back and forth as necessary.

Once the end of the drive tube is inserted beyond the slot in the clamp (12):
- Push the gearbox (11) fully home as far as the stop.
- Tighten down the clamp screws moderately.
- Line up the gearbox (11) with the powerhead.
- Tighten down the clamp screws firmly.
Adjusting the Cutter Bar
8.1 Angle Adjuster – 145°

The angle of the cutter bar can be adjusted upwards in 4 stages from 0° (straight) to 55°, and downwards in 7 stages from 0° to 90° (right angle facing down). There are therefore 12 possible working positions.
WARNING
To reduce the risk of injury, carry out the adjustment only when the cutting blades are at a standstill – engine at idle speed.
WARNING
The gearbox gets hot during operation. To reduce the risk of burn injury, do not touch the gearbox.
WARNING
To reduce the risk of injury, never touch the blades while making adjustments.

- Pull back the sliding sleeve (1) and use the lever (2) to adjust the joint by one or several holes.
- Release the sliding sleeve (1) and make sure the lock pin engages the quadrant (3).
8.2 Transport Position

The cutter bar can be folded flat against the drive tube and locked in position to save space during transportation.
WARNING
To reduce the risk of injury, always shut off the engine – depress the stop switch – and fit the blade scabbard before moving the cutter bar to the transport position or from the transport position to the normal working position.
WARNING
The gearbox gets hot during operation. To reduce the risk of burn injury, do not touch the gearbox.

- Shut off the engine.
- Fit the blade scabbard.
- Pull back the sliding sleeve (1) and use the lever (2) to swing the joint upwards – in direc‐tion of drive tube – until the cutter bar is flat against the drive tube.
- Release the sliding sleeve (1) and make sure the lock pin engages the quadrant (3).
Fitting the Harness
The type and style of the harness and carabiner (spring hook) depend on the market.
9.1 Shoulder Strap

- Put on the shoulder strap (1).
- Adjust the length of the strap so that the cara‐biner (2) is about a hand’s width below your right hip.
9.2 Full Harness

- Put on the full harness (1).
- Adjust the length of the strap so that the cara‐biner (2) is about a hand’s width below your right hip.
- Close the locking plate (3).
9.3 Attaching Machine to Harness

- Attach the carabiner (1) to the carrying ring (2) on the drive tube – hold the carrying ring steady.
9.4 Disconnecting Machine from Harness

- Press down the bar on the carabiner (1) and pull the carrying ring (2) out of the carabiner.
9.5 Throwing Off the Machine
WARNING
The machine must be quickly thrown off in the event of imminent danger. Practice removing and putting down the machine as you would in an emergency. To avoid damage, do not throw the machine to the ground when practicing.
Practice quickly detaching the power tool from the carabiner as described under “Disconnecting Machine from Harness”.
If you are using a shoulder strap: Practice slip‐ping the strap off your shoulder.
If you are using a full harness: Practice quickly opening the locking plate and slipping the har‐ness straps off your shoulders.
Starting / Stopping the Engine
10.1 Starting the Engine
Always follow the operating instructions for the KombiEngine and basic power tool.


- Place the machine on the ground so that it rests securely on the engine support and the gearbox.
- On models with an adjustable cutter bar: Set the cutter bar to the straight (0°) position.
- Remove the blade scabbard.
To reduce the risk of accidents, check that the cutting blades are not touching the ground of any other obstacles.
- If necessary, rest the gearbox on a raised sup‐ port (e.g. mound, brick or something similar).
- Make sure you have a firm footing, either standing, stooping or kneeling.
- Hold the machine with you left hand and press it down firmly – do not touch the controls on the control handle – see KombiEngine or basic power tool instruction manual.
NOTICE
Do not stand or kneel on the drive tube.
WARNING
The cutting attachment may begin to move as soon as the engine starts. For this reason, blip the throttle after starting – the engine returns to idling speed.
The starting procedure is now as described in the instruction manual of the KombiEngine or basic power tool you are using.
10.2 Stopping the Engine
- See KombiEngine or basic power tool instruc‐ tion manual.
Lubricating the Gearbox
![]()
11.1 Blade Drive Gear
Lubricate the blade drive gear with STIHL gear lubricant for hedge trimmers – see “Special Accessories”.

- Check the lubricant level at regular intervals of about every 25 hours of operation. Unscrew the filler plug (1) – if no grease can be seen on the inside of the filler plug, screw the tube of grease into the filler hole.
- Squeeze up to 10 g (2/5 oz) grease into the gearbox.
NOTICE
Do not completely fill the gearbox with grease.
- Unscrew the tube of grease from the filler hole.
- Refit the filler plug and tighten it down firmly.
11.2 Angle Drive Gear
Lubricate the angle drive gear with STIHL gear lubricant for brushcutters (special accessory).

- Check the lubricant level at regular intervals of about every 25 hours of operation. Unscrew the filler plug (2) – if no grease can be seen on the inside of the filler plug, screw the tube of grease into the filler hole.
- Squeeze up to 5 g (1/5 oz) grease into the gearbox.
NOTICE
Do not completely fill the gearbox with grease.
- Unscrew the tube of grease from the filler hole.
- Refit the filler plug and tighten it down firmly.
Storing the Machine
For periods of 30 days or longer
- Clean the cutting blades, check condition and spray them with STIHL resin solvent.
- Fit the blade scabbard.
- If the KombiTool is removed from the Kom‐ biEngine and stored separately: Fit the protec‐ tive cap on the drive tube to protect it from dust and dirt.
- Store the machine in a dry and secure location Keep out of the reach of children and other unauthorized persons.
Maintenance and Care
The following intervals apply to normal operating conditions only. If your daily working time is lon‐ger or operating conditions are difficult (very dusty work area, etc.), shorten the specified intervals accordingly.
All accessible screws and nuts
- Check and retighten if necessary (not screws and nuts on cutting blades) Cutting blades
- Visual inspection before starting work
- Resharpen as necessary
- Replace if damaged
Gearbox lubrication
- Check before starting work
- Replenish as necessary
Safety labels
- Replace illegible safety labels
When cutting performance and behavior begin to deteriorate, i.e. blades frequently snag on branches: Resharpen the cutting blades.
It is best to have the cutting blades resharpened by a dealer on a workshop sharpener. STIHL recommends a STIHL servicing dealer.
NOTICE
Do not operate your machine with dull or dam‐aged cutting blades. This may cause overload and will give unsatisfactory cutting results.
Minimize Wear and Avoid Damage
Observing the instructions in this manual and the KombiEngine manual helps reduce the risk of unnecessary wear and damage to the power tool.
The power tool must be operated, maintained and stored with the due care and attention described in these instruction manuals.
The user is responsible for all damage caused by non-observance of the safety precautions, oper‐ ating and maintenance instructions. This includes in particular:
– Alterations or modifications to the product not approved by STIHL.
– Using tools or accessories which are neither approved or suitable for the product or are of a poor quality.
– Using the product for purposes for which it was not designed.
– Using the product for sports or competitive events.
– Consequential damage caused by continuing to use the product with defective components.
15.1 Maintenance Work
All the operations described in the chapter on “Maintenance and Care” must be performed on a regular basis. If these maintenance operations cannot be performed by the owner, they should be performed by a servicing dealer.
STIHL recommends that you have servicing and repair work carried out exclusively by an author‐ized STIHL servicing dealer. STIHL dealers are regularly given the opportunity to attend training courses and are supplied with the necessary technical information.
If these maintenance operations are not carried out as specified, the user assumes responsibility for any damage that may occur. Among other parts, this includes:
– Corrosion and other consequential damage resulting from improper storage.
– Damage to the product resulting from the use of poor quality replacement parts.
15.2 Parts Subject to Wear and Tear
Some parts of the power tool (e.g. cutting blades) are subject to normal wear and tear even during regular operation in accordance with instructions and, depending on the type and duration of use, have to be replaced in good time.
Main Parts

| 1 Blade drive gear 2 Angle drive 3 Sliding sleeve 4 Drive tube | 5 Quadrant 6 Adjusting lever 7 Blade guard (scabbard) 8 Cap |
Specifications
17.1 Cutting blades
| Type: | Double-edged for bidirectional cutting |
| Cutting length: | 250 mm |
| Tooth spacing: | 34 mm |
| Tooth height: | 22 mm |
| Sharpening angle: | 45° to horizontal |
17.2 Weight
| FH-KM: | 2.1 kg |
17.3 Sound and Vibration Levels
Noise and vibration data measurements on power tools with the FH-KM KombiTool include idling and rated maximum speed with the same duration of exposure.
For further details on compliance with Vibration Directive 2002/44/EC see
17.3.1 Sound pressure level Lpeq to ISO 22868
| KM 56 R: | 92 dB(A) |
| KM 85 R: | 96 dB(A) |
| KM 94 R: | 92 dB(A) |
| KM 111 R: | 96 dB(A) |
| KM 131: | 97 dB(A) |
| KM 131 R: | 97 dB(A) |
| KMA 130 R: | 79 dB(A) |
| FR 131 T: | 97 dB(A) |
17.3.2 Sound pressure level Lpeq in accord‐ance with EN 50636-2-91
| KMA 135 R: | 78.4 dB(A) |
17.3.3 Sound power level Lw to ISO 22868
| KM 56 R: | 105 dB(A) |
| KM 85 R: | 110 dB(A) |
| KM 94 R: | 107 dB(A) |
| KM 111 R: | 108 dB(A) |
| KM 131: | 110 dB(A) |
| KM 131 R: | 110 dB(A) |
| KMA 130 R: | 94 dB(A) |
| FR 131 T: | 110 dB(A) |
17.3.4 Sound power level Lw in accordance with EN 50636-2-91
| KMA 135 R: | 91.3 dB(A) |
17.3.5 Vibration level ahv,eq to ISO 22867
| Handle, left | Handle, right | |
| KM 56 R: | 5.6 m/s² | 5.8 m/s² |
| KM 85 R: | 3.5 m/s² | 4.2 m/s² |
| KM 94 R: | 3.1 m/s² | 3.9 m/s² |
| KM 111 R: | 4.4 m/s² | 2.7 m/s² |
| KM 131: | 2.3 m/s² | 2.9 m/s² |
| KM 131 R: | 4.7 m/s² | 3.3 m/s² |
| KMA 130 R: | 2.5 m/s² | 2.2 m/s² |
| KMA 135 R: | 2.1 m/s² | 2.4 m/s² |
| FR 131 T: | 1.8 m/s² | 1.7 m/s² |
The K‑factor in accordance with Directive 2006/42/EC is 2.0 dB(A) for the sound pressure level and sound power level; the K‑factor in accordance with Directive 2006/42/EC is 2.0 m/s2 for the vibration level.
17.4 REACH
REACH is an EC regulation and stands for the Registration, Evaluation, Authorization and Restriction of Chemical substances.
For information on compliance with the REACH regulation (EC) No. 1907/2006 see www.stihl.com/reach
Maintenance and Repairs
Users of this machine may only carry out the maintenance and service work described in this user manual. All other repairs must be carried out by a servicing dealer.
STIHL recommends that you have servicing and repair work carried out exclusively by an author‐ized STIHL servicing dealer. STIHL dealers are regularly given the opportunity to attend training courses and are supplied with the necessary technical information.
When repairing the machine, only use replace‐ment parts which have been approved by STIHL for this power tool or are technically identical.
Only use high-quality replacement parts in order to avoid the risk of accidents and damage to the machine.
STIHL recommends the use of original STIHL replacement parts.
Original STIHL parts can be identified by the STIHL part number, the
logo and the STIHL parts symbol
(the symbol may appear alone on small parts).
Disposal
Contact the local authorities or your STIHL serv‐icing dealer for information on disposal. Improper disposal can be harmful to health and pollute the environment.

- Take STIHL products including packaging to a suitable collection point for recycling in accord‐ance with local regulations.
- Do not dispose with domestic waste.
EC Declaration of Con‐formity
ANDREAS STIHL AG & Co. KG
Badstr. 115
D-71336 Waiblingen
Germany
declare under our sole responsibility that
| Designation: | Scrub cutter KombiTool |
| Make: | STIHL |
| Series: | FH-KM |
| Serial identification number: | 4243 |
conforms to the relevant provisions of Directive 2006/42/EC and has been developed and manu‐factured in compliance with the following stand‐ards in the versions valid on the date of produc‐tion:
EN ISO 12100, EN ISO 11806-1 (in conjunction with the specified KM models).
EN ISO 12100, EN 60745-1, EN 60745-2-15 (in conjunction with KMA 130 R)
EN ISO 12100, EN 62841-1, EN 62841-4-2 (in conjunction with KMA 135 R)
EN ISO 12100, EN ISO 11806-1 (in conjunction with the specified FR models)
Technical documents deposited at:
ANDREAS STIHL AG & Co. KG
Produktzulassung
The year of manufacture is specified on the power tool.
Waiblingen, 15.07.2021
ANDREAS STIHL AG & Co. KG
pp
Dr. Jürgen Hoffmann
Director Product Certification & Regulatory Affairs
UKCA Declaration of Con‐formity
ANDREAS STIHL AG & Co. KG
Badstr. 115
D-71336 Waiblingen
Germany
declare under our sole responsibility that
| Designation: | Scrub cutter KombiTool |
| Make: | STIHL |
| Series: | FH-KM |
| Serial identification number: | 4243 |
conforms to the relevant provisions of the UK Supply of Machinery (Safety) Regulations 2008 and has been manufactured in compliance with the following standards in the versions valid on the date of production:
EN ISO 12100, EN ISO 11806-1 (in conjunction with the specified KM models).
EN ISO 12100, EN 60745-1, EN 60745-2-15 (in conjunction with KMA 130 R)
EN ISO 12100, EN 62841-1, EN 62841-4-2 (in conjunction with KMA 135 R)
EN ISO 12100, EN ISO 11806-1 (in conjunction with the specified FR models)
Technical documents deposited at: ANDREAS STIHL AG & Co. KG
The year of manufacture is indicated on the power tool.
Waiblingen, 15.07.2021
ANDREAS STIHL AG & Co. KG
pp
Dr. Jürgen Hoffmann
Director Product Certification & Regulatory Affairs


















