Trademarks
Autel®, MaxiSys®, MaxiDAS®, MaxiScan®, MaxiCheck®, and MaxiRecorder® are trademarks of Autel Intelligent Technology Corp., Ltd., registered in China, the United States and other countries. All other marks are trademarks or registered trademarks of their respective holders.
Copyright Information
No part of this manual may be reproduced, stored in a retrieval system or transmitted, in any form or by any means, electronic, mechanical, photocopying, recording, or otherwise without the prior written permission of Autel.
Disclaimer of Warranties and Limitation of Liabilities
All information, specifications and illustrations in this manual are based on the latest information available at the time of printing.
Autel reserves the right to make changes at any time without notice. While information of this manual has been carefully checked for accuracy, no guarantee is given for the completeness and correctness of the contents, including but not limited to the product specifications, functions, and illustrations.
Autel will not be liable for any direct, special, incidental, indirect damages or any economic consequential damages (including the loss of profits).
IMPORTANT
Before operating or maintaining this unit, please read this manual carefully, paying extra attention to the safety warnings and precautions.
For Services and Support
pro.autel.com
www.autel.com
1-855-288-3587/1-855-AUTELUS (North America)
0086-755-86147779 (China)
[email protected]
For technical assistance in all other markets, please contact your local selling agent.
Safety Information
For your own safety and the safety of others, and to prevent damage to the device and vehicles upon which it is used, it is important that the safety instructions presented throughout this manual be read and understood by all persons operating or coming into contact with the device.
There are various procedures, techniques, tools, and parts for servicing vehicles, as well as in the skill of the person doing the work. Because of the vast number of test applications and variations in the products that can be tested with this equipment, we cannot possibly anticipate or provide advice or safety messages to cover every circumstance. It is the automotive technician’s responsibility to be knowledgeable of the system being tested. It is crucial to use proper service methods and test procedures. It is essential to perform tests in an appropriate and acceptable manner that does not endanger your safety, the safety of others in the work area, the device being used, or the vehicle being tested.
Before using the device, always refer to and follow the safety messages and applicable test procedures provided by the manufacturer of the vehicle or equipment being tested. Use the device only as described in this manual. Read, understand, and follow all safety messages and instructions in this manual.
Safety Messages
Safety messages are provided to help prevent personal injury and equipment damage. All safety messages are introduced by a signal word indicating the hazard level.
DANGER
Indicates an imminently hazardous situation which, if not avoided, will result in death or serious injury to the operator or to bystanders.
WARNING
Indicates a potentially hazardous situation which, if not avoided, could result in death or serious injury to the operator or to bystanders.
Safety Instructions
The safety messages herein cover situations Autel is aware of. Autel cannot know, evaluate or advise you as to all of the possible hazards. You must be certain that any condition or service procedure encountered does not jeopardize your personal safety.
DANGER
When an engine is operating, keep the service area WELL VENTILATED or attach a building exhaust removal system to the engine exhaust system. Engines produce carbon monoxide, an odorless, poisonous gas that causes slower reaction time and can lead to serious personal injury or loss of life.
SAFETY WARNINGS
- Wear safety glasses and protective clothing.
- NEVER smoke or allow a spark or flame in vicinity of battery or engine.
- Have plenty of fresh water and soap nearby in case battery acid contacts skin, clothing or eyes.
- If battery acid contacts skin or clothing, wash immediately with soap and water. If acid enters eye, immediately flush eye with cold running water for at least ten minutes and get medical attention immediately.
- Use caution when working with metallic tools to prevent sparks or short circuits.
- Remove any jewelry or watches before you start servicing the battery.
- Keep hair, hands, and clothing as well as tester leads and cords away from moving blades and belts.
1 Using This Manual
This manual contains device usage instructions.
Some illustrations shown in this manual may contain modules and optional equipment that are not included in your system.
Conventions
The following conventions are used.
Bold Text
Bold text is used to highlight selectable items such as buttons and menu options.
Example:
- Tap OK.
Notes and Important Messages
Notes
A NOTE provides helpful information such as additional explanations, tips, and comments.
Example:
NOTE
New batteries reach full capacity after approximately 3 to 5 charging and discharging cycles.
Important
IMPORTANT indicates a situation which, if not avoided, may result in damage to the tablet or vehicle.
Example:
IMPORTANT
Keep the cable away from heat, oil, sharp edges and moving parts. Replace damaged cables immediately.
Hyperlink
Hyperlinks, or links, that take you to other related articles, procedures, and illustrations are available in electronic documents. Blue italic text indicates a selectable hyperlink and blue underlined text indicates a website link or an email address link.
Illustrations
Illustrations used in this manual are samples, the actual testing screen may vary for each vehicle being tested. Observe the menu titles and on-screen instructions to make correct option selection.
2 General Introduction
MaxiBAS B200 – Battery & Electrical System Tester
The feature-rich MaxiBAS B200 battery tester applies Adaptive Conductance, a proprietary Autel technology that identifies low-capacity batteries. The B200 can provide a quick health status check of the existing battery, register a new battery and perform advanced battery and electrical system diagnostics. The B200 can also connects to a multimeter to test voltage and current. The B200 package includes a tester with a clamp cable, a multimeter (optional) and a MaxiBAS app.
Function Description
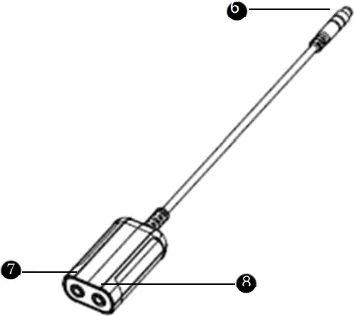
MaxiBAS B200 Tester

- Power Button
- Status LED
- Power LED
- USB Port
- Battery Clamp Cable
Multimeter

6. Aviation Plug
7. Positive Clamp Cable Port
8. Negative Clamp Cable Port
Technical Specifications
Table 2-1 Technical Specifications of the B200
| Item | Description |
| Communications | Bluetooth |
| Power | 6V - 36V |
| Operating Temperature | -10°C to 50°C |
| Storage Temperature | -20°C to 60°C |
| Dimensions | 107x75x26mm |
| Net Weight | 320g (left current clamp) |
Table 2-2 Technical Specifications of the Multimeter
| Item | Description |
| DC Voltage Range | 200V |
| AC Voltage Range | RMS 200V |
| Resistance Range | 10 MΩ |
| Current Range | 0 to 65A (65A current clamp) 0 to 650A (650A current clamp) |
| Diode | 2V |
| Continuity Test | 70 Ω |
Table 2-3 LED Description
| LED | Color | Description |
| Status LED | Green | Flashing Green: The tester is communicating via USB cable. |
| Blue | Flashing Blue: The tester is communicating via Bluetooth. | |
| Flashing Red | Battery clamps are connected to the wrong battery terminals. | |
| Power LED | Green |
|
| Red | Flashing Red: The tester’s battery level is low, please charge. |
3 Getting Started
Ensure the unit is sufficiently charged before using.
Inspect the Battery
Before starting a test, observe the battery for:
- Cracking, buckling, or leaking. If you see any of these defects, replace the battery.
- Corroded, loose, or damaged cables and connections. Repair or replace as needed.
- Corrosion on the battery terminals, and dirt or acid on the case top. Clean the case and terminals using a wire brush and a mixture of water and baking soda. Wear protective glasses and gloves when working with batteries.
IMPORTANT: Please ensure that the B200 is powered ON when pairing the device and during registration.
Power Up
1. Scan the QR code or search for MaxiBAS in App Store or Google Play Store to download and install the app to your device.
2. Open the MaxiBAS app and follow on-screen instructions to complete the registration and pair the B200.
Connect to a Battery
1. Follow on-screen instructions to connect the B200 to BT609 via Bluetooth pairing.

2. Connect the red clamp to the positive (+) terminal and the black clamp to the negative (-) terminal of the battery.

4 Service Procedures
This section introduces information for technical support, repair service, and application for replacement or optional parts.
Technical Support
If you have any question or problem on the operation of the product, please contact us.
AUTEL NORTH AMERICA
- Phone: 1-855-AUTEL-US (288-3587) (855-288-3587) Monday-Friday 9am-6pm EST
- Website: www.autel.com
- Email: [email protected]
- Address: 175 Central Avenue, Suite 200, Farmingdale, New York, USA 11735
AUTEL EUROPE
- Phone: 0049 (0) 6103-2000520 (Monday-Friday, 9:00AM-6:00PM Berlin Time)
- Website: www.autel.eu
- Email: [email protected], [email protected]
- Address: Adalperostraße 82, 85737 Ismaning, Germany
AUTEL CHINA HQ
- Phone: 0086-755-2267-2493 (Monday-Friday, 9:00AM-6:00PM Beijing Time)
- Website: www.autel.com
- Email: [email protected]
- Address: 6th-10th floor, Building B1, Zhiyuan, Xueyuan Road, Xili, Nanshan, Shenzhen, 518055, China.
AUTEL LATIN AMERICA
- Website: www.autel.com
- Email: [email protected], [email protected]
- Address: Avenida Americas 1905, 6B, Colonia Aldrete, Guadalajara, Jalisco, Mexico
AUTEL APAC
- Phone: +045 5948465
- Website: www.autel.com/jp/
- Email: [email protected], [email protected]
- Address: 719, Nissou Building, 3-7-18, Shinyokohama, Kouhoku, Yokohama, Kanagawa, Japan 222-0033
Autel IMEA DMCC
- Phone: +971 585 002709
- Web: www.autel.com
- Email: [email protected], [email protected]
- Address: Office 1006-1010, Cluster C, Fortune Tower, Jumeirah Lakes Tower (JLT), Dubai, U.A.E
For technical assistance in other markets, please contact your local distributor.
Repair Service
If it becomes necessary to return your device for repair, please download the repair service form from www.autel.com, and fill in the form. The following information must be included:
- Contact name
- Return address
- Telephone number
- Product name
- Complete description of the problem
- Proof-of-purchase for warranty repairs
- Preferred method of payment for non-warranty repairs
NOTE
For non-warranty repairs, payment can be made with Visa, Master Card, or with approved credit terms.
Send the device to your local distributor, or to the below address:
6th-10th Floor, Building B1, Zhiyuan, Xueyuan Road, Xili, Nanshan, Shenzhen, 518055, China
Other Services
You can purchase the optional accessories directly from Autel’s authorized tool suppliers, and/or your local distributor or agent.
Your purchase order should include the following information:
- Contact information
- Product or part name
- Item description
5 Compliance Information
FCC Compliance FCC ID: WQ8BATS-BT508
This device complies with part 15 of the FCC Rules. Operation is subject to the following two conditions:
(1) This device may not cause harmful interference, and
(2) This device must accept any interference received, including interference that may cause undesired operation.
WARNING
Changes or modifications not expressly approved by the party responsible for compliance could void the user’s authority to operate the equipment.
NOTE
This equipment has been tested and found to comply with the limits for a Class B digital device, pursuant to Part 15 of the FCC Rules. These limits are designed to provide reasonable protection against harmful interference in a residential installation.
This equipment generates uses and can radiate radio frequency energy and, if not installed and used in accordance with the instructions, may cause harmful interference to radio communications. However, there is no guarantee that interference will not occur in a particular installation. If this equipment does cause harmful interference to radio or television reception, which can be determined by turning the equipment off and on, the user is encouraged to try to correct the interference by one or more of the following measures:
– – Reorient or relocate the receiving antenna.
– – Increase the separation between the equipment and receiver.
– – Connect the equipment into an outlet on a circuit different from that to which the receiver is connected.
– – Consult the dealer or an experienced radio/TV technician for help.
FCC Radiation Exposure Statement
This equipment complies with FCC radiation exposure limits set forth for an uncontrolled environment. This equipment should be installed and operated with minimum distance 20cm between the radiator & your body.
RF Warning Statement
The device has been evaluated to meet general RF exposure requirement. The device can be used in portable exposure condition without restriction.
RF ETSIEN300328 V2.2.2 (2019-07)
RoHS COMPLIANCE
This device is declared to be in compliance with the European RoHS Directive 2011/65/EU and Directive (EU) 2015/863. IEC62321
CE COMPLIANCE
This product is declared to conform to the essential requirements of the following Directives and carries the CE mark accordingly:
EMC ETSIEN301489-1 V2.2.3 (2019-11) ETSIEN301489-17 V3.1.1 (2017-02)
Safety EN62368-1: 2014+A11: 2017
Health EN50663: 2017: EN62479: 2010
Directive 2014/53/EU
![]()
6 Warranty
Limited One Year Warranty
Autel Intelligent Technology Corp., Ltd. (the Company) warrants to the original retail purchaser of this MaxiCOM Diagnostic Device, that should this product or any part thereof during normal consumer usage and conditions, be proven defective in material or workmanship that results in product failure within one (1) year period from the date of purchase, such defect(s) will be repaired, or replaced (with new or rebuilt parts) with Proof of Purchase, at the Company’s option, without charge for parts or labor directly related to the defect(s).
The Company shall not be liable for any incidental or consequential damages arising from the use, misuse, or mounting of the device. Some states do not allow limitation on how long an implied warranty lasts, so the above limitations may not apply to you.
This warranty does not apply to:
a) Products subjected to abnormal use or conditions, accident, mishandling, neglect, unauthorized alteration, misuse, improper installation or repair or improper storage;
b) Products whose mechanical serial number or electronic serial number has been removed, altered or defaced;
c) Damage from exposure to excessive temperatures or extreme environmental conditions;
d) Damage resulting from connection to, or use of any accessory or other product not approved or authorized by the Company;
e) Defects in appearance, cosmetic, decorative or structural items such as framing and non-operative parts.
f) Products damaged from external causes such as fire, dirt, sand, battery leakage, blown fuse, theft or improper usage of any electrical source.
IMPORTANT
All contents of the product may be deleted during the process of repair. You should create a back-up copy of any contents of your product before delivering the product for warranty service.


















