QUOIZEL BURD9015AC Burdett 3 Light 25 inch Aged Copper Outdoor Post Lantern

SAFETY INFORMATION
Please read and understand this entire manual before attempting to assemble, install or operate the product.
WARNING
- RISK OF ELECTRIC SHOCK – Before beginning installation, turn off electricity at the circuit breaker box or the main fuse box.
- RISK OF FIRE – Use bulbs specified by the markings and/or labels on the fixture.
CAUTION
- For your safety, read instructions completely before beginning installation.
- If in doubt about electrical installation, consult a licensed electrician.
- Turn off electricity to fixture before replacing the bulb(s).
TOOLS REQUIRED

CARE AND MAINTENANCE
Wipe clean using soft, dry cloth or static duster. Always avoid using harsh chemicals and abrasives to clean fixture as they may damage the finish.
If you need further assistance call Quoizel Customer Care at 1-800-645-3184 (9:00am – 5:00pm EST), or visit us on-line at www.quoizel.com.
PACKAGE CONTENTS

MOUNTING HARDWARE

INSTALLATION
- Remove Papers inside of the Cage

- Install Bulbs

- Close the Door

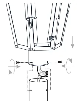
- Pull Supply Wires

- Wiring

- Install Fixture Body

Your installation is now complete! Restore electricity and save this sheet for future reference.

























