INSTALLATION GUIDE
FOR BOU8407MBK and BOU8407MTI
SAFETY INFORMATION
Please read and understand this entire manual before attempting to assemble, install or operate the product.
WARNING
- RISK OF ELECTRIC SHOCK – Before beginning installation, turn off electricity at the circuit breaker box or the main fuse box.
CAUTION
- For your safety, read the instructions completely before beginning installation. · If in doubt about electrical installation, consult a licensed electrician.
| Ratings | 120Vac, 60Hz | |
| Model No. | Wattage | |
| BOU8407MBK | 6W | |
| BOU8407MTI | 6W | |
TOOLS REQUIRED

CARE AND MAINTENANCE
- Wipe clean using a soft, dry cloth or static duster. Always avoid using harsh chemicals and abrasives to clean fixtures as they may damage the finish.
If you need further assistance call Quoizel Customer Care at 1-800-645-3184 (9:00 am – 5:00 pm EST), or visit us online at www.quoizel.com.
PACKAGE CONTENTS

MOUNTING HARDWARE

INSTALLATION
- Install Inner Backplate

- Wiring

- Install Fixture Body

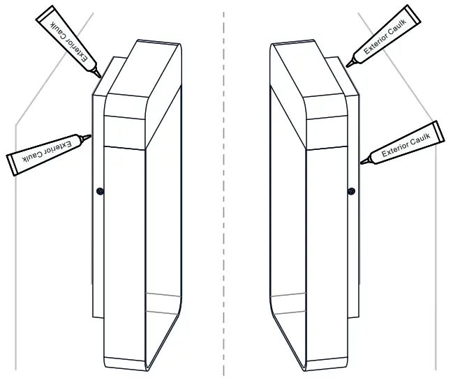
- Apply Caulking
* Note: Do NOT caulk the bottom of the backplate to allow moisture to escape.
Your installation is now complete! Restore electricity and save this sheet for future reference.
Released Date: 2021-09-06























