QUOIZEL PNT8306MBK Pointsett LED 16 inch Matte Black Outdoor Wall Lantern

SAFETY INFORMATION
Please read and understand this entire manual before attempting to assemble, install or operate the product.
|
Ratings | 120Vac, 60Hz | |
| Model No. | Wattage | |
| PNT8306MBK | 12W | |
| PNT8406MBK | 12W | |
WARNING: RISK OF ELECTRIC SHOCK – Before beginning installation, turn off electricity at the circuit breaker box or the main fuse box.
CAUTION
- For your safety, read the instructions completely before beginning installation.
- If in doubt about electrical installation, consult a licensed electrician.
TOOLS REQUIRED

CARE AND MAINTENANCE
- Wipe clean using soft, dry cloth or static duster. Always avoid using harsh chemicals and abrasives to clean fixtures as they may damage the finish.
- If you need further assistance call Quoizel Customer Care at 1-800-645-3184 (9:00 am – 5:00 pm EST), or visit us online at www.quoizel.com
PACKAGE CONTENTS

- Fixture Body x 1
MOUNTING HARDWARE

- Inner Backplate x 1
- Mounting Screw x 2
- Wire Connector x 3
- Outlet Box Screw x 2
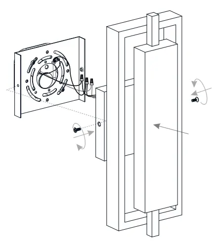
INSTALLATION
Install Inner Backplate

Wiring

Install Fixture Body

Apply Caulking
Note: Do NOT caulk the bottom of the backplate to allow moisture to escape.

Your installation is now complete! Restore electricity and save this sheet for future reference.




















