Powr-Flite PV160-W14-U Borelli Dual Pro Upright Vacuum Cleaner

Warranty
- Please visit: https://www.powr-flite.com/warranty-registration to learn more about your warranty and our warranty policy.
Warning Labels
Prior to operating the unit, read and understand completely this owner’s manual paying special attention to warning labels. These labels indicate a potentially hazardous situation that could resultin death or serious injury if not avoided. Use only as described in this manual.
Important
- There are no owner serviceable parts inside this machine.
- Removal of screws and accessing internal components will void all warranty claims.
Your new Powr-Flite unit is a high quality, precision-made product. All parts used in the manufacturing of this unit have passed rigid quality control standards prior to assembly. Please safeguard the original receipt/invoice given at the time of purchase. If you experience any problems with your unit during the warranty period, the original receipt/invoice will act as proof of purchase.
Upon receipt, inspect outer box for exterior damage. Unpack all internal parts, ensure all items are present according to the owner’s manual, and review components for damage. Each unit is tested and thoroughly inspected prior to shipping. If damage is discovered, immediately notify the transportation company that delivered your machine and request an inspection. As a manufacturer, we are unable to act upon any claim for concealed damage and you must originate the claim. Be sure to keep the carton, packing inserts, and carrier’s receipt until the inspector has verified your claim.
GROUNDING INSTRUCTIONS
DANGER: Improper use of the grounding plug can result in a risk of electric shock.
WARNING
Improper connection of the equipment-grounding conductor can result in a risk of electric shock. Check with a qualified electrician or service person if you are in doubt as to whether the outlet is properly grounded. DO NOT modify the plug provided with the appliance. If it will not fit the outlet, have a proper outlet installed by a qualified electrician.
DANGER: Improper use of the grounding plug can result in a risk of electric shock.
Grounding Methods

This appliance must be grounded. If it should malfunction or breakdown, grounding provides a path of least resistance for electric current to reduce the risk electric shock. This machine is equipped with a cord having an equipment-grounding conductor and grounding plug. The plug must be inserted into an appropriate outlet that is properly installed and grounded in accordance with all local codes and ordinances. This appliance is for use on a nominal 115-volt circuit, and has a grounding plug that looks like the plug illustrated in sketch A.
IMPORTANT SAFETY INSTRUCTIONS
READ AND UNDERSTAND ALL INSTRUCTIONS BEFORE USING THIS UNIT
Read and understand this owner’s manual and all labels on the unit before operating. Safety is a combination of common sense,staying alert, and knowing how your unit works. Use this unit only as described in this manual. Use only manufacturer’s recommended attachments. To reduce the risk of personal injury or damage to your unit use only recommended accessories.
WARNING: To avoid fire, DO NOT use with a flammable or combustible liquid or floor cleaner.
WARNING: To avoid electric shock, DO NOT expose to rain. Store Indoors.
When using this unit, basic precautions should always be followed, including the following:
- DO NOT leave unit when plugged in. Unplug from outlet when not in use and before servicing.
- DO NOT allow unit to be used as a toy. Close attention is necessary when used around or near children.
- Use only as described in this manual. Use only manufacturer’s recommended attachments.
- DO NOT use with damaged cord or plug. If unit is not working properly because it has been dropped, dropped into water, left outdoors, or damaged in any way, contact a service center
- DO NOT handle plug or appliance with wet hands.
- DO NOT put any objects into openings.
- DO NOT use with any opening blocked: keep free of dust, lint, hair, or anything that may reduce air flow.
- Keep hair, loose clothing, fingers, and all parts of body away from openings and moving parts.
- DO NOT pick up anything that is smoking or burning such as cigarettes, matches, or hot ashes.
- DO NOT use to pick up hazardous chemicals.
- Turn off all controls before unplugging.
- DO NOT use to pick up flammable or combustible liquids such as gasoline or use in areas where they may be present.
- DO NOT use where oxygen or anesthetics are used.
- Replace damaged or worn parts immediately with genuine original equipment parts to maintain safety.
- This unit must be connected to a properly grounded outlet only. See grounding instructions.
- DO NOT use equipment out of doors or in the rain.
- DO NOT use equipment near or around flammable or explosive materials, fuels, or solvents.
- DO NOT allow the unit to freeze.
- Anyone designated to operate this equipment must, without fail, read and thoroughly understand all instructions and precautions prior to use.
- Do not operate equipment under any unsafe condition.
State of California Proposition 65 Warnings
WARNING
- This product contains one or more chemicals known to the state of California to cause cancer.
- This product contains one or more chemicals known to the state of California to cause birth defects or other reproductive harm.
Intended Use

- Do NOT modify this unit in any way or adapt it for any other use.
- Modification of this unit in any way will void all warranties and could create safety hazards.
TECHNICAL SPECIFICATIONS
| Model | PV160-W14-U |
| Voltage/Frequency | 120VAC/60 Hz |
| Vacuum Motor Rating | 1200W/10A |
| Brush Motor Rating | 222W/1.85A |
| Bag Capacity -Dry | 3.8 Qt/3.6L |
| Airflow | 120cfm/3.4 ccm |
| Water Lift | 65 in./1650 mm |
| Filtration | [email protected] micron |
| Brush Width | 12 in./305 mm |
| Cable Length | (2) 30’/9 M extension cords |
| Weight | 24.2 lbs./10.98 kg |
| Noise Level | 69.9 db (A) |
| Construction Class | I |
| Protection | IP20 |
COMMON REPLACEMENT PARTS
| PV160-W14-U | |
| 90145 | Pre-Motor Filter (Pkg of 1) |
| 90144 | HEPA Exhaust Filter |
| 39334 | Brush Assembly |
| 39335 | Brush Belt |
| 39304 | Rocker Switch |
| X0161 | 30Ft. Extension Cord |
| 39311 | Wheel Assembly |
| 39326 | Vacuum Motor |
| 39338 | Brush Motor |
| 90142 | Crevice Tool |
| 90143 | Brush Tool |
| X0162 | Wand Assembly |
PARTS IDENTIFICATION

Replacement Bags, Belts, and Filters
| Genuine Powr-Flite Vacuum Bags (25 per package) | X1999 |
| Genuine Powr-Flite Vacuum Belt (1 per package) | 39335 |
| Pre-Motor Filter (1 per package) | 90145 |
| HEPA Exhaust Filter (1 per package) | 90144 |
| Reusable Cloth Bag w/Clamp | CM-CLOTH |
OPERATION
How to Attach the Handle to the Vacuum Cleaner
The vacuum cleaner and the handle are packed separately.

- After first removing the handle screw, insert handle into the hole on top of the vacuum cleaner. (Fig. 1)
- Line up the small hole on the handle with the small hole on the vacuum cleaner and insert the screw. Make sure the screw is secured tightly.
Connect the Power Cord

- Attach up to (2) 30’, 16/3 SJT extension cords (provided) to the pigtail on the vacuum. Ensure all cord connections are made using the cord lock system(s) (Fig. 2) that come with the vacuum.
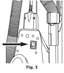
ON/OFF Switch

- To turn the vacuum on, push the switch located the rear of the unit to the ( I ) position. (Fig. 3)
- To turn the vacuum off, push the switch to the ( O ) position.
NOTE
- The brush motor is only activated when the handle is moved back to the working position.
- The handle on this vacuum cleaner can be set to one of three positions – upright, working or low.
How to Adjust the Handle

- To release the handle, step on the left rear corner of the vacuum cleaner (Fig. 1).
- Upright position – for when cleaning tools are being used or for storage (Fig. 2). Handle locks in this position.
- Working position – for normal cleaning (Fig. 3).
- Low position – for cleaning under furniture (Fig. 4).
Brush Head Adjustment

Your Powr-Flite upright vacuum cleaner is designed with a Self-Adjusting Brush Head. No manual adjustments are required. The height of the brush head is instantly adjusted to carpet pile height. This self-adjusting feature allows the brush head to float evenly over all carpet pile surfaces.
Edge Cleaning Feature

- The edge cleaning feature provides improved cleaning near walls and stationary furniture.
- For maximum edge cleaning, position the right side of the vacuum from the user’s perspective near walls or stationary furniture.
Cleaning with On-Board Tools
This vacuum is equipped with on-board cleaning tools including a metal telescopic wand, stretch hose, dusting brush and crevice tool.

- To use the cleaning tools, lift the hose handle straight up from the vacuum (Fig. 1).
- Extend the wand by pushing the button forward and pulling the smaller wand out of the larger wand (Fig.2).
- Attach any of the on-board tools to the end of the wand or if you do not need the wand, any tool can be connected directly onto the hose handle.
MAINTENANCE
Always operate the vacuum cleaner with a vacuum bag installed.
How to Change the Vacuum Bag

- Unplug the vacuum cleaner. Remove the bag compartment cover and remove the used bag from the bag holder (Fig. 3).
- Attach the new vacuum bag onto the bag holder (Fig. 4).
- Pull the bottom corners of the new vacuum bag (Fig. 5).
- Reinsert the tab on the end of the bag compartment cover into the groove on the bag compartment housing. Press it into place and fasten the bag compartment tightly (Fig. 6).
How to Change Filters
- Your Powr-Flite vacuum cleaner is equipped with an Pre-Motor Filter and a HEPA Exhaust filter.
- These filters capture fine dust particles and protect the motor from dirt.
- It is important to replace the HEPA Exhaust filter approximately every six months.
To Change or Clean the Pre-Motor Filter

- Unplug the vacuum cleaner. Remove the bag compartment cover and the bag.
- Remove the Pre-Motor Filter (Fig.1) and shake or brush off the dirt then replace filter.
- Replace the bag and bag compartment cover.
To Change the HEPA Exhaust Filter
- Unplug the vacuum cleaner. Remove the bag compartment cover.
- Remove the HEPA Exhaust filter from the front of the bag compartment. (Fig. 2)
- Insert a new filter and replace the bag compartment cover.
Note: HEPA Exhaust filters cannot be washed and used again.
CAUTION: Unplug the vacuum cleaner before performing any of these steps.
How to Remove the Bottom Plate

- Place the vacuum cleaner in the low position. Turn the vacuum over.
- Slide the clips toward each other (Fig. 1).
- Remove the bottom plate.
How to Replace the Belt

- Turn the unit over and remove the bottom plate as described in the above section.
- Remove the agitator by pulling it straight out.
- Remove the belt from the agitator and motor pulley.
- Loop a new belt over the motor pulley and over the end of the agitator.
- Stretch the belt over the agitator while inserting it back into the brush head housing.
- Replace the bottom plate by hooking the front end of the plate into the two ribs on the front end of the brush head housing. (Fig. 2) Press the bottom plate into place by sliding the clips away from each other.
NOTE: To ensure maximum cleaning efficiency, check the belt regularly to ensure it is in good condition. Replace the belt if it is stretched, cracked or if excessive slipping is occurring.
How to Clean the Brush Head Hose

- Remove the wand from the wand / hose holder.
- Squeeze the tabs on both sides of the quick clean-out port and pull away from the vacuum (Fig. 1).
- Check above and below the port opening for obstructions.
- Remove any obstructions.
- Replace the quick clean-out port by squeezing both tabs and pushing it back into the wand / hose holder.
CAUTION: Unplug the vacuum cleaner before performing any of these steps.
Your new vacuum cleaner is circuit breaker protected to prevent motor damage due to airflow or brush obstruction. Should your vacuum cleaner experience an obstruction, the circuit breaker will trip and safely turn off the motor.
To reset circuit breaker

- Press the on/off switch to the off position “O” and unplug the vacuum cleaner cord.
- Check brush and remove any entangled objects. Remove bottom plate to access obstruction if necessary.
- Check for airflow obstruction and remove obstruction (full bag, clog in brush head hose, clog in wand/hose, clogged filters, etc.)
- After removing obstruction reset the circuit breaker by pushing the reset button and resume operation (Fig. 1).
NOTICE: Do not repeatedly reset circuit breaker button without removing obstruction, motor failure may result and void warranty. If vacuum cleaner fails to turn on, contact an Authorized Service Center.
For Best Performance
- Keep machine and all accessories clean and in good operating condition.
- Change vacuum bags and filters as recommend to maintain optimum cleaning efficiency.
- Always use genuine bags, filters and parts, as use of other products may result in poor cleaning or filtration performance. Powr-Flite filtration products are designed for maximum performance.
- Have machine checked periodically by the retailer where you purchased your Powr-Flite vacuum.
- Store machine carefully in dry area.
- For optimum cleaning performance and safety, follow your owner’s manual.
More Information
Powr-Flite
- 3101 Wichita Court Ft. Worth, TX 76140-1755
- Phone: 817-551-0700
- WWW.POWR-FLITE.COM
Record of Purchase
- Serial Number: …………………….
- Purchase Date: ………………………….
- Dealer: …………………………
- Phone Number: ……………………..

















