

MCMR-3000
Built-in receiver On/Off,
2 channels
2-channel built-in receiver On/Off for permanent installation; for placement in a connection- or wall box. Can be connected to an existing power switch with 230 V AC control. The MCMR-3000 needs both a phase and a neutral connection. The receiver is fully compatible with other System Nexa products.
SAFETY
Read all the instructions carefully first. Call in a professional if necessary. Next cannot be held liable if the product is used for any purpose other than that for which it was designed, or if the associated instructions are not followed. Never connect lights or any equipment that exceeds the maximum stated load of the receiver, as this can result in faults, short circuits,s or fire. Do not attempt to repair the product. The product contains no serviceable parts.
INSTALLATION
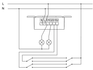
Make sure that the wires are free from voltage by disconnecting the current in the electrical panel.
Connect the phase (Live) to L, the outgoing power line (load) to O1/O2, neutral to N, and the power switch to S1/S2, see the circuit diagram.
PROGRAMMING
1. Connect voltage to the MCMR-3000
2. Briefly press the programming button for the required channel; the LED indicator starts to flash.
3. Press the “ON” button for the selected channel on a System Next transmitter within 12 seconds.
CONFIRMATION OF PROGRAMMING
The LED indicator on the receiver flashes slowly for 2 seconds.
DELETE MEMORY SLOT
1. Briefly press the programming button for the required channel; the LED indicator starts to flash.
2. Press the “OFF” button for the selected channel on a System Next transmitter within 12 seconds.
CONFIRMATION OF DELETION
The LED indicator on the receiver flashes slowly for 2 seconds.
DELETION OF ALL MEMORY SLOTS
1. Press the programming button and hold it down for 6 seconds. The LED indicator starts to flash quickly.
2. Release the programming button and then press it briefly once more.
CONFIRMATION OF DELETION OF ALL MEMORY SLOTS
The LED indicator on the receiver flashes slowly for 2 seconds.
MEMORY
The MCMR-3000 has 16 memory slots per channel. When all the memory slots for a channel are full, the oldest one will be deleted when a new one is programmed.
CONTROL
The receiver can be controlled in several ways.
1. With a programmed System Nexa Remote Control
2. With other programmed System Nexa transmitters
3. With a power switch
4. With a Nexa Smart Hub
5. With Nexa Bridge
SAFETY AND INFORMATION
Range indoors: up to 30 m (optimal conditions). The range is heavily dependent on local conditions – such as if there are any metals nearby. For example, the heavy metal coating in low-emission energy glass has a negative impact on the range of the radio signals. There may be limitations on the use of the unit outside the EU. If appropriate, check that the unit complies with the local regulations.
Max. load: Never connect lights or equipment that exceeds the maximum load of the receiver. This can result in faults, short circuits,s or fire.
Life-support equipment: Never use Nexa products for life support equipment or other devices where faults or disruptions can have life-threatening consequences.
Disruptions: All wireless units can be affected by disruptions that may have an impact on performance and range. The minimum distance between two receivers should therefore be at least 50 cm.
Repairs: Do not attempt to repair the product. It does not contain any serviceable parts. Waterproofing: The product is not waterproof. Make sure that it is
always dry. Moisture will corrode the electronic components inside and may result in short circuits, faults, and the risk of electric shock.
Cleaning: Clean the product with a dry cloth. Do not use chemicals, solvents, or potent cleaning agents.
Environment: Do not expose the product to extreme heat or cold, as this may damage the electronic circuits or shorten their service life.

The circuit diagram, double gang switch

The circuit diagram, single gang switch, 2 circuits

TECHNICAL DATA
MCMR-3000
| Power supply | 220–240 V~50 Hz |
| Max. load | 1500 W / channel Resistive, 200 W / channel LED |
| Frequency | System Nexa (433.92 MHz) |
| Range | up to 30 m |
| Memory slots | 2 x 16 |
| Own consumption | <1 W |
| Operating temperature IP classification | 0–40°C |
| IP classification | IP20 Indoor use |
| Dimensions | 48 x 48 x 25 mm |
A declaration of conformity is available online at www.nexa.se

NEXA AB, DATAVÄGEN 37B, 436 32 ASKIM, SWEDEN
[email protected] | www.nexa.se
















