Clarion CMM-30 Marine Digital Media Receiver

FEATURED

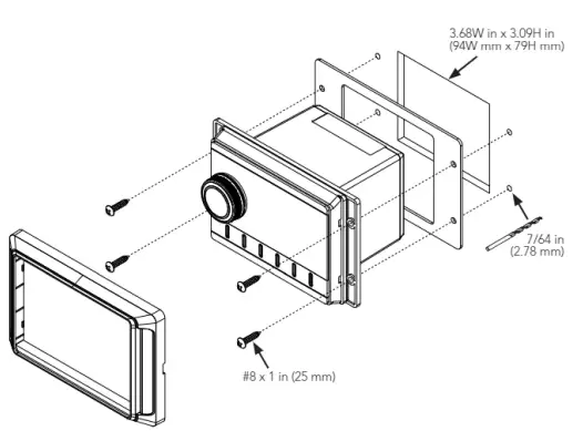
WHAT IN THE BOX



SAFETY CONSIDERATIONS
- Only use this product in vehicles with 12 volt, negative-ground electrical systems. This product is not certified or approved for use in aircraft.
- Mount this product securely to prevent damage or injury in
severe conditions. - Do not replace the power wire fuse with one of a different value.
Never bypass the fuse. - Listen to your audio system at levels appropriate for operating conditions and hearing safety.
INSTALLATION CONSIDERATIONS
- Installation requires appropriate tools and safety equipment. Professional installation is recommended.
- This product is water-resistant. Do not submerge or subject to highpressure water spray.
- Before installation, turn off the audio system and disconnect the battery system from the audio system.
- Install in a dry, well-ventilated location that does not interfere with your factory-installed systems. If a dry environment is not available, a location that is not exposed to heavy splashing may be used.
- Before cutting or drilling, check for potential obstacles behind mounting surfaces.
- Carefully route all system wiring away moving parts and sharp edges; secure with cable ties or wire clamps and use grommets and loom where appropriate to protect from sharp edges.
GENERAL CONTROL FUNCTIONS






IMPORTANT
- Properly secure the connected device before driving to prevent damage from dropping or sudden acceleration/braking.
- Control, functionality and display may vary depending on the model and version of iPhone® connected.
- When connected via USB port, make sure to unpair or disable the Bluetooth connection to avoid possible playback conflicts.
- If you experience abnormal performance during operation, disconnect the iPhone® and check its condition. Restart your iPhone® if performance does not improve.
- “Made for iPhone” means that an electronic accessory has been designed to connect specifically to an iPhone® and has been certified by the developer to meet Apple performance standards. Apple is not responsible for the operation of this device or its compliance with safety and regulatory standards. Please note that the use of this accessory with an iPhone® may affect wireless performance.
- iPhone® and all related marks and logos are trademarks of Apple Inc., registered in the U.S. and other countries.
SIRIUSXM® SATELLITE RADIO
Only SiriusXM® brings you more of what you love to listen to, all in one place. Get over 140 channels, including commercial-free music plus the
best sports, news, talk, comedy and entertainment. Welcome to the world of satellite radio. A SiriusXM Vehicle Tuner and Subscription are required. For more information, visit www.siriusxm.com.
(SiriusXM service is only available in the continental US and Canada.)
Activating Your SiriusXM Subscription
- After installing your SiriusXM Connect tuner and antenna, power on your CMM-30 and select SiriusXM mode. You should be able to hear the SiriusXM preview channel on Channel 1. If you cannot hear the
- preview channel, please check the installation instructions to make sure your SiriusXM Connect tuner is properly installed.
- After you can hear the preview channel, tune to Channel Oto find the Radio ID of your tuner. In addition, the Radio
- ID is located on the bottom of the SiriusXM Connect Vehicle Tuner and its packaging. You will need this number to activate your subscription. Write the number down for reference.
Note: the SiriusXM Radio ID does not include the letters I, 0, Sor F.
In the USA, you can activate online or by calling SiriusXM Listener care:
- Visit www.siriusxm.com/activatenow
- Call SiriusXM Listener Care at 1-866-635-2349
For Canadian Subscriptions, please contact:
- Visit www.siriusxm.ca/activate
- Call SiriusXM Customer Care at 1-888-539-7474
As part of the activation process, the SiriusXM satellites will send an activation message to your tuner. When your radio detects that the tuner has received the activation message, your radio will display: “Subscription Updated”.
Once subscribed, you can tune to channels in your subscription plan.
Note: The activation process usually takes 10 to 15 minutes, but may take up to an hour. Your radio will need to be powered on and receiving the SiriusXM signal to receive the activation message.
Parental Controls
Some SiriusXM channels contain mature content. When the Parental Controls feature is enabled, channels with mature content are restricted and will require a 4-digit lock code to access.
Enabling Parental Controls
- Press BACK/MENU to access the SiriusXM: Main Menu.
- Turn VOL /SEL to Parental Controls and press to enter.
- Press VOL/SEL to select Lock Mature Channels. After, you must enter a 4-digit lock code to lock mature content channels. (Parental Control default passcode: 0000)
- Use VOL/SEL to enter the 4-digit lock code and select Save when finished.
Changing the Lock Code
- Press BACK/MENU to access the SiriusXM: Main Menu.
- Turn VOL/SEL to Parental Controls and press to enter.
- Turn VOL /SEL to Ed it Lock Code and press enter.
- Use VOL/SEL to enter the current
- digit lock code and select Enter when finished.
- Use VOL/SEL to enter the new lock code and select Enter to confirm. Make sure to save your 4-digit lock code for future reference.
SIRIUSXM MAIN MENU
This allows access to the SiriusXM operational menu options. Refer to the table below for available settings and functionality.
- Press BACK/MENU to access the SiriusXM: Main Menu.
- Turn VOL/SEL to highlight one of the menu settings listed in the table below and press to enter.
- Use VOL/SEL to make selections.
Setting/Function
| Now Playing Browse By Channel | Return to the Now Playing Screen View list of available SiriusXM channels |
| Browse By Category | View list of available SiriusXM channels by category |
| Direct Tune
My Account | Allows entry for direct channel selection View your SiriusXM account status, Radio ID and Reset SiriusXM command |
| Parental Controls | Settings for access to Lock and Unlock Mature SiriusXM channels |
Album Art
Album art can be displayed for most of the SiriusXM music channels. When album art is not available, the Channel Default Logo image or the SiriusXM Default Logo image will be displayed.
Resetting SiriusXM Settings
A reset will restore all presets and settings, including parental controls, back to their factory defaults.
- Press BACK/MENU to access the SiriusXM: Main Menu.
- Turn VOL/SEL to My Account and press to enter.
- Turn VOL/SEL to Reset SiriusXM Tuner and press to enter.
- Use VOL/SEL to select Confirm.
Sirius, XM and all related marks and logos are trademarks of Sirius XM Radio Inc. All rights reserved.
SIRIUSXM TROUBLESHOOTING
Advisory messages may appear on the display when a SiriusXM-Connect Vehicle Tuner is connected to the CMM-30. Refer to the table below for an explanation and suggested corrective actions.
| Advisory Message I | Description |
|
Check Antenna | The radio has detected a fault with the SiriusXM antenna. The antenna cable may be either disconnected or damaged. • Verify that the antenna cable is connected to the SiriusXM Connect Vehicle Tuner. • Inspect the antenna cable for damage and kinks. Replace the antenna if the cable is damaged. • SiriusXM products are available at your local audio retailer or on line |
| Check Tuner | The radio is having difficulty communicating with the SiriusXM Connect Vehicle Tuner. The tuner may be disconnected or damaged. • Verify that the SiriusXM Connect Vehicle Tuner cable is securely connected to the radio. |
|
No Signal | The SiriusXM Connect Vehicle Tuner is having difficulty receiving the SiriusXM satellite signal. • Verify that your vehicle/vessel is outdoors with a clear view of the sky. • Verify that the SiriusXM antenna is mount on the exterior. • Move the SiriusXM antenna away from any obstructions. • Inspect the antenna cable for damage and kinks. • Consult the SiriusXM Connect Vehicle tuner installation manual for more infor- mation on antenna installation. Replace the antenna if the cable is damaged. SiriusXM products are available at your local audio retailer or on line at www.shop. :;iiCi!l:;i [llQ[ll. |
|
Subscription Updated | The radio has detected a change in your SiriusXM subscription status. Press VOUSEL to clear the message. In the U.S.A. visit www.siriusxm.com or call 1-866–635-2349 if you have questions about your subscription. In Canada, visit www.siriusxm.ca or call 1-888-539-7474 if you have questions about your subscription. |
| Channel Unavailable | The channel that you have requested is not a valid SiriusXM channel or the channel you were listening to is no longer available. You may also see this message briefly when first connecting a new SiriusXM Connect Vehicle tuner. Visit www.siriusxm.com for more information about the SiriusXM channel lineup. |
|
Channel Unsubscribed | The channel that you have requested is not included in your SiriusXM subscription package of the channel that you were listening to is no longer included in your SiriusXM subscription package. In the U.S.A. visit www.siriusxm.com or call 1-866–635-2349 if you have questions about your subscription package or would like to subscribe to this channel. In Canada, visit www.siriusxm.ca or call 1-877-438-9677. |
| Channel Locked | The channel that you have requested is Locked by the radio Parental Control fea- lure. See Parental Controls, page 12 for more information on the Parental Control feature and how to access locked channels. |
SPECIFICATIONS
| Electrical | |
| Operating Voltage | 14.4V DC (10V – 16V) |
| Operating Temp Range | -4• F to + 140° F (-20° C to +IJJ0 C) |
| Current Draw/ Fuse Value | 15 A (max) I 33 rnA (standby) 115 A |
| NMEA2CXXJ”LEN | 1 (Micro-C connector) |
| Compatible MFDs | Simrad, Lowrance, Garmin (control functionality varies by MFD manufacturer) |
| Remote Tum-On Output | SOOmA |
| Display | 3 in. TFT LCD backlit/ 3/JJ x 640 |
| Tuner | |
|
FM Tuner | USA 87.9 MHz to 107.9 MHz (0.2 MHz step) EUR 87.50 MHz to 108.00 MHz (0.05 MHz step) AUS: 87.50 MHz to 108.00 MHz (0.10 MHz step) OTHER: 87.50 MHz to 108.00 MHz (0.05 MHz step) |
|
AM Tuner | USA 530kHz to 1710 kHz (10 kHz step) EUR 531 kHz to 1/JJ2 kHz (9 kHz step) AUS: 531 kHz to 1629 kHz (9 kHz step) OTHER: 531 kHz to 1629 kHz (9 kHz step) |
| NOAA Weatherband | USA 162.400 MHz – 162.550 MHz (0.025 MHz step) |
| Favorites | 18 presets across all bands |
Bluetooth®
- Profile / Spec: 5.0 / A2DP, AVRCP
- Connection Range: Up to 35 ft / 11 m
| Interface/ Charging Output | USB 2.0 High Speed 12.1 A |
| Supported Audio Formats | MP3, WMA, FLAC, WAV |
| File Limits | Folders: 255 Files in a single folder: 3,(XX) Total Files: 9,999 |
| Apple Compatibility | iPhone SE (2nd generation) or beyond {functionality contingent upon compatible iOS release} |
Preamp Audio Outputs/Inputs
| Output Channels | Four stereo pairs of RCA plugs (3.5V RMS) |
| Output Configuration | Variable, Absolute, Off (all zones) or Sub (Zone 4 only) |
| Auxiliary Input Channels | One stereo pair of RCA plugs (1V / 2V RMS Input Sensitivity) |
Amplified Audio Outputs
- Rated RMS Power @ 14 4V: 25W × 4 @ 4 0
Audio Control Options
- Tone: Treble, Mid, Bass, Balance or 5-band equalizer (all zones)
- High-Pass Crossover: Off, 80 Hz, 100 Hz & 120 Hz (all zones)
Dimensions
- Unit W x H x D: 5.94 in. × 3.90 in. × 2.95 in. (151 mm x 99 mm x 75 mm)
- Mounting Hole W × H: 3.68 in. × 3.09 in. (94 mm x 79 mm)
AUXILIARY CONTROL OPTIONS
Two connection types are included for adding control capabilities from auxiliary locations. Refer to the supplied Owner’s Manual of each controller/ type (sold separately) for specific user and installation instructions.
REMOTE Connection
Permits direct connection of wired controllers (sold separately) using accessory controller cables and splitters (sold separately). Connect up to three controllers to a single source unit, at up to 75 ft (23m) away (cumulative cable length). Each wired remote connects directly using controller cables and 2-way splitters (sold separately). Refer to the supplied Owner’s Manual for specific user and installation instructions.

CMR-20: Wired Remote Controller with LCD Display
Full-function, water-resistant (I P67 rated) controller

CMR-10: Wired Remote Controller Auxiliary, water-resistant (I P67 rated) controller
NMEA 2000® Connection NMEA 2000®, Micro-C connector interfaces directly with NMEA 2000® networks using applicable NMEA 2000® cables and connectors (sold separately).
NMEA 2000® MFD Control Achieve control capabilities from compatible multi-function displays (MFD). NMEA 2000® functionality requires compatible NMEA 2000® entertainment protocols (PGN) and may require a software upgrade of connected MFD devices. Refer to your MFD’s manufacturer for device compatibility info.
®2022 Clarion Marine Audio Printed in China


















