Infinity LAB KAPPRV515 Marine Digital Media Receiver
Product Description
This radio is another forward thinking product from Infinity by Harman. Other Harman brands include JBL, JBL Professional, AKG, Mark Levinson, Harman Kardon, and Revel. Harman was purchased by Samsung in 2016. Prospec Electronics is Harman’s exclusive distributor to OEM’s in the marine, side by side, golf car, and hot tub industries .Our products range from mechless receivers, amplifiers, subwoofers, speakers, to other accessories. Prospec is located in Mount Pleasant, S.C., a stone’s throw away from Charleston, S.C. Should you need our expertise, please do not hesitate to give us a call. We’re all about the music and this music should resonate from components verified to complement your hard earned off road purchase.
The KAPPRV515 incorporates the following features:
![]() | AM/FM/WB/RBDS |
| SiriusXM-Ready™ (SiriusXM connect tuner and subscription required) | |
![]() | USB input and control, iPod/iPhone compatible |
| Auxiliary input | |
| 3.5″ color TFT screen I Waterproof faceplate | |
| 50W x 4 amplifier | |
![]() | Wired remote option |
![]() | U.S., European and Japan tuning |
![]() | Charging through USB |
| 4 pair of RCA output including subwoofer output | |
| Can Bus Control via NMEA2000 | |
| Video input | |
![]() | Multizone Control (Zone 1, Zone 2, Zone 3, Zone 4) |
![]() | RGB Speaker Control (MIL-LEDPWR required) |
Installation
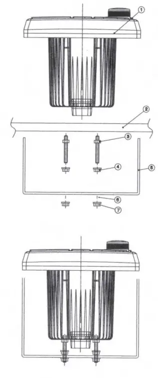
A mounting gasket has been added inside the package for convenience. Trace along the outside edge of the gasket thus revealing your 3 1/2″ cutout.
Mounting Illustration

| NO | PART DESCRIPTION |
| 1 | RADIO |
| 2 | MOUNTING PLATE |
| 3 | MOUNTING STUDS |
| 4 | JAMB NUTS |
| 5 | MOUNTING BRACKET |
| 6 | SPRING WASHER |
| OUTER NUTS |
Instructions:
- Install jamb nuts (4) loosely on mounting studs (3), so they will not touch mounting brackets (5) when installed.
- Slip mounting bracket (5) on and make flush with mounting surface (2). DO NOT TIGHTEN
- Snug spring washer (6) and outer nuts (7) against mounting plate (2).
DO NOT TIGHTEN - Position jamb nuts (4) approximately 1/16″ from mounting bracket.
- Tighten outer nuts (7) completely.
Wire Configuration

NOTE:
- When wiring, the red lead is recommended to be wired to ACC/ignition power lead.
- Make sure that the black wire on the wiring harness is connected to a good ground point on the boat. If the chassis of the boat is used as a ground point, make sure that the surface is scraped clean of paint before attaching the wire to it. It is recommended to connect the black ground wire directly to negative terminal (-) of the boat battery.
- Before wiring your system, disconnect your boat battery’s positive (+) cable. This helps prevent damage in case of a short.

- POWER
– Press it to power unit on or off. - SRC button
– Press SRC button to switch modes amongAM/FM/WB/Bluetooth/USB/SXM/AUX. - Pause, Mute button
– In USB, BT Music source playing, press to PAUSE playback, press again to resume playback.
– In Radio, SiriusXM, AUX source, press to MUTE sound output, press again to resume sound output. 4. MENU button
– In any source playing, short press to display sub-menu of current source.
– In any source playing, press and hold for 2s to enter Settings. - VOL, Selection/Enter button
– At source playing status, turn the knob to increase or decrease volume level. – In selection status, turn it to scroll move highlight upward/over, so later press again to confirm selection. - Tune Up/ Down button
– In Radio (FM/AM/WB) mode playing, short press to select previous or next station.
– In USB/BT Music source playing, short press to select the previous or next track.
– In USB source playing, press and hold to go fast forward or rewind.
– In SXM source playing, short press to select previous or next channel. Press and hold it to rapid browse channels until the button being released. - P.LIST button
– In FM, AM, WB, SXM source, press to display Global Preset List. – In USB source, press to display Fold/ File List. - View button
– In any source, press to activate Rear camera display, press again to exit. - Return button – In any status, press to return back to previous screen. Long press to display Home screen.
Sign up
Once the unit power on, the introductory home screen appears for 5 seconds, then switches to the last played mode before power off occurred.
At Home Menu, tum VOL knob to move to desired source and press rotary button to confirm.
General Operations
VOLUME Control
In any source playing status, turn VOL knob to adjust volume level. NOTE: VOL refers to main volume. Zoncl , Zone2, Zone3, Zone4 level will change along with VOL adjust.
MUTE Control
In Radio, SiriusXM, or AUX mode, press MUTE button to mute sound output; press again to resume sound output.
SETUP
At Home Screen tum VOL knob and press it to enter SETUP, then tum VOL knob to move amongst Audio, System, RGB Color, and Bluetooth, About. Press the knob at desired feature and tum the knob again to adjust the Level. Press the knob again to exit current feature adjustment.
Note: If no operation occurs, it will revert back after 5s.
You can also enter Setup by pressing and hold
MENU button at any status.
Audio Settings
At Audio Settings turn VOL knob and press it to select the sub-item of what you desire to adjust, then turn VOL knob to adjust the level, and press VOL knob again to exit current item adjustment. Then you can repeat above
- ASS: Minimum-7 to maximum +7.
- MIDDLE: Minimum -7 to maximum +7.
- TREBLE: Minimum -7 to maximum +7.
- BALANCE: LIO (full left) to RIO (full right).
- PRESET EQ: OFF, JAZZ, POP, CLASSIC, ROCK, VOCAL.
- LOUDNESS: OFF, ON

System Settings
At System Settings, turn VOL knob and press it to select the sub-item ofwhat you desire to adjust, then tum VOL knob to adjust the level, and press VOL knob again to exit current item adjustment. Then you can repeat above operations to adjust other items to desired value.
- BRIGHTNESS:
This feature controls the brightness of the display panel. It is adjustable from Oto 7. - I-VOL:
This feature controls the initial volume level of next power on. - BEEP: This feature controls the beep sound when button was pressed. With beep 2nd selected, you will hear a beep sound when the button was pressed over 2s; With beep on selected, you will hear a beep sound when any button was pressed; With beep off selected, no beep sound will be heard when button is pressed.
- REGION: The Tuner Region is optional for EURO, USA, JAPAN. (Note: with wrong Region selected, the tuner reception might be affected.)



RGB Color Settings
When MIL-LEDPWR is connected, long press MENU button to enter Setting screen. Turn VOL knob to select RGB Color, thus enabling you to adjust the color which you desire. We provide several preset colors for easy selection ·and also the user setting for professionals.

Bluetootb Settings
At Bluetooth Settings, turn VOL knob and press it to select the sub-item that you desire to adjust, then tum VOL knob to adjust the level, and press VOL knob again to exit current item adjustment.
– Auto Connection: With ON selected, it will try to connect with the last paired BT device once Bluetooth source is selected.
– Device Name: PRV5 l 5 will show once you turn VOL knob to Device Name highlighted.
About
Select About in Setup to show the firmware information of the product.
– FACTORY RESET: The unit works like a computer and may occasionally get “stuck”. Ifencountered, initialize a Factory Reset. With firmware information displayed, press and hold VOL button for more than 5s to display Factory Reset, then press the knob to confirm. (Note: once Factory Reset is carried out, prior presets will be cleared, and you will need to setup the features and Global Presets once again.)
Radio Section Operation
To Select Radio mode
At Home Screen, tum VOL knob and press it to select AM, FM or (The foreground popup icon refers to the source changing.) Or simply repeat press SRC button to select the desired source.
Radio Screen Description

Auto Tuning
In AM, FM, WB playing mode, press Tune up or down button to activate auto tune. This results in automatically stopping at next station of sufficient signal strength.
Manual Tuning
In AM, FM, WB playing mode, long press Tune up or down button for 2s. This will activate manual tune with MANUAL display on the top area. Then repeatedly press Tune up or down button to tune frequency by steps. Note: Radio will revert back to AUTO tune mode after 5s without operation.
Station Save
At your favorite station, press MENU button to enter Radio Settings, press VOL knob at SAVE AS PRESET to show the Global Preset List, then turn VOL knob to select a preset No. and press it to save the station into Preset List. The Preset No. will display once the station is saved.
Note: It will revert back to previous display after 5s without operation.
Recall Preset Station
In Radio (FM, AM, WB) or SXM source, press P.LIST button to show the Global Preset List, then turn VOL knob and press it to select the station saved on that Preset No. Once a preset station was selected, it will switch to source playing with the selected station information displayed
RDS Functions
Press MENU button in Radio source playing to display the Radio Settings screen, tum VOL knob and press it at RDS, then turn VOL again and press it to select RDS on or off. With RDS on selected, the station information, such as station name, title, ect would be displayed if the received station is a RDS station.
SiriusXM Section Operation
What is SiriusXM
Only SiriusXM® brings you more of what you love to listen to, all in one place. Get over 140 channels, including commercial-free music plus the best sports, news, talk, comedy and entertainment. Welcome to the world of satellite radio. A SiriusXM Vehicle Tuner and Subscription are required. For more information, visit www.siriusxm.com
Activating your SiriusXM Subscription
- After installing your SiriusXM Connect Tuner and antenna, power on your radio and select SiriusXM mode. You should be able to hear the SiriusXM preview channel on Channel 1. If you cannot hear the preview channels, please check the installation instructions to make sure your SiriusXM Connect tuner is properly installed. For more information on how to install the SiriusXM Connect Vehicle tuner, consult the installation guide included with the tuner.
- After you can hear the Preview channel, tune to Channel Oto find the Radio ID of your tuner. In addition, the Radio ID is located on the bottom of the SiriusXM Connect Vehicle Tuner and its packaging. You will need this number to activate your subscription. Write the number down for reference.
Note: the SiriusXM Radio ID does not include the letters I, 0, Sor F.
In the USA, you can activate online or by calling SiriusXM Listener care:
Visit www.siriusxm.com/activatenow Call SiriusXM Listener Care at 1-866-635-2349
For Canadian Subscriptions, please contact:
Visit www.siriusxm.ca/activatexm Call XM Customer Care at 1-877-438-9677
As part of the activation process, the SiriusXM satellites will send an activation message to your tuner. When your radio detects that the tuner has received the activation message, your radio will display: Subscription Updated, press Enter to continue. Once subscribed, you can tune to channels in your subscription plan. Note, the activation process usually takes 10 to 15 minutes, but may take up to an hour. Your radio will need to be powered on and receiving the SiriusXM signal to receive the activation message.
To Select SiriusXM Mode
At Home Screen, turn VOL knob and press it to select SXM source. (The foreground popup icon refers to the source changing.) Or simply repeat press SRC button to select the desired source.
SiriusXM Screen Description

To Display Radio ID
Tune to Channel Oor direct Tune to Channel Oto display the Radio ID.
MUTE
In SiriusXM mode press the MUTE button to mute sound output, and press it again to resume sound output.
To Select Channel
ln SiriusXM mode, repeat press TUNE Up or Down button to select the previous or next channel. Press and bold TUNE Up or Down button to rapid tune/browse channels, and release the button when the desired channel is displayed.
Storing a Channel as a Preset
Jn SiriusXM playing mode, tune to or direct tw1e to a channel which you want to store as a preset, then press P.LIST button. It will display the Global Preset List screen, tum knob to select a preset number and press rotary button to save cun-ent channel into Preset List. The unit will revert back to the previou display if no operation is performed in 5s.
Category List
In SiriusXM mode, first press MENU button to activate navigation, then turn the knob to move highlight to Cat.LIST and to display the Category List. Tum the knob to elect and pre s SEL button at your desired Category. Then press SEL button Lo select a desired channel.
Direct Channel Input
In SiriusXM mode, first pres MENU button to activate navigation, then tum VOL knob to move highlight to DIRECT, and press ENTER button. It will di play the keyboard. Pre VOL Up or Down button to select the desired digit, then press rotary button after each selection to move to next input. After three digit input, pres rotary button again to jump to the selected Channel. Note: If a wrong digit is entered, turn knob tomove to previous digit input. Repeat above operation until the connect channel is entered.

Preset List Channel
Tuning Jn SiriusXM play mode, press P.List to di play the Global Preset List.
Turn knob to select a desired preset and pre SEL button to listen to it. It will let you listen to the selected channel for IOs before it reverts back to source playing screen. During this time, you can select another channel.
Parental Control
The Parental Control feature allows you to limit access to any SiriusXM channels, including those with mature content. lt requires for passcode when you try to enter Parental Control feature. With correct passcode input, it allows you to operate the sub-features by turning or pressing the knob.
– Parental Control On I Off
Tum VOL konb to move highlight to Off, then press the knob to confirm the selection. With Parental Lock Off selected, all the locked channels are temporarily unlocked which w111 let you listen to the locked channels wjthout inputting the password again. Note: It will prompt for passcode again when next power on if you try to listen to the locked channels.
– To Lock/Unlock channels one by one
Turn VOL knob to move highlight to LOCK CHANNELS, then press SEL button to display the Channel list, tum VOL knob and push it at desired channel. If the selected charmel was locked, then press the knob will result unlock it; and if the selected channel was unlocked, press the knob will result lock it.
– To Unlock all channels
– Change Code
Select CHANGE MY CODE in Parental Controls, then enter your new code by turning and pressing VOL knob. It prompts for the New Code twice.
If a wrong digit is inputted, press Return button to move to previou digit input. Note: Factory defau lt pas code was 0000.
Bluetooth Section Operation
To Select Bluetooth mode
At Home Menu, turn VOL knob and press it to select Bluetooth source. (The foreground pop up icon refers to the source changing.) Or repeat press SRC button to select the desired source.

Bluetooth Screen Description

Pair BT Device
In Bluetooth source, pick “PRVS 15” option on your Bluetooth enabled dev ice. (if you are prompted for a password, the code entered will be “0000”.) Note: The Bluetootb pairing only happens with unit in Bluetooth source.
Play/Pause
Play Once the BT device being paired is successful, music will begin to play. Note: For some Bluetooth enabled phones, you may need to activate play from your phone first. It depends on the phone itself. While BT Music is playing, press the PAUSE button to pause the playback, and press it again to resume playback.
Note:
I refers to PLAY;
refers to PAUSE.
Disconnect
In BT Music playing mode, in order to disconnect the BT device, press MENU to display Bluetooth Settings, tum VOL knob and press it at Disconnect. Note: When your BT device battery is at low charge, the Bluetooth connection may occasionally be lost. To maintain good connectivity ensure that your BT device battery is adequately charged.
Connect
With BT device paired OK, but disconnected, if you want to re-establish the BT connection, press MENU to display Bluetooth Settings, tum VOL knob and press it at Connect. It will send a connect request to the last paired device. Note: With the Bluetooth connection disconnected, once you power on the unit next time, you should go into Bluetooth mode, then it will establish the Bluetooth connection automatically. Sometimes, with Bluetooth Source not in use for over 1 hour, when you switch to BT Source again, it might take some time (5~10s) to re-establish the connection by itself.
USB Section Operation
To Select USB mode
At Home Screen, tum VOL knob and press it to select BT source. (The foreground pop up icon refers to the source changing.) Or press SOURCE button to select the desired source. Note: This input is designed to read and play USB drives (mp3 and wma files), not media or phones except iPod and iPhone.

USB Screen Description

Play/Pause
Play While USB is playing, press the PAUSE button to pause the playback, and press again to reswne playback.
Note:
refers to PLAY;
refer to PAUSE.
Track Up/Down
While US B is playing, simply turn the TUNE button to select the next or previous track. To fast forward or rewind, press and hold TUNE button.
Repeat play
While USB is playing, press MENU button to show USB settings, tum VOL knob and preset it at Repeat, then turn VOL knob to select one, folder or all.
– Select Repeat One to play current track repeatedly.
– Select Repeat Folder to repeatedly play the tracks in current folder.
– Select Repeat All to repeatedly play all the tracks in drive.
Random play
While USB is playing, press MENU button to show USB USB Settings settings, turn VOL knob and press at Random, then turn Repeat VOL knob to select off folder or aU. RandomFolder
– Select Random off to disable Random play. Intro
– Select Random Folder to play the tracks in current folder in a random sequence.
– Select Random All to play all the tracks in the USB device randomly.
Intro Play
While USB is playing, simply press MENU button to show USB settings, tum VOL knob and press it at Intro, then turn VOL knob to select off, folder, or all.
– Select Intro off to disable Random play.
– Select Intro Folder to play the first 1Os of the tracks in current folder.
– Select fatro All to play the first IOs of all the tracks in current directory.
P.LIST (Folder / File Search)
While USB is playing, press P.LIST button to enter track search mode, it will display all the tracks in current playing folder.
– To select other tracks in current folder, turn VOL knob and press it at desired track. – To se lect the track in other folder , press rotary button at the desired folder.
iPod/iPhone Operation
Use of the Made for Apple badge means that an accessory has been designed to connect specifically to the Apple product(s) identified in the badge, and has been certified by the developer to meet Apple performance standards. Apple is not responsible for the operation of this device or its compliance with safety and regulatory standards. Please note that the use of this accessory with an Apple product may affect wireless performance.
iPbone and Lightning are trademarks ofApple Inc., registered in the U.S. and other countries.
Made for iPhone 8, iPhone 8 Plus, iPhone 7, iPbone 7 Plus, iPhone SE, iPbone 6s, iPhone 6s Pl us, iPhone 6, iPhone 6 Plus, and iPod touch (6th generation). Minimum iOS 10.3.2 or later.
Connect
Once you connect an iPod/iPhone to the USB input, it will read the files automatically. It can take up to 30 seconds to load all of the files, so please be patient. The more music you have, the longer it will take.
Play/Pause Play
While iPod/iPhone is playing, pres the PAUSE button to pause the playback, and pres it again to resume playback.
refers to PLAY;
refer to PAUSE.
Track Up/Down
While iPod/iPhone is playing, press TUNE UP/ON button to ·elect the next or previou track.
Repeat play
While iPod/iPhone is playing, press MENU button to show IPOD settings, tum VOL knob and preset it at Repeat, then tum VOL knob to select off, one all.
Random play
While iPod/iPhone is playing, press MENU button to show !POD settings, tum VOL knob and press at Random, then tum VOL knob to select off or on.
| Note: Please make sure the iPod/iPhone cable is connected correctly. It is recommended to use the original cable for connection. |
AUX Section Operation
To Select AUX mode
At Home Menu, press TUNE Up or Down to move the highlight to AUX source, then press SEL button to advance into the AUX mode. You can also press SRC button to enter AUX mode.
Note: movement indicated by the icon background change to light blue.

The use of auxiliary mode allows you to play the portable music device through the headphone jack.
Note: An additional accessory/adaptor must be purchased in order for this to happen. Prospec’s part, SEAMINI2 or SEAUSBMINT36 fulfills this option.
Troubleshooting
*Note: In many respects, a stereo acts much like a computer and occasionally requires a reboot. In the unliliely event of product malfunction, a reset can usually fix the issue. For software reset operation, please refer to page 9.
| Issue | Cause | Solution |
| No power |
|
|
| No Sound |
|
|
| No Reception |
|
|
| USB stick not reading |
|
|
| While in Bluetooth mode: | ||
| No Connection |
|
|
The following information helps you self-diagnose common issues without the need for contacting SiriusXM support.
| Advisory Name | Recommended Description |
| Check Antena | The radio has detected a fault with the SiriusXM antenna. The antenna cable may be either disconnected or damaged. Verify that the antenna cable is connected to the SiriusXM Connect Vehicle Tuner. Inspect the antenna cable for damage and kinks. Replace the antenna if the cable is damaged. SiriusXM products are available at your local car audio retailer or online at www.shop.siriusxm.com. |
| Check Tuner | The radio is having difficulty communicating with the SiriusXM Connect Vehicle Tuner. The tuner may be disconnected or damaged. Verify that the SiriusXM Connect Vehicle Tuner cable is securely connected to the radio. |
| NoSignal | The SiriusXM Connect Vehicle Tuner is having difficulty receiving the SiriusXM satellite signal. Verify that your vehicle is outdoors with a clear view of the sky. Verify that the SiriusXM magnetic mount antenna is mounted on a metal surface on the outside of the vehicle. Move the SiriusXM antenna away from any obstructions. Inspect the antenna cable for damage and kinks. Consult the SiriusXM Connect Vehicle tuner installation manual for more information on antenna installation. Replace the antenna if the cable is damaged. SiriusXM products are available at your local car audio retailer or online at www.shop.siriusxm.com. |
| Subscrip1ion Updaled | The radio has detected a change in your SiriusXM subscription status. Press ENTER button to clear the message.Visit www.siriusxm.com or call 866-635-2349 in the USA or 877- 438-9677 in Canada if you have questions about your subscription. |
| Channel Not Available | The channel that you have requested is not a valid SiriusXM channel or the channel that you were listening to is no longer available. You may also see this message briefly when first connecting a new SiriusXM Connect Vehicle tuner. Visit www.siriusxm.com for more information about the SiriusXM channel line up. |
| Channel Not Subscribed | The channel that yoo have requested is not included in yourSiriusXM subscriptionpackage or lhe channe.l that you were listening to is no longer included in your SiriusXM subscription package In the U.S.A., visit www.siriusxm.com or call-1 866-635-2349 If you have questions about yoursubscription package or would like to subscribe to this channel ln Canada. visit www.siriusxm.ca or call 1-877-438-967.7 |
| Channel Locked | The channel that you have requested is Locked by the radio Parental Control feature. See the description on Parental Control, page 14 for more information on the Parental Control feature and how to access locked channels. |
This product is serviced exclusively by Prospec Electronics Inc. and must be returned to Prospec for in and out of warranty repairs. It can not be serviced under warranty by other Infinity service centers.
For service contact us :
3325 South Morgans Point Road Mt Pleasant SC 29466 Tel 843-849-9037 Or visit: www.prospecelectronics.com
































