
Life H5124 Vibration Sensor
User Manual
Model: H5124
Vibration Sensor
Included in the Box
| Item | Quantity |
| Vibration Sensor | 1 |
| CR2032 Battery | (Pre-Installed) |
| Adhesive Tape | 1 |
| User Manual | 1 |
Introduction
The Gove Vibration Sensor can detect object movements. It has a built-in high-precision accelerometer sensor that can detect vibrations. It can be fixed to most indoor surfaces with adhesive tape. Based on the Bluetooth communication with Gove’s unique distributed gateway, it can transfer the detected signals as a condition to trigger automation to execute commands from other Govee products to achieve multiple intelligent scenarios.
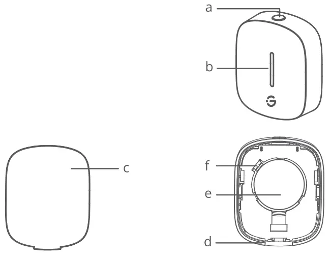
Part Names
a. Function Button
b.lndicator Light
c. Bottom Cover
d open Slot
e. Battery
f. Insulation Sheet

Controls
Button
Press and hold the function button for 3 seconds. When the indicator light flashes slowly, it means that the device has entered the Bluetooth Broadcast Mode. Please follow the in-app instructions to complete pairing.
Indicator Status
| Indicator | Working Status | Light Status |
| During the Bluetooth Broadcasting | Flashes Red |
Functions
Vibration to Trigger Signals
The sensor can detect vibrations. You can set the triggering instructions in the app.
Getting Started
- Open the packaging. Open the bottom cover from the open slot as shown in the picture. Pull out the insulation sheet and tighten the bottom cover up.

- Press and hold the function button for 3 seconds to enter the pairing mode. Follow the in-app steps to complete the pairing.
- Effective Communication Distance Verification: After completing the pairing, you can verify it in the app. Note: 1. In order to fix the product on the surface, it is recommended to tear off the included adhesive tape to stick it to the bottom of the base, then tear off the liner and fix the product to the surface. 2. Please ensure the surface is clean and dry. 3. For indoor use only.
- Low electricity might occur due to low voltage when the button cell is in a low-temperature environment (below 0°C), which might affect the battery life.
Gove Home App
You can access more features using Gove Home App.
Downloading Gove Home App
To download Gove Home App, scan the QR code or search for “Gove” in the Apple App Store® (iOS) or Google Play Store (Android).
https://www.govee.com/apps/qrcode
Note:
- Choose “Allow” to the permissions requested when opening Gave Home App for the first time. These permissions allow the app’s features to function normally and are not used to record personal, private information.
- Due to ongoing updates, Gove Home App may be slightly different than shown in this manual. In case of any differences, always follow the in-app instructions.
Pairing with Gove Home App
- Turn on your smartphone’s Bluetooth.
- Open Gove Home App, tap the “+” icon in the top right corner and search for “H5124.”
- Tap the device icon and follow the on-screen instructions to complete pairing.
Note:
• Gove Home App is being continually updated and its features do expand
Troubleshooting
The troubleshooting section below is for solving frequently asked questions. If your problem persists, please contact customer support.
For Vibration Sensor
| Problem | Solution |
| The indicator light turns off. | 1. Replace with a new battery. 2. Contact customer service. |
| Triggering signals :annoy be detected. | 1. Check the device battery and make sure it is fully charged. 2. Open the app and ensure the device and the distributed gateway are in the effective communication distance. 3. Contact customer service. |
| Low battery alert from the app. | Change the battery. |

For FAQs and more information, please visit: www.govee.com
For App & Connectivity
- Cannot connect to Gove Home App.
• Make sure your smartphone is powered on and is not connected with other Bluetooth devices.
• Enable the smartphone’s Location Services.
• Try connecting with another smartphone.
• Make sure your app is updated to the latest version.
• Make sure you connect to your Wi-Fi routers 2.4GHz network and that the network is working correctly.
• Make sure the Wi-Fi password you entered is correct.
• Shorten the distance between the sensor, distributed gateway, and the smartphone.
• Make sure your sensor and the distributed gateway are located away from appliances that produce electromagnetic radiation (e.g. microwave ovens, refrigerators, etc.)
• If you are using a VPN, try turning it off and then connecting the sensor.
• Disable portal authentication for your Wi-Fi network. If portal authentication is enabled, this sensor will not be able to access your Wi-Fi network, and setup will fail. Portal authentication means that you need to sign in to your Wi-Fi network through a web page before you can use the Internet. - Cannot find the device on Bluetooth Device Nearby page of the app.
• The sensor may be connected with another smartphone. Disconnect it from the other smartphone first. - The sensor is offline.
• Make sure the sensor is plugged in and powered on, then refresh “My Devices” in Gove Home App by swiping down on the screen.
• Make sure your router is connected to the Internet, and your smartphone’s network connection is working.
• If the Wi-Fi password has been changed, the sensor will automatically go offline. Try connecting it to the network again.
• Delete the offline sensor from Gove Home App, then add and reconfigure the sensor again in the app.
Appendix
After-Sales Service
Warranty: 12-Month Limited Warranty
Support: Lifetime Technical Support
Email: [email protected]
Official Website: www.govee.com
Specifications
| Model Name | H5124 |
| Power Supply | CR2032 |
| Power Input | DC 3V 8mA |
| Working Temperature | -10°C to 50°C/ 14°F to 122°F |
| Bluetooth Communication Distance | 55m/180ft (No obstacles) |
FCC Statement
This device complies with Part 15 of the FCC Rules. Operation is subject to the following two conditions: (1) This device may not cause harmful interference, and (2) This device must accept any interference received, including interference that may cause undesired operation.
Warning: Changes or modifications not expressly approved by the party responsible for compliance could void the user’s authority to operate the equipment.
NOTE: This equipment has been tested and found to comply with the limits for a Class B digital device, pursuant to Part 15 of the FCC Rules.
These limits are designed to provide reasonable protection against harmful interference in a residential installation. This equipment generates uses and can radiate radio frequency energy and, if not installed and used in accordance with the instructions, may cause harmful interference to radio
communications. However, there is no guarantee that interference will not occur in a particular installation. If this equipment does cause harmful interference to radio or television reception, which can be determined by turning the equipment off and on, the user is encouraged to try to correct the interference by one or more of the following measures:
- Reorient or relocate the receiving antenna.
- Increase the separation between the equipment and receiver.
- Connect the equipment into an outlet on a circuit different from that to which the receiver is connected.
- Consult the dealer or an experienced radio/TV technician for help.
FCC Radiation Exposure Statement
This equipment complies with FCC radiation exposure limits set forth for an uncontrolled environment. This equipment should be installed and operated with minimum distance 20cm between the radiator & your body.
Responsible party:
Name: GOVEE MOMENTS(US) TRADING LIMITED
Address: 13013 WESTERN AVE STE 5 BLUE ISLAND IL 60406-2448
Email: [email protected]
Contact information:
https://www.govee.com/support![]()
INDOOR USE ONLY
CAUTION: RISK OF EXPLOSION IF BATTERY IS REPLACED BY AN INCORRECT TYPE. DISPOSE OF USED BATTERIES ACCORDING TO THE INSTRUCTIONS.
WARNING: The batteries (battery pack or batteries installed) shall not be exposed to excessive heat such as sunshine, fire or the like. Extremely low air pressure that may result in an explosion or the leakage of flammable liquid or gas. Be aware discharged battery may cause fire or smoke, tape the terminals to insulate them
The Bluetooth® word mark and logos are registered trademarks owned by Bluetooth SIG, Inc. and any use of such marks by Shenzhen Qiana Technology LTD is under license.
|The trademark Gove Life has been authorized to Shenzhen Qiana Technology LTD. Copyright 02021 Shenzhen Qiana Technology LTD. All Rights Reserved. 














