Comfee CVU30W4AST Range Hood
IMPORTANT SAFETY INSTRUCTIONS
- This symbol alerts you to situations that may cause serious body harm, death or property damage.
- A potentially hazardous situation that may result in minor or moderate injury if not avoided.
- Never leave surface units unattended at high settings. Boilovers cause smoking and greasy spillovers that may ignite. Heat oils slowly on low or medium settings.
- Always turn hood ON when cooking at high heat or when flambeing food (l.e. Crepes Suzette, Cherries Jubilee, Peppercorn Beef Flambe’).
- Clean ventilating fans frequently. Grease should not be allowed to accumulate on fan or filter.
- Use proper pan size. Always use cookware appropriate for the size of the surface element
- This appliance must be grounded.
- In the event of an electrical short circuit, grounding reduces the risk of electric shock by providing an escape wire for the electric current.
- This appliance is equipped with a cord having a grounding wire with a grounding plug.
- The plug must be plugged into an outlet that is properly installed and grounded
- Use this unit only in the manner intended by the manufacturer.
- If you have questions, contact the manufacturer
- Before servicing or cleaning the unit, switch the power off at the service panel and lock the service panel disconnecting means to prevent power from being switched on accidentally.
- When the service disconnecting means cannot be locked, securely fasten a prominent warning device, such as a tag, to the service panel.
- Installation Work and Electrical Wiring Must Be Done By Qualified Person(s)
- In Accordance With all Applicable Codes & Standards, Including Fire-rated Construction. exhausting of gases through the flue (Chimney) of fuel-burning equipment to prevent back-drafting.
- Follow the heating equipment manufacturers’ guideline and safety standards such as those published by the National Fire Protection Association (NFPA), the American
- Society for Heating, Refrigeration and Air Conditioning Engineers (ASHRAE), and the local code authorities.
- When cutting or drilling into a wall or ceiling, do not damage electrical wiring and other hidden utilities. Ducted systems must always be vented to the outdoors.
MAIN PARAMETERS
- Rated Voltage and Frequency 120V~ 60Hz
- Motor Input Power: 140W Lamp:1.5W or 3W (2*1.5W)
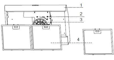
COMPONENTS
| Ref. | Qty. | Product Components |
| 1 | 1 | Main Body |
| 2 | 1 | Venting Knob |
| 3 | 1 | Air Duct Assembly |
| 4 | 2 | Grease filter (30”) |
| 3 | Grease filter (36”) | |
| Ref. | Qty. | Installation Components |
| 5 | 1 | Carbon Filter (optional) |
| 6 | 1 | Duct Connection Fitting with Damper |
| 7 | 2 | Air Outlet Cap |
| 8 | 4 | Screws M5 x 1.97” |
| 9 | 4 | Plastic Wall Plugs |
DIMENSIONS
INSTALLATION
WALL DRILLING AND BRACKET FIXING
- Please read the instructions carefully.
- Unpack the canopy and check that all functions are working. Ensure that the voltage (V) and the frequency (Hz) indicated on the serial plate match the voltage and frequency at the installation site.
- Check that the area behind the installation surface to be drilled is clear of any electrical cables or pipes, etc.
- The stainless steel and glass surfaces of the canopy are very easily damaged during installation if grazed or knocked by tools. Please take care to protect the surfaces during installation.
- Protect the cooktop surface below with cardboard, or the like, to prevent damage occurring while the vent hood is being installed above.
- The manufacturer shall not be liable for failure to observe all safety local building codes
Choose a venting mode

PREPARING THE VENT HOOD: AIR EXTRACTION MODE
Check Valve Installation and Plugs
- Hold on the check valve with your hands, align the box gap, put in the check valve , and then spin to a certain angle until three angles ofthe valve are stuck. Installation is complete.
- Install a port plug in the unused hole on the vent hood (top or back).
PREPARING THE VENT HOOD: AIR RECIRCULATION MODE
Installing the Carbon Filter
- Remove the grease filter
- The charcoal filter is located at end of the motor. Turn the carbon filter until it is unscrewed.

- Replace a new carbon filter, and apply the reverse procedure for reinstallation.

PREPARING THE VENT HOOD: EXTRACTION MODE
Information
- Sufficient air is needed for proper combustion and exhaustion of gases through the flue (chimney) of fuel-burning equipment to prevent back drafting. Ducted fans must always be vented to the outdoors.
- When assessing the air pressure, the entire ventilation system in the house/apartment must be taken into account, e.g. hob and/or gas cooker, this rule does not apply.
- Local building codes must be observed for the conveyance of exhaust air. If the extractor hood is used in circulating air mode with an activated carbon filter, there are no operating restrictions.
- If you choose an extraction-air mode, install duct connection fitting with a damper on the vent hole.

Prepare the installation
Ensure the power has been turned off before beginning this installation. Do not modify the plug and cord attached to the hood. An properly grounded outlet should be located within reach of the plug without modification. Do not use an extension cord. To install this hood you will require two assistants. You will need following tools and material to complete this installation.
Tools you will need:
- Drill appropriate to your wall
- Phillips Screwdriver
- Tape Measure
- Hand Saw or Jig Saw
- Installation work and electrical wiring must be done by a qualified person(s) in accordance with all applicable codes and standards, including fire rated construction.
- Do not discharge the exhaust air into a flue from other appliances burning gas or other fuels.
- Regulations concerning the discharge of air have to be fulfilled.
- The cooker hood must be placed at a minimum distance of 25.6” above the cooking surface of a hob.
- The cooker hood must be placed at a maximum distance of 29.5” above the cooking surface of a hob.

CUPBOARD MOUNTING INSTALLATION
- Drill a 5.12” diameter and four 0.14” diameter hole as below picture.
- Failure to install the screws or fixing device in accordance with these instructions may result in electrical hazards.
- If your cooker hood works at circulating-air mode, it is not necessary to drill 5.12” diameter hole.
- Use the 4 screws to fix the cooker hood to a kitchen cupboard .
- Check that your fixings are correctly located, by temporarily fitting the cooker hood.
- If correct, fit the unit into position.
- Tighten the screws if necessary

WALL MOUNTING INSTALLATION
- To mount on the wall, drill two 0.39” diameter holes 26.6”/27.4”with the vent hole on the top of the cooker hood in the middle as below picture. Make sure the hood is aligned directly over the hob.
- Insert two plastics wall plugs(supplied) into the holes.
- Insert two screws into the upper two plastic wall plugs and tighten them leaving 3mm protruding from the wall.
- Mount the cooker hood onto the two screws and mark the bottom two screw positions.
- Remove the hood and drill the bottom two screw holes and Insert the plastic wall plugs.
- Mount the hood on the top screws, Insert the bottom screws and fully tighten all the screws.

OPERATION
Switch A
LIGHTING
LIGHT REPLACEMENT
- Switch off the extractor hood and isolate the extractor hood by pulling out the mains plug or switching off the fuse.
- Remove the grease filter.
- Replace the lamp (commercially) led modules,separate ballast.
- Reconnect the power by inserting the mains plug or by switching on the fuse

CLEANING AND MAINTENANCE
- Cleaning the surface of hood frequently. Use mild soap or detergent to clean the hood.
- Do not use harsh alkalis or abrasives.
- Avoid the use of scouring powers or dishwasher compounds.
- The grease filter may be washed using mild soap or detergent. (Heavy grease build-up may not be cleaned easily and the filter may require replacement).
- The charcoal filter cannot be cleaned and must be replaced regularly
- Remove the metallic filter from the cooker hood and wash it in a solution of water and neutral liquid detergent, leaving to soak.
- Rinse thoroughly with warm water and leave to dry.
- The metallic filter may alter in color after several washes. This is not cause for customer complaint or replacement of metallic filter

DISPOSAL OF OLD ELECTRICAL APPLIANCES
The European directive 2012/19/EU on Waste Electrical and Electronic Equipment (WEEE), requires that old household electrical appliances must not be disposed of in the normal unsorted municipal waste stream. Old appliances must be collected separately in order to optimize the recovery and recycling of the materials they contain, and reduce the impact on human health and the environment. The crossed out “wheeled bin” symbol on the product reminds you of your obligation, that when you dispose of the appliance, it must be separately collected. Consumers should contact their local authority or retailer for information concerning the correct disposal of their old appliance.





PREPARING THE VENT HOOD: AIR RECIRCULATION MODE

























