EMGA 207420 Electric Pasta Machine Noodle Maker
ATTENTION!
THIS MANUAL IS AN INTEGRAL PART OF THE MACHINE.
Before carrying out any operation please read ALL the safety warnings, the instructions and the warranty conditions in this manual carefully. Any use of the machine not specifically foreseen by this instruction manual may cause danger; it is therefore advisable to look after it and keep it to hand for future consultation in case of necessity. The pasta machine is only designed for mixing, rolling and cutting of pasta and cannot be used for other purposes. The manufacturer is not responsible in the case of:
- incorrect use
- incorrect installation
- incorrect electrical supply
- alterations or repairs not authorized by the manufacturer;
- use of spare parts other than original spare parts or which are not specifically designed for the machine.
If you have any doubts, or for any use not foreseen by this manual, contact the retailer before installation is carried out. In the case of any communication please quote the MODEL and the SERIES NUMBER of the machine.
ELECTRICAL CONNECTIONS
Before operating the machine, check that the power supply to your premises corresponds to the technical description in this booklet. It is not possible to use any other electrical supply. The manufacturer declines all responsibility for injury to persons or damage to objects deriving from non-observance of these requirements. Where necessary fit an adapter to the plug, checking that it is suitable for the electrical cable.
WARNINGS
This device is not intended for use by persons (including children) with impaired physical, sensorial or mental ability, or without experience and knowledge, unless they have received instructions about the use of the devi-ce and are controlled by a person responsible for their safety. Children should be controlled to make sure they do not play with the device. Do not use the machine while wearing loose clothing, aprons or overalls which may be caught in the rotating rolls of the pasta machine or in the rolling and cutting accessories. Take particular care, apart from hygienic reasons, to ensure that hair is tied back (it is advisable to wear a protective cap) and that other items such as necklaces and bracelets do not dangle near the moving parts.
Place the machine on a flat, stable surface, which can bear the weight of the machine. Before starting to use the machine ensure that you know how to stop it in an emergency.
Do not use the machine if:
- it is not operating correctly
- it has been damaged or dropped
- the electrical cable or the plug are damaged.
Do not immerse the electrical cable or the plug in water. Keep them away from hot surfaces. Do not leave the electrical cable dangling from the edge of work surfaces or tables. Do not use this machine near sinks or on wet surfaces.
DESCRIPTION OF THE MACHINE 
The component parts of the machine are:
- Electric pasta machine
- Pasta hopper with wooden roller
- Transmission arm
- Handle
Accessories: - Dough mixer
- Simplex roll and cut equipment”
SAFETY DEVICES
The machine is fitted with a safety device, which makes it possible to start the machine:
- when the pasta hopper roller is in use, on lowering the roller bar;
- when the dough mixer is in use, on closing the cover of the mixer.
IN AN EMERGENCY.
To stop the machine turn the master switch to position “0”. When the pasta hopper is in use (fig 1, component 2), the machine can be stopped immediately by lifting the pasta rollers. Then turn the master switch to position “0”.
ATTENTION!
NEVER TAMPER WITH THE SAFETY DEVICES DO NOT NEUTRALISE OR ALTER THE PROTECTIVE SYSTEMS.
If it is possible to operate the machine in conditions in which it should not be possible to operate it (mixer cover open or pasta rollers lifted), turn it off immediately by turning the master switch to position “0”, remove the plug from the socket and contact your Authorised Retailer (see the warranty card enclosed).
USE OF THE PASTA MACHINE 
BEFORE USE: follow the instructions described in the paragraph “Cleaning and main-tenance”
- Place the machine on a suitable surface.
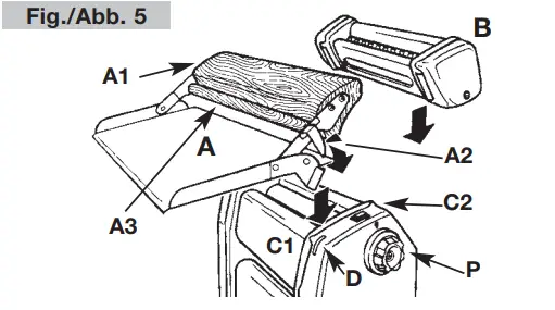
- Attach the pasta hopper (A) to the supports (C1) with the safety bar (the wooden roller A1) upwards.
- Plug in the machine and turn the master switch to position “I”.
- The dough must be kept at room temperature.
- Turn the regulator knob (P) to position “10”, insert the previously prepared dough between the wooden roller (A1) and the drawing rollers of the machine; press the dough by lowering the wooden roller which, as well as pressing lever (A2) acts on the safety microswitch under slot (D), starting the machine and rolling out the pasta sheet.
ATTENTION! To feed the dough between the drawing rollers use only the wooden roller (A1). Do not use knives or other utensils which might damage the rollers.
IT IS EXPRESSLY FORBIDDEN:- to tamper in any way with the safety devices, by interposing any object (such as knives, toothpicks or other utensils) which hold the microswitch (D) down and permitting the machine to work without the use of the wooden roller (A1);
- to exert pressure on the pasta (to push it between the rotating drawing rollers) using any utensil other than the special wooden roller (A1) or with the hands.
- To roll out the pasta and obtain a pasta sheet turn the regulator (P) anti-clockwise to reduce the distance between the drawing rollers; leave the wooden roller (A1) in the lowered position and insert the sheet obtained between the safety roller (A3) and the wooden roller (A1). Repeat this operation until the sheet is of the required thickness.
TO DISMANTLE THE MACHINE (on finishing work): turn the master switch to position “0”, remove the plug from the socket, release the pasta hopper (A) from the supports (C1).
AFTER USE: follow the instructions described in the paragraph “Cleaning and maintenance”.
GENERAL WARNING. Remember that the safety device prevents the machine from operating when the roller (A1) is not lowered.
USING THE DOUGH MIXER 

BEFORE USE: follow the instructions in the paragraph “Cleaning and maintenance”;
- Place the machine on a suitable surface.
- Fit the dough mixer (H) on the supports (C1), checking that the roller guard (I) completely covers the roller.
- Close the transparent lid of the dough mixer.
- Plug in the machine and turn the master switch to position “I”. The machine will start moving so that the transmission arm (F) can be inserted.
- Fit the transmission arm (F) pushing the pins into the holes on the side of the machine and the dough mixer. The short pin (F1) fits into the hole (G1) on the side of the machine and the long pin (F2) fits into the hole (H2) on the side of the dough mixer.
- Turn off the motor by positioning the master switch on “0”.
- Place the ingredients for the pasta dough in the mixer, taking care not to exceed the maximum quantities, equal to 750g flour and 250g liquids. An excessive quantity of ingredients may break the lid of the mixer.
- Close the cover and lock it by turning the catch on the lower half of the mixer 180° (T) [see fig. 4]. Turn the master switch to position “I”. The mixer will now start to knead the pasta dough.
- When kneading is completed turn the catch (T) and lift the cover of the mixer. Remove the pasta dough.
TO DISMANTLE THE MACHINE (on finishing work): turn the master switch to position “0”, remove the plug from the socket, relea-se the pasta hopper (A) from the supports (C1).
AFTER USE: follow the instructions described in the paragraph “Cleaning and main-tenance” .
GENERAL WARNING. Remember that the safety device prevents the machine from operating when the roller (A1) is not lowered.
USING THE SIMPLEX CUTTING AND ROLL ACCESSORY 

BEFORE USE: follow the instructions in the paragraph “Cleaning and maintenance”;
- Place the machine on a suitable surface.
- Fit the roll and cut accessory (B) on to the supports (C2).
- Fit the pasta hopper (A) on to the supports (C1) with the wooden roller (A1) positioned downwards.
- Plug in the machine and turn the master switch to position “I”. The machine will start moving so that the transmission arm (F) can be inserted.
- Fit the transmission arm (F) pushing the pins into the holes on the side of the machine and the dough mixer. The short pin (F1) fits into the hole (G1) on the side of the machine and the long pin (F2) fits into the hole (H2) on the side of the dough mixer.
- Push the ready prepared sheet of pasta through the cutting rollers as shown on page 6, point 5.
TO DISMANTLE THE MACHINE (on finishing work): turn the master switch to position “0”, remove the plug from the socket. Remove the transmission arm (F) and release the roll and cut accessory from the supports (C1). Remove the pasta hopper.
AFTER USE: follow the instructions described in the paragraph “Cleaning and maintenance”.
GENERAL WARNING. Remember that the safety device prevents the machine from operating when the roller (A1) is not lowered.
USE OF THE MANUAL SIMPLEX CUTTING AND ROLL ACCESSORY 
BEFORE USE: follow the instructions in the paragraph “Cleaning and maintenance”;
- Place the machine on a suitable surface.
- Fit the roll and cut accessory (B) on to the supports (C2).
- Fit the handle (M) into the appropriate hole and proceed with the manual working of the pre-prepared sheet of pasta.
TO DISMANTLE THE MACHINE (after use) remove the handle (M) and release the roll and cut accessory (B) from the supports (C2).
AFTER USE: follow the instructions described in the paragraph “Cleaning and maintenance”.
USING THE DOUGH MIXER AND THE SIMPLEX ROLL AND CUT ACCESSORIES TOGETHER 
The Imperia Restaurant (R.M.N.) electric pasta machine can operate the two accessories together to prepare and at the same time manually cut the sheet of pasta. The following instructions explain how to go about this operation.
BEFORE USING: follow the instructions described in the paragraph “Cleaning and Maintenance”.
- Follow the instructions for “Using the Dough Mixer”
- Fit the roll and cut accessory into the supports (C2)
- Fit the handle (M) into the hole (G2).Cut the pasta sheet manually.
TO DISMANTLE THE MACHINE (on finishing work): turn the master switch to position “0”, remove the plug from the socket. Remove the transmission arm (F) and the handle (M) Release the dough mixer accessory from the supports (C1). Release the roll and cut accessory from the supports (C2).
AFTER USE: follow the instructions described in the paragraph “Cleaning and maintenance”.
GENERAL WARNING.
Remember that the safety device prevents the machine from operating when the cover of the dough mixer is not com-pletely closed.
CLEANING AND MAINTENANCE BEFORE USE
- Cleaning is the only maintenance operation usually required.
- TURN THE MASTER SWITCH TO POSITION “0” AND REMOVE THE PLUG FROM THE SOCKET.
- Clean the machine carefully with a dry cloth or with a soft brush.
- AFTER FITTING AND TURNING ON THE MOTOR. It is possible to complete the cleaning operations by passing a piece of dough through the rollers (to remove any dust). The same operation can be carried out for the cleaning of the
- Simplex Roll and Cut Accessory. The dough used for this operation must obviously be thrown away.
- NEVER wash the machine body with running water or detersive.
- Do not put any part of the machine in the dishwasher.
CLEANING AND MAINTENANCE AFTER USE
TURN THE MASTER SWITCH TO POSITION “0”
MACHINE BODY. Clean the accessory using a dry cloth or a soft brush.
DOUGH MIXER. The dough mixer requires accurate cleaning to be carried out each component with water or a damp cloth, to remove every residue of pasta dough. For the dismantling of the component elements of the mixer turn the knobs (N1 and N2) on the mixer in opposite directions and remove the mixer blade (Q). Particular attention should be paid to the cleaning of the pin housings.
OTHER PARTS OF THE MACHINE The other parts of the machine (pasta hopper, roll and cut accessory, handle and the transmission) arm can be cleaned with a damp cloth.
Never remove pasta residues using sharp utensils.
NEVER wash the body of the machine with running water or detersives.
Do not wash any part of the machine in the dishwasher. Ensure that the parts are perfectly dry before putting them away after use.
TROUBLESHOOTING
If the above solutions do not resolve the problem contact the nearest Authorised Retailer (see the back of the warranty card).
WARNINGS. If the motor stops and will not start again it is possible to remove the dough from the dough mixer or the cutter by removing the transmission arm (F) fitting the handle (M) and operating manually. To remove dough insi-de the machine it is sufficient to raise the rollers.



























