VOGUE J578 Pasta Machine Instruction Manual
Instruction





Safety Instructions
- DO NOT insert knives or cloths between the rollers
- DO NOT immerse the appliance in water. This appliance is not dishwasher safe.
- Keep fingers away from the rollers when in use.
Introduction
Please take a few moments to carefully read through these instructions. Correct maintenance and operation of this
appliance will give the best possible performance from your VOGUE product.
Installation
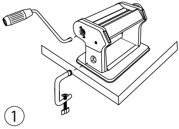
- Position the appliance on the edge of the worktop.
- Insert the clamp into the side of the appliance, with the clamp bottom under the worktop edge (unscrew further if necessary) [Fig. 1].
- Tighten the clamp until the appliance is securely fixed to the worktop.
- Insert the handle into the hole for the required roller [Fig. 1].
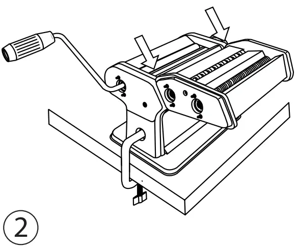
- Slot the spaghetti/tagliatelli cutting rollers (included) onto the appliance [Fig. 2] or any other cutting roller required (available seperately).
Note: Before the appliance is used for the first time, it must be cleaned with a dry cloth to remove any dust. To clean the rollers, pass a piece of dough through several times. Discard this dough after cleaning. Ensure the entire length of the roller has been cleaned.
Operation
- Prepare the pasta dough.
- Set the appliance regulator (the numbered wheel on the side) to position ‘1’ (pull outwards and turn). This is the widest setting [Fig. 3].
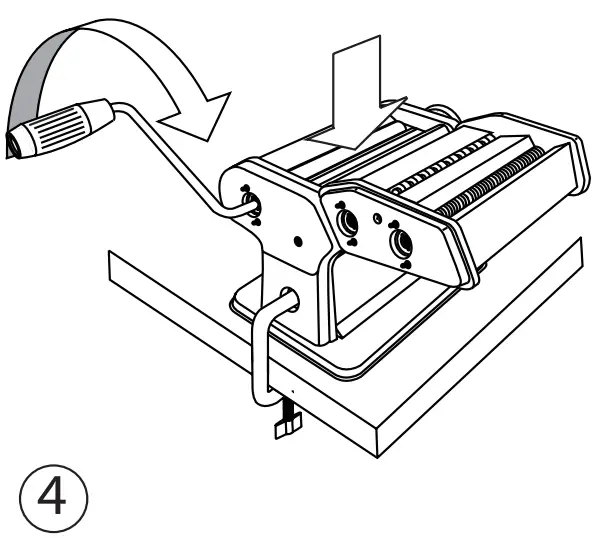
- Pass a piece of dough through the appliance, turning the handle clockwise [Fig. 4].
- Repeat 5-6 times, adding some flour to the middle of the rollers to prevent sticking as necessary.
- Once the dough is of uniform thickness, set the regulator to position ‘2’ and pass it through the rollers again.
- Repeat the rolling process, continuing to reduce the regulator setting until you obtain the desired thickness (min. thickness at position ‘9’ is approximately 2mm).
- With a knife, cut the dough into sheets approximately every 25cm (10 inches).
- Insert the handle in the hole for the desired cutting roller.
- Turn clockwise slowly and pass the sheets through one by one [Fig. 5].
Note: If the rollers won’t ‘cut’ then the dough is too soft. Pass the dough through the smooth
rollers after adding some flour to the mixture.
If the dough is too dry and isn’t feeding through the rollers, then add a little water to the mixture and pass it through the smooth rollers once again.
Cleaning, Care & Maintenance
- During use, clean the scrapers underneath the smooth rollers periodically with kitchen paper.
- Clean the surface of the appliance with a soft and dry cloth.
- Clean the rollers with a dry brush or a wooden/plastic rod to remove any dough. DO NOT use metal utensils to remove dough as this could damage the rollers.
- If the rollers begin to squeak, lubricate them with a small amount of vegetable oil. Brush or pour oil onto the rollers at the same time as turning the handle to ensure uniform lubrication.
- VOGUE advise the appliance and accessories are stored in its box after use.
All rights reserved. No part of these instructions may be produced or transmitted in any form or by any means, electronic, mechanical, photocopying, recording or otherwise, without the prior written permission of VOGUE. Every effort is made to ensure all details are correct at the time of going to press, however, VOGUE reserve the right to change specifications without notice.
Contact

| UK | 0845 146 2887 | Fourth Way, Avonmouth, Bristol, BS11 8TB United Kingdom |
| Eire | Unit 9003, Blarney Business Park, Blarney Co. Cork, Ireland | |
| NL | 040 – 2628080 | |
| FR | 01 60 34 28 80 | |
| BE-Nl | 0800-29129 | |
| BE-FR | 0800-29129 | |
| DE | 0800-29229 | |
| ES | 0800 – 1860806 | |
| AU | 1300 225 960 | 15 Badgally Road, Campbelltown, NSW 2560, Australia |



















