KERNAU KBO 0972 SVPT B Microwave Oven User Manual
Dear Customer,
Our goal is to offer you, high quality products that exceed your expectations. Your appliance is produced in modern facilities and is carefully, particularly tested for quality. This manual is prepared in order to help you use your appliance, which has been manufactured using the most recent technology with confidence and maximum efficiency. Before using your appliance, carefully read this guide which includes basic information to safe installation, maintenance and use. Please contact your nearest Authorized Service centre for the installation of your product.
PRESENTATION AND SIZE OF PRODUCT

SAFETY WARNINGS
READ THESE INSTRUCTIONS CAREFULLY AND COMPLETELY BEFORE USING YOUR APPLIANCE, AND KEEPIT IN A CONVENIENT PLACE FOR REFERENCE WHEN NECESSARY.
THIS MANUAL IS PREPARED FOR MORE THAN ONE MODEL IN COMMON. YOUR APPLIANCE MAY NOT HAVE SOME OF THE FEATURES THAT ARE EXPLAINED IN THIS MANUAL. PAY ATTENTION TO THE EXPRESSIONS THAT HAVE FIGURES, WHILE YOU ARE READING THE OPERATING MANUAL.
General Safety Warnings
- This appliance can be used by children aged from 8 years and above and persons with reduced physical, sensory or mental capabilities or lack of experience and knowledge if they have been given supervision or instruction concerning use of the appliance in a safe way and understand the hazards involved. Children shall not play with the appliance. Cleaning and user maintenance shall not be made by children without supervision.
- WARNING: The appliance and its accessible parts become hot during use. Care should be taken to avoid touching heating elements. Children less than 8 years of age shall be kept away unless continuously supervised.
- WARNING: Danger of ire: do not store items on the cooking surfaces.
- WARNING: If the surface is cracked, switch off the appliance to avoid the possibility of electric shock.
- The appliance is not intended to be operated by means of an external timer or separate remote-control system.
- During use, the appliance becomes hot. Care should be taken to avoid touching heating elements inside the oven.
- During use, handles held for short periods in normal use can get hot.
- Do not use harsh abrasive cleaners or sharp metal scrapers to clean the oven door glass and other surface since they can scratch the surface, which may result in shattering of the glass or damage to the surface.
- Do not use steam cleaners for cleaning the appliance.
- WARNING: Ensure that the appliance is switched off before replacing the lamp to avoid the possibility of electric shock.
- CAUTION: Accessible parts may be hot when the cooking or grilling is in use. Young children should be kept away.
- Your appliance is produced in accordance with all applicable local and international standards and regulations.
- Maintenance and repair work must be made only by authorized service technicians. Installation and repair work that is carried out by unauthorized technicians may endanger you. It is dangerous to alter or modify the speciications of the appliance in any way.
- Prior to installation, ensure that the local distribution conditions (nature of the gas and gas pressure or electricity voltage and frequency) and the requirements of the appliance are compatible. The requirements for this appliance are stated on the label.
- CAUTION: This appliance is designed only for cooking food and is intended for indoor domestic household use only and should not be used for any other purpose or in any other application, such as for non-domestic use or in a commercial environment or room heating.
- Do not try to lift or move the appliance by pulling the door handle.
- All possible security measures have been taken to ensure your safety. Since the glass may break, you should be careful while cleaning to avoid scratching. Avoid hitting or knocking on the glass with accessories.
- Ensure that the supply cord is not wedged during the installation. If the supply cord is damaged, it must be replaced by the manufacturer, its service agent or similarly qualiied persons in order to prevent a hazard.
- While the oven door is open, do not let children climb on the door or sit on it.
Installation Warnings
- Do not operate the appliance before it is fully installed.
- The appliance must be installed by an authorized technician and put into use. The producer is not responsible for any damage that might be caused by defective placement and installation by unauthorized people.
- When you unpack the appliance, make sure that it is not damaged during transportation. In case of any defect; do not use the appliance and contact a qualified service agent immediately. As the materials used for packaging (nylon, staplers, styrofoam…etc) may cause harmful effects to children, they should be collected and removed immediately.
- Protect your appliance against atmospheric effects. Do not expose it to effects such as sun, rain, snow etc.
- The surrounding materials of the appliance (cabinet) must be able to withstand a temperature of min 100°C.
During usage
- When you first run your oven a certain smell will emanate from the insulation materials and the heater elements. For this reason, before using your oven, run it empty at maximum temperature for 45 minutes. At the same time you need to properly ventilate the environment in which the product is installed.
- During usage, the outer and inner surfaces of the oven get hot. While opening the oven door, step back to avoid the hot steam coming out of the oven. There may be a risk of burns.
- Do not put lammable or combustible materials, in or near the appliance when it is operating.
- Always use oven gloves to remove and replace food in the oven.
- Do not leave the cooker while cooking with solid or liquid oils. They may catch ire on condition of extreme heating. Never pour water on to lames that are caused by oil. Cover the saucepan or fry pan with its cover in order to choke the lame that has occurred in this case and turn the cooker off.
- If you will not use the appliance for a long time, plug it off. Keep the main control switch off. Also when you do not use the appliance, keep the gas valve off.
- Make sure the appliance control knobs are always in the “0” (stop)position when it is not used.
- The trays incline when pulled out. Be careful not to let hot liquid spill over.
- When the door or drawer of the oven is open, do not leave anything on it. You may unbalance your appliance or break the cover.
- Do not put heavy things or lammable or ignitable goods (nylon, plastic bag, paper, cloth…etc) into the drawer. This includes cookware with plastic accessories (e.g. handles).
- Do not hang towels, dishcloths or clothes from the appliance or its handles.
- During cleaning and maintenance
- Always turn the appliance off before operations such as cleaning or maintenance. You can do it after plugging the appliance off or turning the main switches off.
- Do not remove the control knobs to clean the control panel.
- TO MAINTAIN THE EFFICIENCY AND SAFETY OF YOUR APPLIANCE, WE RECOMMEND YOU ALWAYS USE ORIGINAL SPARE PARTS AND TO CALL ONLY OUR AUTHORIZED SERVICE AGENTS IN CASE OF NEED.
PREPARATION FOR INSTALLATION AND USE
Manufactured with best quality parts and materials, this modern, functional and practical oven will meet your needs in all respects. Make sure to read the manual to obtain successful results and not to experience any problems in the future. The information given below contain rules that are necessary for correct positioning and service operations. They should be read without fail especially by the technician who will position the appliance.
CONTACT THE AUTHORIZED SERVICE FOR INSTALLATION OF YOUR OVEN!
CHOOSING A PLACE FOR THE OVEN
- There are several points to pay attention to when choosing a place for your oven. Make sure to take into account our recommendations below in order to prevent any problems and dangerous situations, which might occur later!
- When choosing a place for the oven, attention should be paid that there are no lammable or combustible materials in the close vicinity, such as curtains, oil, cloth etc. which quickly catch ire.
- Furnitures surrounding the oven must be made of materials resistant to heat more than 50 C° of the room temperature. Required changes to wall cabinets and exhaust fans above the built-in combined product as well as minimum heights from the oven board are shown in Figure 1. Accordingly, the exhaust fan should be at a minimum height of 65 cm from the hob board. If there is no exhaust fan the height should not be less than 70 cm.

INSTALLATION OF BUILT-IN OVEN


Insert the oven into the cabinet by pushing it forward. Open the oven door and insert 2 screws in the holes located on the oven frame. While the product frame touches the wooden surface of cabinet, tighten the screws.
If the oven is installed under a hob, the distance between the worktop and the top panel of the oven must be minimum 50 mm and the distance between the worktop and the top of control panel must be minimum 25 mm.
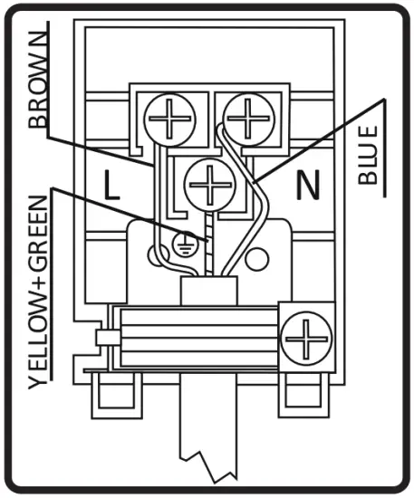
WIRING AND SAFETY OF BUILT_IN OVEN
The instructions given below must be followed without fail during wiring :
- The earthing cable must be connected via the screw with the earthing mark. Supply cable connection must be as shown in Figure 6. If there is no earthed outlet conforming to regulations in the installation environment, call the Authorized Service immediately.
- The earthed outlet must be in close vicinity of the appliance. Never use an extension cord.
- The supply cable should not contact the product’s hot surface.
- In case of any damage to the supply cable, make sure to call the Authorized Service. The cable must be replaced by the Authorized Service.
- Wiring of the appliance must be performed by the Authorized Service. H05VV-F type supply cable must be used.
- Faulty wiring may damage the appliance. Such a damage will not be covered under the warranty.
- The appliance is designed to connect to 220-240V~ electricty is different than the value given above, call the Authorized Service immediately.
- The Manucaturer Firm declares that its bears no responsibility whatsover for any kind of damage and loss arising from not complying with safety norms!
- Wiring of the appliance must be performed by the Authorized Service. The appliance is designed to connect to 220-240V~ electricity. If the mains electricity is different than the value given, call the Authorized Service immediately. The appliance is designed for using with plug oforixed connection to the mains. It is necessary that you install a double pole switch between the product and the electricity supply (mains), with a minimum gap of 3 mm between the switch contacts. (20A rated, delay function type).

GENERAL WARNING AND PRECAUTIONS
Your appliance is produced in conformity with the relevant safety instructions relating to electrical appliances. Maintenance and repair works must be performed only by Authorized Service technicians trained by the manufacturer irm. Installation and repair works, performed without observing the rules may be dangerous.
The outer surfaces is heated while your appliance is operating. The elements heating the inner surface of the oven and the steam out are extremely hot. These sections will continue to preserve their heat for certain while even if the appliance is switched off. Never touch the hot surfaces. Keep children away.
In order to cook in your oven, the oven function and temperature setting butttons need to be adjusted and the oven timer, needs to be programmed. Otherwise, the oven will not operate.
While the oven door is open, do not place anything on it. You may disturb the balance of the appliance or break the door.
Unplug your appliance when it is not in use.
Protect your appliance from atmospheric effects. Do not leave it under the effects of the sun,rain, snow, dust etc.
Using the oven function control button
Oven Functions
* The functions of your oven may be different due to the model of your product.
Oven Lamp: Only the oven light will be turned on and it remains on in all the cooking function.
Defrost Function: The oven’s warning lights will be turned on, the fan starts operating. To use the defrost function, take your frozen food and place it in the oven on a shelf placed in the third slot from the bottom. It is recommended that you can place an oven tray under the defrosting food, to catch the water accumulated due to melting ice. This function will not cook or bake your food, it will only help to defrost it.
Turbo Function: The oven’s thermostat and warning lights will be turned on, the ring heating element and fan will start operating.
The turbo function evenly disperse the heat in the oven. All foods on all racks will be cooked evenly. It is recommended to pre-heat the oven about 10 minutes.
Static Cooking Function: The oven’s thermostat and warning lights will be turned on, the lower and upper heating elements will start operating. The static cooking function emits heat, ensuring even cooking of the lower and upper food. This is ideal for making pastries, cakes, baked pasta, lasagne and pizza. Prehating the oven for 10 minutes is recommended and it is best to cook on only one shelf at a time in this function.
Fan Function: The oven’s thermostat and warning lights will be turned on, the upper and lower heating elements and fan will start operating. This function is very good for obtaining results in baking pastry. Cooking is carried out by the lower and upper heating element within the oven and by the fan providing air circulation, which will give a slight grill effect to the food. It is recommended to pre-heat the oven about 10 minutes.
Grilling Function: The oven’s thermostat and warning lights will be turned on, the grill heating element will start operating. The function is used for grilling and toasting foods, use the upper shelves of oven. Lightly brush the wire grid with oil to stop foods sticking and place foods in the center of the grid. Always place a tray beneath to catch any drips of oil or fat. It is recommended to pre-heat the oven about 10 minutes.
Warning: When grilling, the oven door must be closed and the oven temperature should be adjusted to 1900C.
Faster Grilling Function: The oven’s thermostat and warning lights will be turned on, the grill and upper heating elements will start operating. The function is used for faster grilling and for covering a larger surface area, such as grilling meats, use the upper shelves of oven. Lightly brush the wire grid with oil to stop foods sticking and place foods in the center of the grid. Always place a tray beneath to catch any drips of oil or fat. It is recommended to pre-heat the oven about 10 minutes. Warning: When grilling, the oven door must be closed and the oven temperature should be adjusted to 1900C
Double Grill and Fan Function: The oven’s thermostat and warning lights will be turned on, the grill and upper heating elements and fan will start operating. The function is used for faster grilling of thicker foods and for covering a larger surface area. Both the upper heating elements and grill will be energised along with the fan to ensure even cooking. Use the upper shelves of oven. Lightly brush the wire grid with oil to stop foods sticking and place foods in the center of the grid. Always place a tray beneath to catch any drips of oil or fat. It is recommended to pre-heat the oven about 10 minutes.
Warning: When grilling, the oven door must be closed and the oven temperature should be adjusted to 190C°.
Pizza Function: The oven’s thermostat and warning lights will be turned on, the ring and lower heating elements and fan will start operating. Fan and lower heating function is ideal for baking food, such as pizza, equally in a short time. While the fan evenly disperses the heat of the oven, the lower heating element ensures the baking of food dough.
ENERGY SAVING
Minimize the amount of liquid or fat to reduce cooking times. Oven door should not be opened often during cooking period.
HOW TO USE THE VISIO TOUCH CONTROL UNIT

Adjusting the Day Time
When the built in oven installed irstly the time of day must be adjusted according to below instructions. When oven installed irstly,“0.00” will start to lash on the display. Touch “M“ sensor or “ – “ and “ + “ sensors to adjust the day time mode. “ : ” symbol will start to lash on the display. You can adjust it with “ – “ and “ + “ sensor.If Auto cooking mode is off, touch “ – “ and “ + “ sensors at the same time to the day time mode. You can adjust it with “ – “ and “ + “ sensor.
You have to adjust the day time to use oven function.
ADJUSTING THE COOKER TIME
Adjusting the Minute Minder: Touch alarm sensor which shows “ ” symbol. “ ” will be lashing on the display. “0.00” will appear on the clock digits. Adjust the desired time period for the warning by using Timer Plus and Minus sensor while the symbol is lashing. Some time after the completion of the adjustment, symbol will begin to light continuously. When the symbol begins to light continuously, the audible warning time adjustment is done.
When the set time is up, the timer gives an audible warning and symbol begins to lash on the screen. Pressing “ – “or “+“ will stop the audible warning and the symbol disappears on the screen.
Adjusting the Cooking Duration Time
This function is used to cook in the desired time range. The foods to be cooked are put into the oven. The oven is adjusted to the desired cooking function. The oven temperature is adjusted to the desired degree depending on the dish to be cooked. Touch on the “M” sensor until you see Duration time symbol “ |>| ” on the timer display screen. “AUTO” appear on the display. Adjusted the cooking period for the food you wish to cook, by using the Timer Plus and minus sensor while the timer is in this position. Some time after the adjustment operation is completed, the day’s time will appear on the screen and the Duration time symbol will begin to continuously light on the screen.
At the completion of the set duration, the timer will stop the oven and give an audible warning. Also, “AUTO” will begin to lash on the screen. Touching any sensor of the control unit will end the audible warning. “AUTO” will go on to lash. Touch “ – “ and “ + “ symbols at the same time to inish “AUTO” mode.
Adjusting the Cooking End Time
This function is used to cook after a certain period of time, within certain duration. The food to be cooked is put into the oven. The oven is adjusted to the desired cooking function. The oven temperature is adjusted to the desired degree depending on the dish to be cooked.
Touch on the “M” sensor until you see Duration time symbol “ |>| ” on the timer display screen. “AUTO” appear on the display. Adjusted the cooking period for the food you wish to cook, by using the Timer Plus and minus sensor while the timer is in this position.Then touch the “M” sensor until you see “ >| ” symbol. the day time will begin to lash, with the addition of the cooking period. Adjust the inishing time for the food by using the Timer Plus and minus sensor while the timer is in this position. Some time after the adjustment operation is completed, the day time will appear on the screen and the “ >| ” symbol will begin to continuously light on the screen. The oven will start operating at the time calculated by deducting the cooking period from the set finishing time, and will stop at the set inishing time. The timer will give an audible warning and “AUTO” will begin to lash on the screen will begin to lash. Touching any button of the timer will end the audible warning. “AUTO” will go on to lash. Touch “ – “ and “ + “ symbols at the same time to inish “AUTO” mode.
Digital Timer Sound Adjustment
Touch “-“ sensor until you hear sound. timer will give an audible signal beep. After that each time “-“ sensor is touched, timer will give three different types of signal beep. Do not touch any further sensor and timer will save the last selected signal type.
Key Lock Function
The key lock function is used to prevent operating any functions of the control unit by mistake. Touch “+” sensor until you see key lock symbol on the display to activate key lock. Touch the “+” sensor to deactivate key lock.
| DISHES | TURBO | LOWER-UPPER | LOWER-UPPER FAN | GRILL | ||||||||
| Thermostat pos. (°C) | Rack pos. | Cooking period (min) | Thermostat pos. (°C) | Rack pos. | Cooking period (min) | Thermostat pos. (°C) | Rack pos. | Cooking period (min) | Thermostat pos. (min) | Rack pos. | Cooking period (min) | |
| Layered pastry | 170-190 | 1-2-3 | 35-45 | 170-190 | 1-2 | 35-45 | 170-190 | 1-2 | 25-35 | |||
| Cake | 150-170 | 1-2-3 | 30-40 | 170 -190 | 1-2 | 30-40 | 150-170 | 1-2-3 | 25-35 | |||
| Cookie | 150-170 | 1-2-3 | 25-35 | 170-190 | 1-2 | 30-40 | 150-170 | 1-2-3 | 25-35 | |||
| Grilled meatballs | 200 | 4 | 10-15 | |||||||||
| Watery food | 175-200 | 2 | 40-50 | 175-200 | 2 | 40-50 | 175-200 | 2 | 40-50 | |||
| Chicken | 200 | 1-2 | 45-60 | 200 | 1-2 | 45-60 | 200 | * | 50-60 | |||
| Chop | 200 | 3-4 | 15-25 | |||||||||
| Beefstake | 200 | 4 | 15-25 | |||||||||
| Two-tray cake | 160-180 | 1-4 | 30-40 | |||||||||
| Two-tray pastry | 170-190 | 1-4 | 35-45 | |||||||||
| * Cook with roast chicken skewer… | ||||||||||||
Accessories
The product is supplied with accessories. You can also use accessories you purchase from other sources, but they must be heat and lame resistant. You can also use glass dishes, cake molds and oven trays that are appropriate for use in oven. Follow manufacturer’s instructions when using other accessories. In case small size dishes are used, place the dish onto the wire grid, as it will completely be on the middle part of the grid. If the food to be cooked does not cover the oven tray completely, if the food is taken from the deep freezer or the tray is being used for the collection of food’s juices that low during grilling, the form changes can be observed in the tray. This is due to the high temperatures that occur during cooking. The tray will return to its old form when the tray cools down after cooking. This is a normal physical event that occurs during heat transfer. Do not place hot glass trays and dishes into a cold environment straight from the oven to avoid breaking the tray or dish. Do not put onto cold and wet surfaces. Place on a dry kitchen cloth and allow to cool slowly. When using the grill in your oven; we recommend (where appropriate) you use the grid that was supplied with the product. When using the wire grid; put a tray onto one of the lower shelves to enable oil to be collected. Water may be added to the tray to assist cleaning. As explained in the corresponding clauses, never attempt to use the gas operated grill burner without the grill protection lid. If your oven has a gas operated grill burner, but the grill heat shield is missing, or if it is damaged and cannot be used, request a spare part from the nearest service centre.
Oven Accessories
The accessories for your oven may be different due to the model of your product.
Wire grid
Wire grid is used to grill or to place different cookwares on.
WARNING- Fit the grid correctly into any corresponding rack in the oven cavity and push it to the back.
Shallow Tray
Shallow tray is used to bake pastry such as etc.To locate the tray correctly in the cavity, put it to any rack and push it to the back.
Deep Tray
Deep tray is used to cook stews.To locate the tray correctly in the cavity, put it to any rack and push it to the back.
Removal of wire shelf
Pull the wire shelf as shown in the picture. After releasing it from clips, lift it up.
The EasyFix Wire Rack
Clean the accessories thoroughly with warm water, detergent and a soft clean cloth on first use.
- Insert the accessory to the correct position inside the oven.
- Allow at least a 1 cm space between the fan cover and accessories.
- Take care removing cookware and/or accessories out of the oven. Hot meals or accessories can cause burns.
- The accessories may deform with heat. Once they have cooled down, they will recover their original appearance and performance.
- Trays and wire grids can be positioned on any level from of 1 to 7.
- Telescopic rail can be positioned on levels T1, T2.
- Level 3 is recommended for single level cooking.
- Level T2 is recommended for single level cooking with the telescopic rails.
- Level 2 and Level 4 are recommended for double level cooking.
- The turnspit wire grid must be positioned on Level 3.
- Level T2 is used for turnspit wire grid positioning with the telescopic rails.
****Accessories may vary depending on the model purchased.
CLEANING AND MAINTENANCE OF YOUR OVEN
CLEANING
Before starting to clean your oven, be sure that all control buttons are off and your appliance is cooled off. Unplug the appliance.
Do not use cleaning materials containing particles that might scratch the enamelled and painted parts of your oven. Use cream cleaners or liquid cleaners, which do not contain particles. As they might ahrm the surfaces, do not use caustic creams, abrasive cleaning powders, rough wire wool or hard tools. In the event the excess liquids spilling over your oven should burn, it may cause a damage to the enamel. Immediately clean up the split liquids. Do not use steam cleaners for cleaning the oven.
Cleaning the interior of the oven
Make sure to unplug the oven before starting to clean it. You will obtain best results if you clean the oven interior while the oven is slightly warm. Wipe your oven with a soft piece of cloth dampened with soap water after each use. Then wipe it again, this time with a wetted cloth, and wipe it dry. A complete cleaning using dry and powder type cleaners. For product with catalytic enamel frames, the rear and side walls of the inner frame do not require cleaning. However; depending on usage, it is recommended that you replace them after a certain period of time.
MAINTENANCE
Replacing the Oven Light
The change of oven lamp must be done by authorized technician. The rating of the bulb should be 230V, 25Watt, Type E14,T300 before changing the lamp,the oven should be plugged off and it should be cool.
The lamp design is speciic for the use in household cooking appliances and it is not suitable for household room illumination.
SERVICE AND TRANSPORT
REQUIREMENTS BEFORE CONTAINING TO SERVICE
If the oven does not operate : The oven may be plugged off, there has been a black out. On models itted with a timer, time may not be regulated. If the oven does not heat :
The heat may be not adjusted with oven’s heater control switch.
If the interior lighting lamp does not light:
The electricitiy must be controlled. It must be controlled whether the lamps are defective. If they are defective, you can change them as following the guide. Cooking (if lower-upper part does not cook equally) :
Control the shelf locations, cooking period and heat values according to the manual.
Except these, if you still have any problem with your product, please call to the “Authorized Service”.
INFORMATION RELATED TO TRANSPORT
If you need any transport : Keep the original case of product and carry it with its original case when need to be carried. Follow the transport signs on case. Tape the cooker on upper parts, hats and heads and saucepan carriers to the cooking panels. Place a paper between the upper cover and cooking panel, cover the upper cover, than tape to the side surfaces of oven.
Tape carboard or paper onto the front cover on interior glass of oven as it will be suitable to the trays, for the wire grill and trays in your oven not damage to the oven’s cover during transport. Also tape the oven’s covers to the side walls.
If does not have the original case :
Take measure for external surfaces (glass and paintes surfaces) of oven against possible blows.
DISPOSAL OF USED EQUIPMENT
This device has been designed and manufactured of high-quality reusable materials and components.
The symbol of the crossed waste container placed on the product (Fig. A) means that the product is subject to selective collection in accordance with the provisions of Directive 2012/19/EU of the European Parliament and of the Council. A crossed-out wheelie bin symbol (Fig. B) placed on the product means that the product contains batteries that are subject to separate collection in accordance with the provisions of Directive 2006/66/EC of the European Parliament and of the Council. Such marking informs that electrical and electronic equipment and batteries (if any) must not be disposed of with other household waste after the period of use.
The user is obliged to return waste equipment and batteries (if any) to collection points for waste electrical and electronic equipment and batteries (if any). Collectors of such waste, including waste equipment collectors, treatment plants, distributors (shops), municipal waste separate collection points (municipal units), and other entities specified by law form an appropriate system to return this kind of equipment.

Correct disposal of waste equipment and batteries (if any) allows avoiding consequences that may be harmful to health and the environment, caused by the possible presence of hazardous components in the equipment and batteries, and inappropriate storage and processing of such equipment and batteries. Households play an important role in contributing to the reuse and recovery, including recycling, of waste equipment. At this stage, attitudes are formed, affecting the common good, which is a clean natural environment.
Moreover, households are one of the largest users of small equipment and the rational management thereof at this stage affects the recovery of secondary raw materials.
Penalties may be imposed in accordance with national legislation for improper disposal of this product.
If the device has a lock, please remove it for the safety of all persons who may later come into contact with the device. Some refrigerators and freezers contain insulation material and CFC refrigerant. Therefore, be careful not to pollute the environment when you dispose of your old refrigerator.
| Brand | KERNAU
| |
| Model | KBO 0972 SVPT B KBO 0972 SVPT W KBO 0974 SVPT X | |
| Type of Oven | ELECTRIC | |
| Mass | kg | 36,0(+/-2) |
| Energy Efficiency Index – conventional | 106,0 | |
| Energy Efficiency Index – fan forced | 94,6 | |
| Energy Class | A | |
| Energy consumption (electricity) – conventional | kWh/cycle | 0,93 |
| Energy consumption (electricity) – fan forced | kWh/cycle | 0,83 |
| Number of cavities | 1 | |
| Heat Source | ELECTRIC | |
| Volume | I | 0,78 |
| This oven complies with EN 60350-1 |
Energy Saving Tips
Oven
- Cook the meals together, if possible.
- Keep the pre-heating time short.
- Do not elongate cooking time.
- Do not forget to turn-off the oven at the end of cooking.
- Do not open oven door during cooking period.



















