Galanz SEJ301F1B-PA0C0A Microwave Oven

IMPORTANT SAFETY INSTRUCTIONS
When using electrical appliances, basic safety precautions should be followed, including the following:
WARNING – To reduce the risk of burns, electric shock, fire, and injury to persons or exposure to excessive microwave energy:
- Read all instructions before using the appliance.
- Read and follow the specific “PRECAUTIONS TO AVOID POSSIBLE EXPOSURE TO EXCESSIVE MICROWAVE ENERGY” on page 1.
- This appliance must be grounded. Connect only to properly grounded outlet. See “GROUNDING INSTRUCTIONS” on page 4.
- Install or locate this appliance only in accordance with the provided installation instructions.
- Some products such as whole eggs and sealed containers -for example, closed glass jars- are able to explode and should not be heated in this oven.
- Use this appliance only for its intended use as described in this manual. Do not use corrosive chemicals or vapors in this appliance. This type of oven is specifically designed to heat, cook, or dry food. It is not designed for industrial or laboratory use.
- As with any appliance, close supervision is necessary when used by children.
- To reduce the risk of fire in the oven cavity:
- a. Do not overcook food. Carefully attend appliance when paper, plastic, or other combustible materials are placed inside the oven to facilitate cooking.
- b. Remove wire twist-ties from paper or plastic bags before placing bag in oven.
- c. If materials inside the oven should ignite, keep oven door closed, turn oven off, and disconnect the power cord or shut off power at the fuse or circuit breaker panel.
- d. Do not use the cavity for storage purposes. Do not leave paper products, cooking utensils or food in the cavity when not in use.
- Liquids, such as water, coffee, or tea can be overheated beyond the boiling point without appearing to be boiling due to surface tension of the liquid. Visible bubbling or boiling when the container is removed from the microwave oven is not always present. THIS COULD RESULT IN VERY HOT LIQUIDS SUDDENLY BOILING OVER WHEN A SPOON OR OTHER UTENSIL IS INSERTED INTO THE LIQUID. To reduce the risk of injury to person:
- Do not overheat the liquid.
- Stir the liquid both before and halfway through heating it.
- Do not use straight-sided containers with narrow necks.
- After heating, allow the container to stand in the microwave oven for a short time before removing the container.
- Use extreme care when inserting a spoon or other utensil into the container.
- Do not heat oil or fat for deep-frying. It is difficult to control the temperature of oil in microwave oven.
- Pierce foods with heavy skins such as potatoes, whole squash, apples and chestnuts before cooking.
- The contents of feeding bottles and baby jars should be stirred or shaken and the temperature should be checked before serving in order to avoid burns.
- Cooking utensils may become hot because of heat transferred from the heated food. Potholders may be needed to handle the utensil.
- Do not cover or block any openings on the appliance.
- Do not store or use this appliance outdoors. Do not use this product near water, for example, near a kitchen sink, in a wet basement, near a swimming pool, or similar locations.
- Do not operate this appliance if it has a damaged cord or a plug, if it is not working properly or if it has been damaged or dropped.
- Do not immerse cord or plug in water. Keep cord away from heated surface. Do not let cord hang over edge of table or counter.
- Use only thermometers, which are specifically designed for use in microwave ovens.
- Do not operate any heating or cooking appliance beneath this appliance.
- Be certain the glass tray and roller rings are in place when you operate the oven
- This appliance should be serviced only by qualified service personnel, contact nearest authorized service facility for examination, repair, or adjustment.
- When cleaning surfaces of door and oven that comes together on closing the door, use only mild, nonabrasive soaps, or detergents applied with a sponge or soft cloth.
- This equipment has been tested and found to comply with Part 18 of the FCC Rules. Operation is subject to the following two conditions: (1) This device may not cause harmful interference, and (2) this device must accept any interference received, including interference that may cause undesired operation.
- CAUTION: Changes or modifications not expressly approved by the party responsible for compliance could void the user’s authority to operate the product.
- This equipment generates, uses and can radiate radio frequency energy and, if not installed and used in accordance with the instructions, may cause harmful interference to radio communications. However, there is no guarantee that interference will not occur in a particular installation. If this equipment does cause harmful interference to radio or television reception, which can be determined by turning the equipment off and on, the user is encouraged to try to correct the interference by one or more of the following measures:
- Reorient or relocate the receiving antenna.
- Increase the separation between the equipment and receiver.
- Connect the equipment into an outlet on a circuit different from that to which the receiver is connected.
- Consult the dealer or an experienced radio/TV technician for help.
INSTALLATION GUIDE
- Make sure that all the packing materials are removed from the inside of the door.
- Check the oven for any damage, such as misaligned or bent door, damaged door seals and sealing surface, broken or loose door hinges and latches and dents inside the cavity or on the door. If there is any damage, do not operate the oven but contact qualified service personnel.
- This microwave oven must be placed on a flat, stable surface to hold its weight and the heaviest food likely to be cooked in the oven.
- Do not place the oven where heat,
- For correct operation, the oven must have sufficient airflow. Allow 20cm of space above the oven, 10cm at back and 5cm at both sides. Do not cover or block any openings on the appliance. Do not remove feet on which oven stands.
- Do not operate the oven without glass tray, roller support, and shaft in their proper positions.
- Make sure that the power supply cord is undamaged and does not run under the oven or over any hot or sharp surface.
- The socket must be readily accessible so that it can be easily unplugged in an emergency.
GROUNDING INSTRUCTIONS
This appliance must be grounded. In the event of an electrical short circuit, grounding reduces risk of electric shock by providing an escape wire for the electric current.
WARNING Improper use of the grounding plug can result in a risk of electric shock.
Consult a qualified electrician or serviceman if the grounding instructions are not completely understood, or if doubt exists as to whether the appliance is properly grounded, and either:
- If it is necessary to use an extension cord, use only a 3-wire extension cord that has a 3-blade grounding plug and a 3-slot receptacle that will accept the plug on the appliance. The marked rating of the extension cord shall be equal to or greater than the electrical rating of the appliance, or
- Do not use an extension cord. If the power supply cord is too short, have a qualified electrician or serviceman install an outlet near the appliance.
ELECTRICAL REQUIREMENTS
The electrical requirements are 120 volt 60 Hz, AC only, 20 amp. It is recommended that a separate circuit serving only the oven be provided. The oven is equipped with a 3-prong grounding plug. It must be plugged into a wall receptacle that is properly installed and grounded.
Power Supply Cord
- A short power-supply cord is provided to reduce the risks resulting from becoming entangled in or tripping over a longer cord.
- Longer cord sets or extension cords are available and may be used if care is exercised in their use.
- If a long cord or extension cord is used:
- a) The marked electrical rating of the cord set or extension cord should be at least as great as the electrical rating of the appliance.
- b) The extension cord must be a grounding-type 3-wire cord, and The longer cord should be arranged so that it will not drape over the counter top or table top where it can be pulled on by children or tripped over unintentionally.
Notes:
If you have any questions about the grounding or electrical instructions, consult a qualified electrician or service person. Neither the manufacturer nor the dealer can accept any liability for damage to the oven or personal injury resulting from failure to observe the electrical connection procedures.
Radio or TV Interference
Should there be any interference caused by the microwave oven to your radio or TV, check that the microwave oven is on a different circuit, relocated the radio or TV as far away from the oven as feasible or check the position and signal of receiving antenna.
UTENSILS GUIDE
This section lists which utensils can be used in the microwave, which ones have limited use for short periods, and which ones should not be used in the microwave.
- Microwave browning dish — Use to brown the exterior of small items such as steaks, chops, or pancakes. Follow the directions provided with your browning dish.
- Microwaveable plastic wrap — Use to retain steam. Leave a small opening for some steam to escape and avoid placing it directly on the food.
- Paper towels and napkins — Use for short-term heating and covering; these absorb excess moisture and prevent spattering. Do not use recycled paper towels, which may contain metal and could ignite.
- Glass and glass-ceramic bowls and dishes — Use for heating or cooking.
- Paper plates and cups — Use for short-term heating at low temperatures. Do not use recycled paper, which may contain metal and could ignite.
- Wax paper — Use as a cover to prevent spattering.
- Thermometers — Use only those labeled “Microwave Safe” and follow all directions. Check the food in several places. Conventional thermometers may be used on microwave food once the food has been removed from the oven.
LIMITED USE
- Aluminum foil — Use narrow strips of foil to prevent overcooking of exposed areas. Using too much foil can damage your oven, so be careful. You should keep distance of 1 inch (2.54cm) between aluminum foil and cavity.
- Ceramic, porcelain, and stoneware— Use these if they are labeled “Microwave Safe”. If they are not labeled, test them to make sure they can be used safely.
- Plastic — Use only if labeled “Microwave Safe”. Other plastics can melt.
Not Recommended
- Glass jars and bottles — Regular glass is too thin to be used in a microwave. It can shatter and cause damage and injury.
- Paper bags — These are a fire hazard, except for popcorn bags that are designed for microwave use. Styrofoam plates and cups — These can melt and leave an unhealthy residue on food.
- Plastic storage and food containers — Containers such as margarine tubs can melt in the microwave. Metal utensils — These can damage your oven. Remove all metal before cooking.
Note: Should you wish to check if a dish is safe for microwaving, place the empty dish in the oven and microwave on HIGH for 30 seconds. A dish which becomes very hot should not be used.
COOKING TECHNIQUES
Your microwave makes cooking easier than conventional cooking, provided you keep these considerations in mind:
STIRRING
Stir foods such as casseroles and vegetables while cooking to distribute heat evenly. Food at the outside of the dish absorbs more energy and heats more quickly, so stir from the outside to the center. The oven will turn off when you open the door to stir your food.
ARRANGEMENT
Arrange unevenly shaped foods, such as chicken pieces or chops, with the thicker, meatier parts toward the outside of the turntable where they receive more microwave energy. To prevent overcooking, place delicate areas, such as asparagus tips, toward the center of the turntable.
SHIELDING
Shield food with narrow strips of aluminum foil to prevent overcooking. Areas that need shielding include poultry wing tips, the ends of poultry legs, and corners of square baking dishes. Use only small amounts of aluminum foil. Larger amounts can damage your oven.
TURNING
Turn foods over midway through cooking to expose all parts to microwave energy. This is especially important with large foods such as roasts.
STANDING
Foods cooked in the microwave build up internal heat and continue to cook for a few minutes after heating stops. Let foods stand to complete cooking, especially foods such as cakes and whole vegetables. Roasts need this time to complete cooking in the center without overcooking the outer areas. All liquids, such as soup or hot chocolate, should be shaken or stirred when cooking is complete. Let liquids stand a moment before serving. When heating baby food, stir well at removal and test the temperature before serving.
ADDING MOISTURE
Microwave energy is attracted to water molecules. Food that is uneven in moisture content should be covered or allowed to stand so that the heat disperses evenly. Add a small amount of water to dry food to help it cook.
SPECIFICATIONS
| Power Consumption: | 120V~60Hz, 1550W (MICROWAVE) |
| Output: | 1100W |
| Operation Frequency: | 2450MHz |
| Outside Dimensions(H×W×D): | 280*513* 387 |
| Oven Cavity Dimensions(H×W×D): | 236*368*355* |
| Oven Capacity: | 1.1cu.ft |
| Net Weight: | Approx. 28.2lb. |
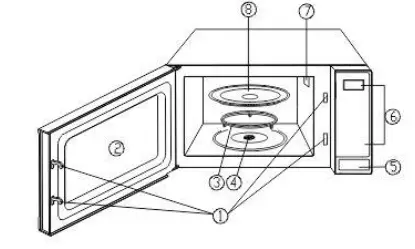
PART NAMES
- Door Safety Lock System
- Oven Window
- Roller Ring
- Shaft
- Door Release Button
- Control Panel
- Wave Guide (Please do not remove the mica plate covering the waveguide)
- Glass Tray
CONTROL PANEL
- MENU ACTION SCREEN
Cooking time, power, indicators and present time are displayed. - QUICK COOK BUTTONS
Instant settings to cook popular foods - EXPRESS COOK
Number Pads (1-6) - NUMBER PADS (0-9)
Touch to set time, weight or the amount. - CLOCK
Touch to set the clock.
- TIME COOK
Use for multi-stage cooking. It enables cooking at multiple power and time settings automatically. - KITCHEN TIMER
The KITCHEN TIMER function can be used alone, even in the process of cooking. - TIME DEFROST
Touch to set defrosting time. - WEIGHT DEFROST
Touch to set the weight of the food to be defrosted - STOP/CLEAR
Stop a cooking program.Clear all previous settings before cooking. - START/+30 SEC
Press to start a cooking program. It is also used to set quick start function or to increase cooking time during cooking.
OPERATION INSTRUCTIONS
- During cooking, if press STOP/CLEAR pad once, the program will be paused, then press START/+30SEC pad to resume, but if press STOP/CLEAR pad again, the program will be canceled.
- After ending cooking, the system will sound beeps to remind user every two minutes until user press STOP/CLEAR pad or open the door.
- In standby mode, press the number pads”7″, “8” and ” START/+30SEC ” pad at the same time to check the version date and the model of PCB.
SETTING THE CLOCK
FOR EXAMPLE: Suppose you want to set the oven clock time to 8:30.
- Touch CLOCK pad once to select 12 hour clock, press again to select 24 hour clock.
- Use the number pads to enter the clock time(tough number pads 8、3、0 in order to enter 8:30).
- Touch START/+30SEC pad.

SETTING THE OVER TIMER
- Touch KITCHEN TIMER pad once.
- Enter the amount of time you want to count down by touching the number pads. The maximum time is 99 min. 99 sec.
- Touch START/+30SEC pad to start.

NOTE: The KITCHEN TIMER function can be used in any cooking process. You can check the countdown time by pressing KITCHEN TIMER pad, but if press STOP/CLEAR pad when the display shows the time, the function is cancelled.
EXPRESS
Program can be started immediately after touching the number pad from 1-6. Suppose you want to set the quick cooking in 6 minutes.
- Touch number pad 6.
- 6:00 can be seen on display.
- The program starts automatically.
Touch number pad Time Minutes Touch number pad Time Minutes 1 1 Minute 4 4 Minutes 2 2 Minutes 5 5 Minutes 3 3 Minutes 6 6 Minutes
ADD 30 SEC.
In standby mode, press START/+30 SEC pad repeatedly to enter cooking time. (each for 30 seconds, up to 99minutes 59seconds) the oven will start automatically at 100% high power level. During cooking,(except auto cook and weight defrost) you can add cooking time by touching START/+30 SEC pad.
TIME COOK
- Touch TIME COOK pad.
- Touch number pad to enter desired cooking time.
The maximum number can be entered is 99 min. 99 sec. - Touch POWER LEVEL pad.
- Use the number pads to enter the power level.
NUMBER Display POWER 1,0 PL10 100% 9 PL-9 90% 8 PL-8 80% 7 PL-7 70% 6 PL-6 60% 5 PL-5 50% 4 PL-4 40% 3 PL-3 30% 2 PL-2 20% 1 PL-1 10% - Touch START/+30SEC pad.
SETTING “TIME DEFROST”
- Touch TIME DEFROST pad.
- Enter desired defrosting time by touching correct number pads. The longest time you can set is 99 min. 99 sec.
- Touch START/+30SEC pad.
SETTING “WEIGHT DEFROST”
- Touch WEIGHT DEFROST pad.
- Use the number pad to enter food weight. Touch 1、2 to set 12OZ. In the setup process according to the “WEIGHT DEFROST” button can be reset WEIGHT DEFROST.
- Touch START/+30SEC pad.
NOTE: The maximum weight is 96 OZ. During defrosting program, the system will pause and sound beeps to remind user to turn food over, and then press START/+30SEC to resume the defrosting.
AUTO MENU
For the following foods or cooking operation, you do not need to input cooking power and time. Try to focus on telling the oven what you want to cook and how much the food weighs. Steps:
- Place food into oven and close it.
- Touch the correct auto menu pad to enter the food weight or share. Automatic menu system automatically starts the program.
Food Note Baked Potato ( 7~11 oz/ each ) 1. The result of auto cook depends on factors such as the shape and size of food, your personal preference as to the doneness of certain foods and even how well you happen to place food in the oven. If you find the result at any rate not quite satisfactory, please adjust the cooking time a little bit accordingly. 2. For beverage and potato, parameters on display are not weight but number of servings.
Popcorn ( 3.5 oz ) Pizza ( 4~5 oz/ each ) Beverage ( 4 oz / cup) Frozen Dinner (7~9 oz / each ) Reheat ( 10~14 oz )
BAKED POTATO
For potatoes (7~11 oz/ each):
- Touch BAKED POTATO 1 to 4 times.
- The system automatically starts the automatic menu program.
POPCORN
For a 3.5 oz. bag of microwave popcorn:
- Touch POPCORN once.
- The system automatically starts the automatic menu program.
PIZZA
Reheating pizza (4~5 oz/ each):
- Touch PIZZA 1 to 2 times.
- The system automatically starts the automatic menu program.
BEVERAGE
For cups (4 oz/cup)
- Touch BEVERAGE 1 to 4 times.
- The system automatically start the automatic menu program..
FROZEN DINNER
For frozen dinners (7~9 oz / each):
- Touch FROZEN DINNER 1 to 2 times.
- The system automatically starts the automatic menu program.
REHEAT
For a plate of cool food (10~14 oz)
- Touch REHEAT pad.
- The system automatically starts the automatic menu program.
PROGRAM COOKING
Your oven can be programmed for up to 2 automatic cooking sequences. Suppose you want to set the following cooking program.
- In waiting mode, place food into oven and close it.
- Input the first cooking program.
- Touch TIME COOK pad.
- Input the second cooking program.
- Touch START/+30SEC to start.
NOTE: Only microwave functions for multi-cooking stage settings, you can set a maximum of two microwave cooking programs.
CLEANING AND CARE
- Turn off the oven and remove the power plug from the wall socket before cleaning.
- Keep the inside of the oven clean. When food splatters or spilled liquids adhere to oven walls, wipe with a damp cloth. Mild detergent may be used if the oven gets very dirty. Avoid the use of spray and other harsh cleaners as they may stain, streak or dull the door surface.
- The outside surfaces should be cleaned with a damp cloth. To prevent damage to the operating parts inside the oven, water should not be allowed to seep into the ventilation openings.
- Wipe the window on both sides with a damp cloth to remove any spills or spatters.
- Do not allow the control panel to become wet. Clean with a soft, damp cloth. When cleaning the control panel, leave the oven door open to prevent the oven from accidentally turning on.
- If steam accumulates inside or around the outside of the oven door, wipe with a soft cloth. This may occur when the microwave oven is operated under high humidity conditions. In such a case, it is normal.
- It is occasionally necessary to remove the glass tray for cleaning. Wash the tray in warm sudsy water or in a dishwasher.
- The roller ring and oven floor should be cleaned regularly to avoid excessive noise. Simply wipe the bottom surface of the oven with mild detergent. The roller ring may be washed in mild sudsy water or dishwasher. When removing the roller ring from the cavity floor for cleaning, be sure to replace in the proper position.
- Remove odors from your oven by combining a cup of water with the juice and skin of one lemon in a deep microwaveable bowl, and microwave for 5 minutes. Wipe thoroughly and dry with a soft cloth.
- When it becomes necessary to replace the oven light, please consult a dealer to have it replaced.
- The oven should be cleaned regularly and any food deposits removed. Failure to maintain the oven in a clean condition could lead to deterioration of the surface that could adversely affect the life of the appliance and possibly result in a hazardous situation.
- Please do not dispose of this appliance in the domestic rubbish bin, it should be disposed to the particular disposal center provided by the municipalities.
Galanz SEJ301F1B-PA0C0A Microwave Oven





















